GM Service Manual Online
For 1990-2009 cars only
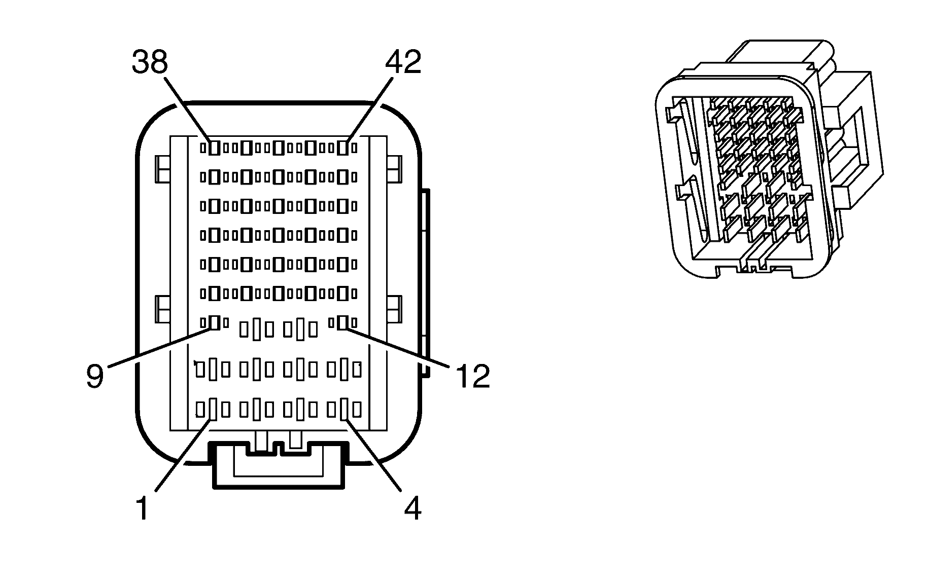
Connector 1: X102 Front Body Harness to Engine Harness
Connector 2: X103 Forward Lamp Harness to the Engine Harness
Connector 3: X104 Front Body Harness to I/P Harness
Connector 4: X106 Forward Lamp Harness to the Front Body Harness
Connector 5: X107 Forward Lamp Harness to the Front Compartment Harness
Connector 6: X108 Fog Lamp Harness to the Front Body Harness
Connector 7: X110 Engine Harness to the Front Body Harness
Connector 8: X112 Engine Harness to the Ignition Coil Harness (L98)
Connector 9: X113 Engine Harness to the Ignition Coil Harness (L98)
Connector 10: X114 Engine Harness to the Fuel Injector Harness (LY7)
Connector 11: X115 Forward Lamp Harness to the Left Headlamp
Connector 12: X116 Forward Lamp Harness to the Right Headlamp
Connector 13: X160 Left Front Wheel Speed Sensor Harness to the Front Body Harness
Connector 14: X161 Right Front Wheel Speed Sensor Harness to the Front Body Harness
Connector 15: X162 Forward Lamp Harness to the Cooling Fan Assembly
Connector 16: X165 Front Body Harness to the I/P Harness
Connector 17: X175 Engine Harness to the Automatic Transmission (M82)
Connector 18: X200 I/P Harness to the Front Body Harness
Connector 19: X201 I/P Harness to the Front Body Harness
Connector 20: X202 I/P Harness to the Body Harness
Connector 21: X204 I/P Harness to the Front Body Harness
Connector 22: X205 Glove Box Assembly to the I/P Harness
Connector 23: X206 Front Body Harness to the Body Harness
Connector 24: X207 I/P Harness to the Body Harness
Connector 25: X208
Connector 26: X210 Rear Body Harness to the Rear Latch Assembly Harness
Connector 27: X212 Headliner Harness to the I/P Harness
Connector 28: X213 Headliner Harness to the Instrument Panel Harness
Connector 29: X218 Body Harness to the Body Harness
Connector 30: X220 I/P Harness to the Body Harness (LHD)
Connector 31: X223 I/P Harness to the Console Ground
Connector 32: X225
Connector 33: X226 Gauge Assembly to the I/P Harness (HSV)
Connector 34: X227 Steering Angle Sensor Assembly to the I/P Harness
Connector 35: X228 I/P Harness to the I/P Harness
Connector 36: X229 I/P Harness to the I/P Harness
Connector 37: X236 Electronic Suspension Assembly to the Body Harness (HSV)
Connector 38: X237 Electronic Suspension Assembly to the I/P Harness (HSV)
Connector 39: X238 Indicator Assembly to the I/P Harness (HSV)
Connector 40: X241 I/P Harness to the Driver Information Center Harness
Connector 41: X253 I/P Harness to the Body Harness
Connector 42: X254 I/P Harness to the Body Harness
Connector 43: X255 Digital Video Disc (DVD) Control Module to the Video Display
Connector 44: X305 Body Harness to the Fuel Tank Harness
Connector 45: X306 Driver Seat Harness to the Body Harness (A45)
Connector 46: X307 Body Harness to the Left Front Door Harness
Connector 47: X308 Body Harness to the Right Front Door Harness
Connector 48: X309 Body Harness to the I/P Harness
Connector 49: X310 Passenger Seat Harness to the Body Harness
Connector 50: X311 Driver Seat Harness to the Body Harness
Connector 51: X312 Body Harness to the Passenger Seat Harness
Connector 52: X313 Body Harness to the Passenger Seat Harness
Connector 53: X314 Body Harness to the Driver Seat Harness
Connector 54: X315 Body Harness to the Driver Seat Harness
Connector 55: X316 Body Harness to the Digital Video Disc (DVD) Control Module
Connector 56: X317 Body Harness to the Body Harness
Connector 57: X319 Headliner Harness to the Digital Video Disc (DVD) Control Module
Connector 58: X322 Passenger Seat Harness to the Body Harness
Connector 59: X324 Driver Seat Back to the Driver Seat Harness (AH5)
Connector 60: X324 Driver Seat Back to the Driver Seat Harness (AGB)
Connector 61: X330 Left Seat Harness to the Body Harness
Connector 62: X331 Right Seat Harness to the Body Harness
Connector 63: X332 Video Display to the Right Seat Harness
Connector 64: X333 Left Seat Harness to the Body Harness
Connector 65: X335 Video Display Assembly to the Body Harness
Connector 66: X344 Inside Rearview Mirror Harness to the I/P Harness
Connector 67: X355 Body Harness to the Driver Seat Harness
Connector 68: X356 Body Harness to the Passenger Seat Harness
Connector 69: X360 Body Harness to the Rear Wheel Speed Sensors
Connector 70: X361 Rear Axle Harness to the Body Harness
Connector 71: X402 Body Harness to the Decklid Harness
Connector 72: X403 Rear Body Harness to the Body Harness
Connector 73: X404 Body Harness to the Rear Body Harness
Connector 74: X405 X405 Body Harness to the Rear Compartment Harness (F19)
Connector 75: X405 Body Harness to the Rear Compartment Harness (F69 without T79)
Connector 76: X408 Battery Cable to the Body Harness
Connector 77: X412 Rear Body Harness to the Rear Body Harness
Connector 78: X413 Electronic Stability Control Harness to the Fuel Tank Harness (HSV)
Connector 79: X415 (HSV) (Pigtail?)
Connector 80: X416 (HSV) (Pigtail?)
Connector 81: X433 Rear Fascia Harness to the License Lamp Harness (WM)
Connector 82: X450 Rear Body Harness to the Right Rear Tail Lamp Assembly
Connector 83: X451 Rear Body Harness to the Left Rear Tail Lamp Assembly
Connector 84: X500 Body Harness to the Left Front Door Harness
Connector 85: X600 Body Harness to the Right Front Door Harness
Connector 86: X700 Body Harness to the Left Rear Door Harness
Connector 87: X800 Body Harness to the Right Rear Door Harness

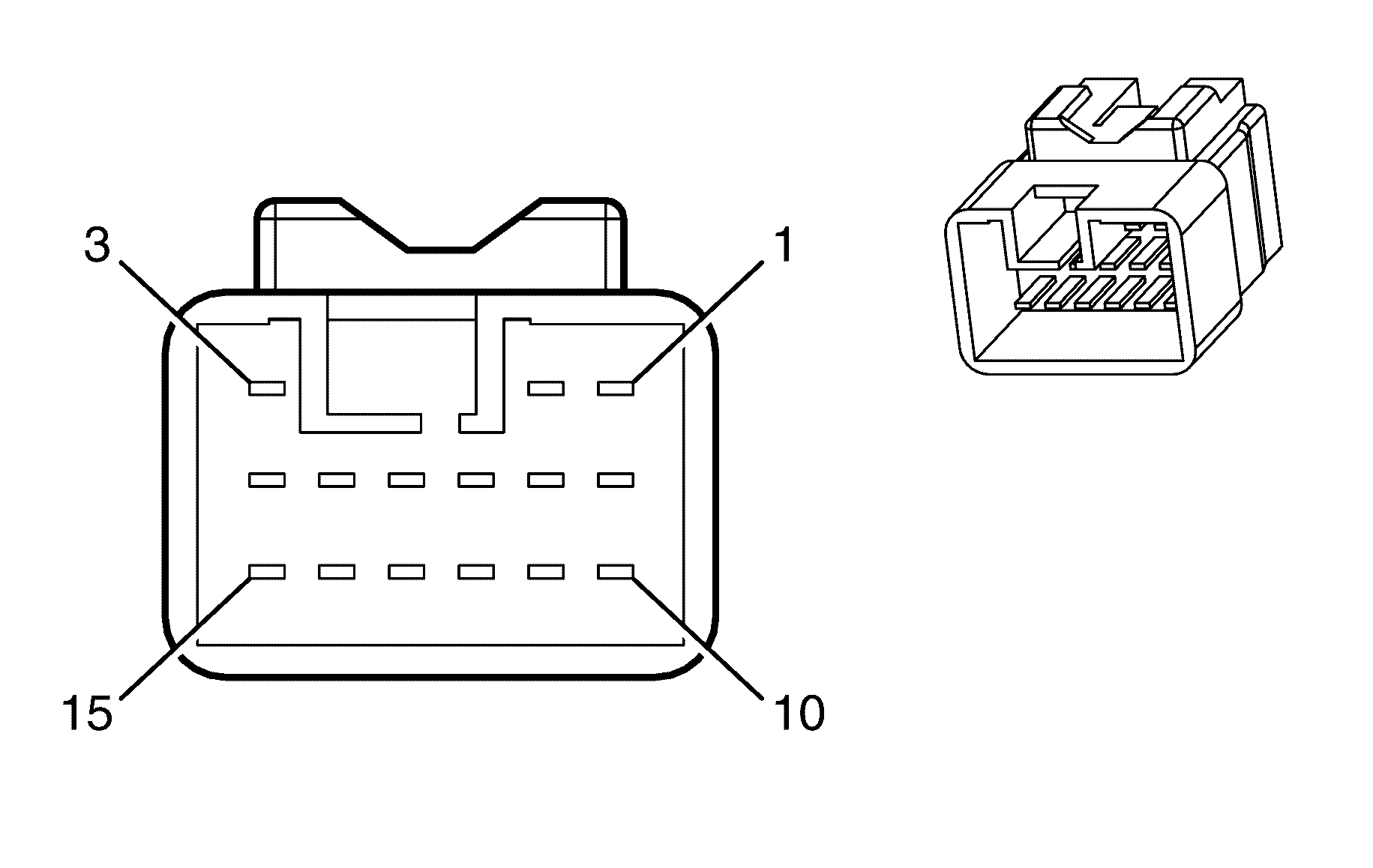
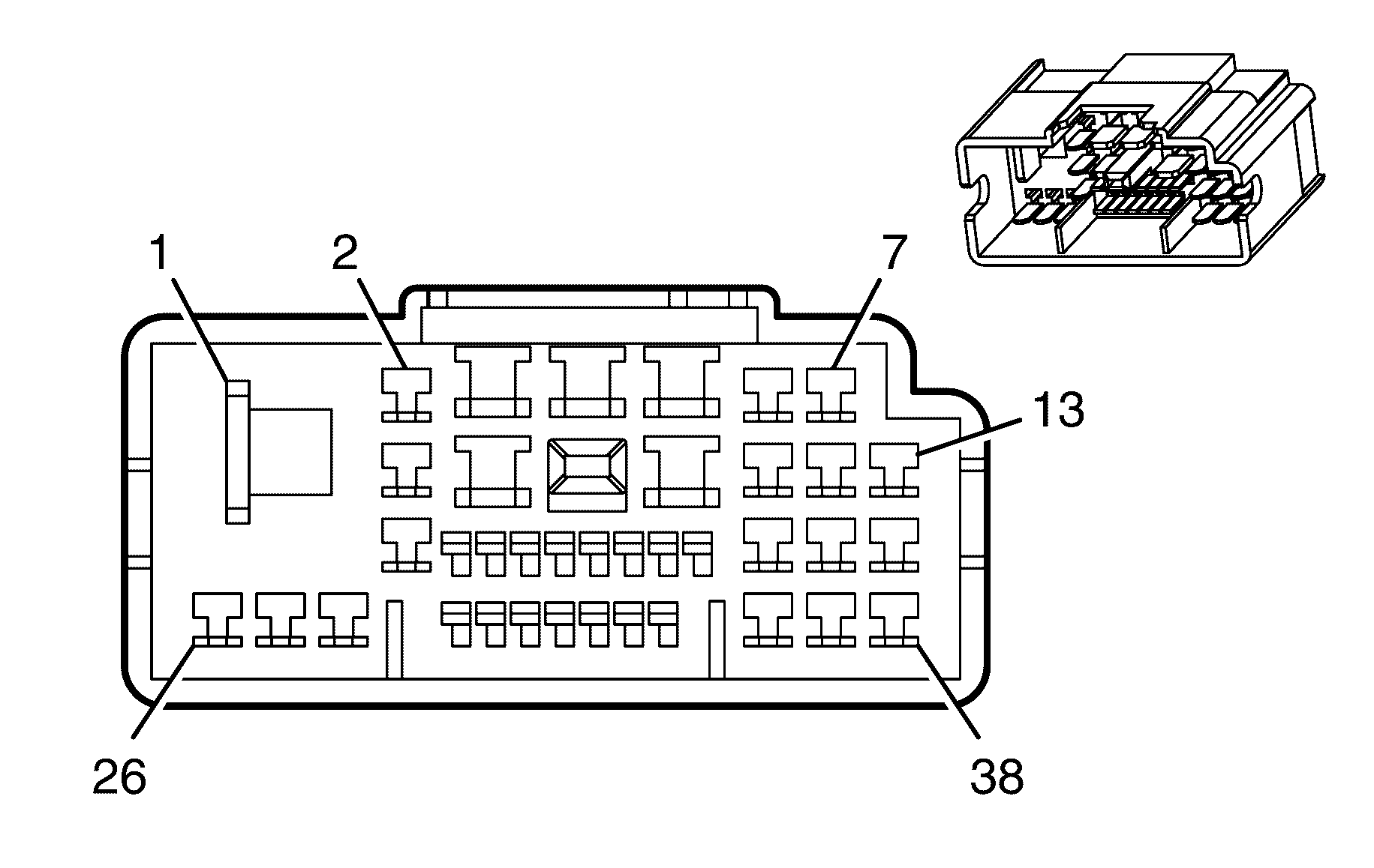
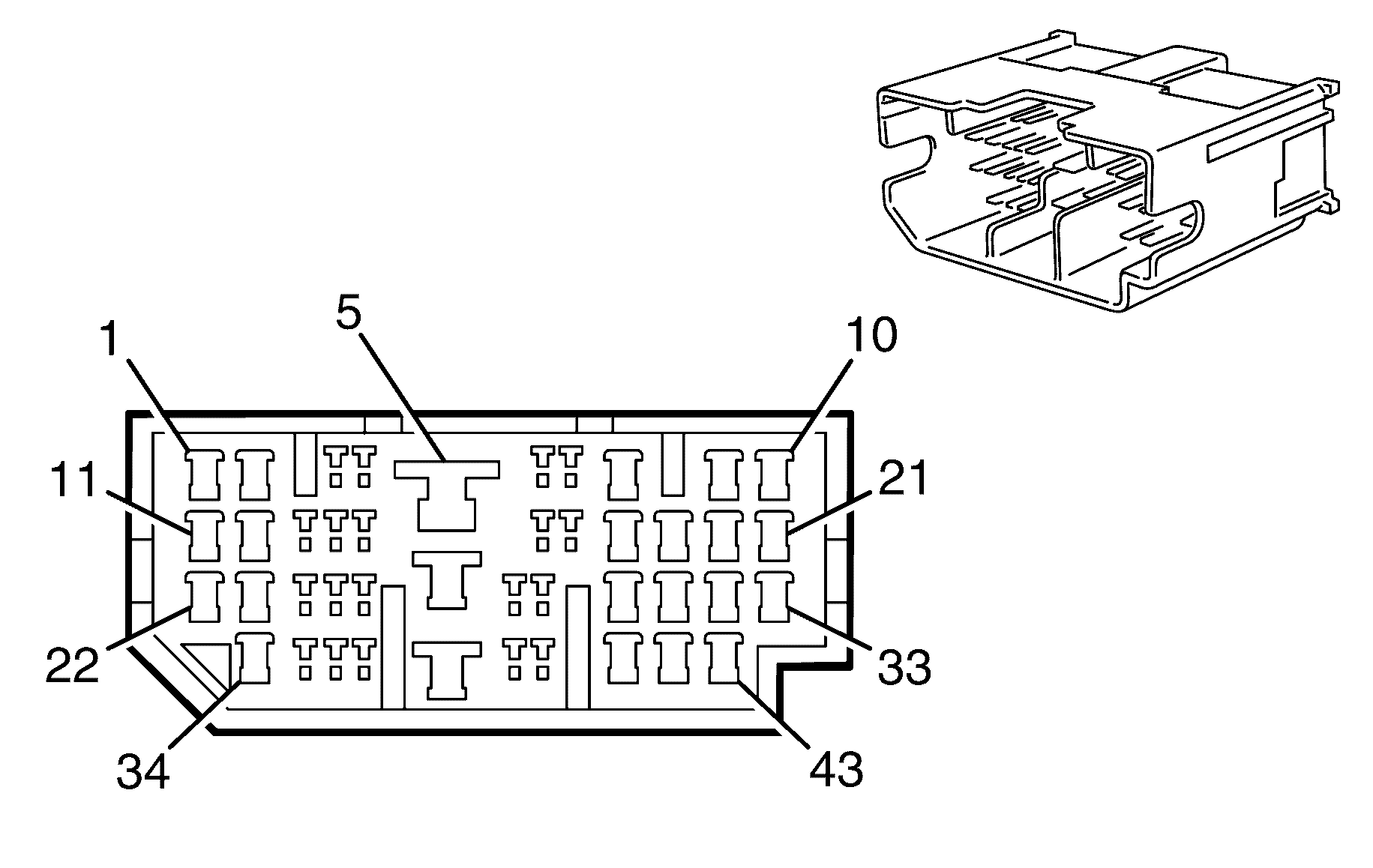
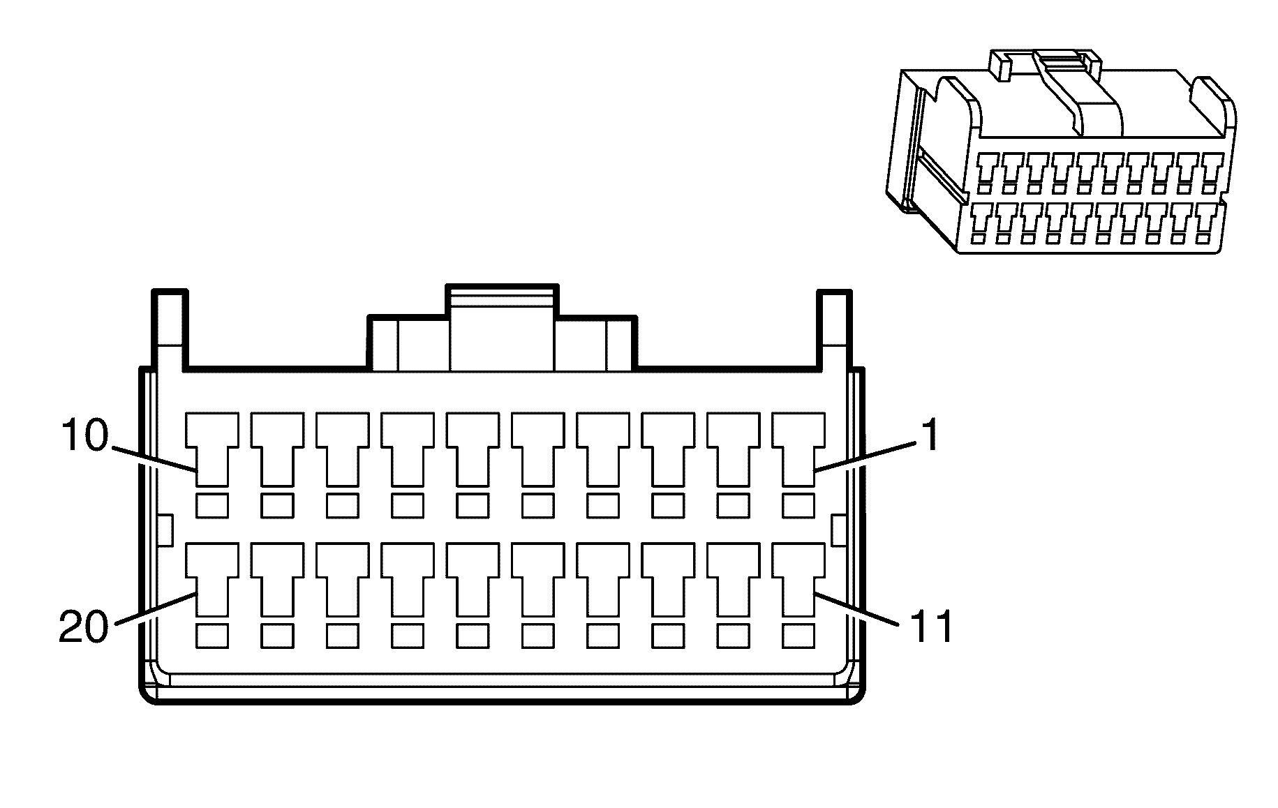
X102 Front Body Harness to Engine Harness


Object Number: 1989432  Size: CH

Object Number: 1989428  Size: CH

Connector Part Information

  • OEM: 7283-9911-30
  • Service: See Catalog
  • Description: 42-Way F (BK)

Connector Part Information

  • OEM: 7282-0680-30
  • Service: See Catalog
  • Description: 42-Way M (BK)

Terminal Part Information

  • Terminal/Tray: See Terminal Repair Kit
  • Core/Insulation Crimp: See Terminal Repair Kit
  • Release Tool/Test Probe: See Terminal Repair Kit

Terminal Part Information

  • Pins: 1-6, 8, 10, 11
  • Terminal/Tray: 1-962915-3/15
  • Core/Insulation Crimp: E/1
  • Release Tool/Test Probe: 12093647/J-35616-5 (PU)
  • Pins: 9, 12-24, 25-28, 31-42
  • Terminal/Tray: See Terminal Repair Kit
  • Core/Insulation Crimp: See Terminal Repair Kit
  • Release Tool/Test Probe: See Terminal Repair Kit

X102 Front Body Harness to Engine Harness

Pin

Wire Color

Circuit No.

Function

Pin

Wire Color

Circuit No.

Function

1

0.5 BK

450

Ground (LY7)

1

0.5 BK

450

Ground (LY7)

2 BK

450

Ground (without LY7)

2 BK

450

Ground (without LY7)

2

0.75 OG/YE

3640

Battery Positive Voltage (M30 or M32)

2

0.75 OG/YE

3640

Battery Positive Voltage (M30 or M32)

0.5 D-GN

335

Low Speed Cooling Fan Relay Control (without LY7)

0.5 D-GN

335

Low Speed Cooling Fan Relay Control (without LY7)

3

0.5 D-BU

2709

Transmission Fluid Pressure Switch Signal B (M30)

3

0.5 D-BU

2709

Transmission Fluid Pressure Switch Signal B (M30)

0.5 BN

5069

Main Relay Control (without LY7)

0.5 BN

5069

Main Relay Control (without LY7)

4

0.75 OG/YE

2709

Battery Positive Voltage (M32)

4

0.75 OG/YE

2709

Battery Positive Voltage (M32)

5

0.5 OG/BK

540

Battery Positive Voltage (LY7)

5

0.5 OG/BK

540

Battery Positive Voltage (LY7)

0.75 PK/BK

5290

Ignition 1Voltage (without LY7)

0.75 PK/BK

5290

Ignition 1Voltage (without LY7)

6

1.25 BK

350

Ground (LY7)

6

1.25 BK

350

Ground (LY7)

7

0.75 OG

1525

Clutch Pressure Control Solenoid Valve 1 High Control (M30 or M32 or M82)

7

0.75 OG

1525

Clutch Pressure Control Solenoid Valve 1 High Control (M30 or M32 or M82)

8

0.5 L-BU/WH

1310

PC Solenoid Valve Low Control (LY7)

8

0.5 L-BU/WH

1310

PC Solenoid Valve Low Control (LY7)

1.25 BK

350

Ground (without LY7)

1.25 BK

350

Ground (without LY7)

9

0.5 D-BU

7393

A/C Compressor Clutch Low Reference

9

0.5 D-BU

7393

A/C Compressor Clutch Low Reference

10

0.5 PK

439

Ignition 1 Voltage

10

0.5 PK

439

Ignition 1 Voltage

11

0.5 BN/WH

2762

Low Reference (M30)

11

0.5 BN/WH

2762

Low Reference (M30)

0.5 D-BU

1225

Transmission Fluid Pressure Switch B (M82)

0.5 D-BU

1225

Transmission Fluid Pressure Switch B (M82)

12

0.5 BN

9001

High Speed GMLAN Serial Data Bus - (LY7)

12

0.5 BN

9001

High Speed GMLAN Serial Data Bus - (LY7)

0.5 L-GN/BK

401

OSS Low Signal (M32)

0.5 L-GN/BK

401

OSS Low Signal (M32)

13

0.5 D-GN

7392

A/C Compressor Clutch Supply Voltage

13

0.5 D-GN

7392

A/C Compressor Clutch Supply Voltage

14

0.5 L-BU

1937

Fuel Level Sensor (LY7)

14

0.5 L-BU

1937

Fuel Level Sensor (LY7)

0.5 OG/BK

1786

Park/Neutral Signal (without LY7)

0.5 OG/BK

1786

Park/Neutral Signal (without LY7)

15

0.5 D-GN/WH

465

Fuel Pump Relay Control (LY7)

15

0.5 D-GN/WH

465

Fuel Pump Relay Control (LY7)

0.5 D-BU

5985

TCM Accessory Signal (without LY7)

0.5 D-BU

5985

TCM Accessory Signal (without LY7)

16

0.5 BN/YE

452

Low Reference (LY7)

16

0.5 BN/YE

452

Low Reference (LY7)

0.5 OG/WH

3223

HO2S Heater Low Control (Bank 2 Sensor 2) (without LY7)

0.5 OG/WH

3223

HO2S Heater Low Control (Bank 2 Sensor 2) (without LY7)

17

0.5 BN/BK

9000

High Speed GMLAN Serial Data Bus+ (LY7)

17

0.5 BN/BK

9000

High Speed GMLAN Serial Data Bus+ (LY7)

0.5 PU/WH

400

OSS High Signal (M32)

0.5 PU/WH

400

OSS High Signal (M32)

18

0.5 PU

1589

Fuel Level Sensor Signal (LY7)

18

0.5 PU

1589

Fuel Level Sensor Signal (LY7)

0.5 BN

9001

High Speed GMLAN Serial Data Bus- (LY7)

0.5 BN

9001

High Speed GMLAN Serial Data Bus- (LY7)

0.5 L-BU

1984

Transmission Turbine Speed Switch Low Reference (M32)

0.5 L-BU

1984

Transmission Turbine Speed Switch Low Reference (M32)

19

0.5 BN

1271

Low Reference (LY7)

19

0.5 BN

1271

Low Reference (LY7)

0.5 WH/BU

20

Stop Lamp Switch Signal (LY7)

0.5 WH/BU

20

Stop Lamp Switch Signal (LY7)

20

0.5 BU/WH

1161

APP Sensor 1 Signal (LY7)

20

0.5 BU/WH

1161

APP Sensor 1 Signal (LY7)

0.5 BN

2391

HO2S Heater Low Control (Bank 1 Sensor 2) (without LY7)

0.5 BN

2391

HO2S Heater Low Control (Bank 1 Sensor 2) (without LY7)

21

0.5 WH/BK

1164

5-Volt Reference (LY7)

21

0.5 WH/BK

1164

5-Volt Reference (LY7)

0.5 PU

1670

HO2S High Signal (Bank 2 Sensor 2) (without LY7)

0.5 PU

1670

HO2S High Signal (Bank 2 Sensor 2) (without LY7)

22

0.5 L-BU

1162

APP Sensor 2 Signal (LY7)

22

0.5 L-BU

1162

APP Sensor 2 Signal (LY7)

0.5 BN/WH

1671

HO2S Low Signal (Bank 2 Sensor 2) (without LY7)

0.5 BN/WH

1671

HO2S Low Signal (Bank 2 Sensor 2) (without LY7)

23

0.5 BN/YE

1274

5-Volt Reference (LY7)

23

0.5 BN/YE

1274

5-Volt Reference (LY7)

0.5 BN/BK

9000

High Speed GMLAN Serial Data Bus+ (LY7)

0.5 BN/BK

9000

High Speed GMLAN Serial Data Bus+ (LY7)

0.5 OG

1983

Transmission Turbine Speed Switch Signal (M32)

0.5 OG

1983

Transmission Turbine Speed Switch Signal (M32)

24

0.5 PU

1272

Low Reference (LY7)

24

0.5 PU

1272

Low Reference (LY7)

0.5 PU/WH

1668

HO2S High Signal (Bank 1 Sensor 2) (without LY7)

0.5 PU/WH

1668

HO2S High Signal (Bank 1 Sensor 2) (without LY7)

25

0.5 BN/WH

419

MIL Control (LY7)

25

0.5 BN/WH

419

MIL Control (LY7)

0.5 BN/WH

1669

HO2S Low Signal (Bank 1 Sensor 2) (without LY7)

0.5 BN/WH

1669

HO2S Low Signal (Bank 1 Sensor 2) (without LY7)

26

0.5 OG/BK

1228

PC Solenoid Valve High Control (M82)

26

0.5 OG/BK

1228

PC Solenoid Valve High Control (M82)

0.5 D-GN

 

Clutch Start/Neutral Start (LY7)

0.5 D-GN

 

Clutch Start/Neutral Start (LY7)

0.5 BN/RD

472

IAT Sensor Signal (without LY7)

0.5 BN/RD

472

IAT Sensor Signal (without LY7)

27

0.5 L-BU/WH

1229

PC Solenoid Valve Low Control (M82)

27

0.5 L-BU/WH

1229

PC Solenoid Valve Low Control (M82)

0.5 BN/WH

 

Cruise Control Disable Clutch Switch Signal (LY7)

0.5 BN/WH

 

Cruise Control Disable Clutch Switch Signal (LY7)

0.5 YE

492

MAF Sensor Signal (without LY7)

0.5 YE

492

MAF Sensor Signal (without LY7)

28

0.5 PU/WH

401

OSS High Signal (M30)

28

0.5 PU/WH

401

OSS High Signal (M30)

0.5 PU/WH

401

VSS High Signal (M82)

0.5 PU/WH

401

VSS High Signal (M82)

0.5 OG/BK

380

A/C Refrigerant Pressure Sensor Signal (without LY7)

0.5 OG/BK

380

A/C Refrigerant Pressure Sensor Signal (without LY7)

29

0.5 PK

1224

Transmission Fluid Pressure Switch Signal A (M30)

29

0.5 PK

1224

Transmission Fluid Pressure Switch Signal A (M30)

0.5 GY

1688

5-Volt Reference (without LY7)

0.5 GY

1688

5-Volt Reference (without LY7)

30

0.5 WH/BU

17

Stop Lamp Supply Voltage (M82)

30

0.5 WH/BU

17

Stop Lamp Supply Voltage (M82)

0.5 BN/OG

422

TCC Solenoid Valve Control (M30)

0.5 BN/OG

422

TCC Solenoid Valve Control (M30)

0.5 PK

439

Ignition 1 Voltage (without LY7)

0.5 PK

439

Ignition 1 Voltage (without LY7)

31

0.5 YE/BK

1227

TFT Sensor Signal (M30 or M82)

31

0.5 YE/BK

1227

TFT Sensor Signal (M30 or M82)

0.5 BN/WH

2760

Low Reference (without LY7)

0.5 BN/WH

2760

Low Reference (without LY7)

32

0.5 L-BU

1984

Transmission Turbine Speed Switch Low Reference (M30 or M82)

32

0.5 L-BU

1984

Transmission Turbine Speed Switch Low Reference (M30 or M82)

0.5 L-GN

5007

Backup Lamp Switch Signal (without LY7)

0.5 L-GN

5007

Backup Lamp Switch Signal (without LY7)

0.5 PK

1224

Transmission Fluid Pressure Switch Signal A (M32)

0.5 PK

1224

Transmission Fluid Pressure Switch Signal A (M32)

33

0.5 L-GN/BK

401

OSS Low Signal (M30)

33

0.5 L-GN/BK

401

OSS Low Signal (M30)

0.5 L-GN/BK

401

VSS Low Signal (M82)

0.5 L-GN/BK

401

VSS Low Signal (M82)

0.5 BN/GN

2759

Low Reference (without LY7)

0.5 BN/GN

2759

Low Reference (without LY7)

34

0.5 WH

898

Shift Solenoid C Valve Control (M82)

34

0.5 WH

898

Shift Solenoid C Valve Control (M82)

0.5 WH/GN

687

2-3 Shift Solenoid Valve Control (M30 or M32)

0.5 WH/GN

687

2-3 Shift Solenoid Valve Control (M30 or M32)

35

0.5 YE/BK

1223

Shift Solenoid B Valve Control (M30 or M32 or M82)

35

0.5 YE/BK

1223

Shift Solenoid B Valve Control (M30 or M32 or M82)

36

0.5 L-GN

1222

Shift Solenoid A Valve Control (M30 or M32 or M82)

36

0.5 L-GN

1222

Shift Solenoid A Valve Control (M30 or M32 or M82)

37

0.5 OG

1983

Transmission Turbine Speed Switch Signal (M30 or M82)

37

0.5 OG

1983

Transmission Turbine Speed Switch Signal (M30 or M82)

0.5 BN/OG

422

TCC Solenoid Valve Control (M32)

0.5 BN/OG

422

TCC Solenoid Valve Control (M32)

38

0.5 WH

776

Transmission Range Switch Signal P (M30 or M32 or M82)

38

0.5 WH

776

Transmission Range Switch Signal P (M30 or M32 or M82)

39

0.5 GY

773

Transmission Range Switch Signal C (M30 or M32 or M82)

39

0.5 GY

773

Transmission Range Switch Signal C (M30 or M32 or M82)

40

0.5 YE

772

Transmission Range Switch Signal B (M30 or M32 or M82)

40

0.5 YE

772

Transmission Range Switch Signal B (M30 or M32 or M82)

41

0.5 BN/YE

771

Transmission Range Switch Signal A (M30 or M32 or M82)

41

0.5 BN/YE

771

Transmission Range Switch Signal A (M30 or M32 or M82)

42

0.5 BN

418

TCC PWM Solenoid Valve Control (M30 or M32 or M82)

42

0.5 BN

418

TCC PWM Solenoid Valve Control (M30 or M32 or M82)

X103 Forward Lamp Harness to the Engine Harness


Object Number: 1989438  Size: CH

Object Number: 1989434  Size: CH

Connector Part Information

  • OEM: 7283-1081-30
  • Service: See Catalog
  • Description: 8-Way F

Connector Part Information

  • OEM: 7282-1081-30
  • Service: See Catalog
  • Description: 8-Way M

Terminal Part Information

  • Terminal/Tray: See Terminal Repair Kit
  • Core/Insulation Crimp: See Terminal Repair Kit
  • Release Tool/Test Probe:See Terminal Repair Kit

Terminal Part Information

  • Terminal/Tray: See Terminal Repair Kit
  • Core/Insulation Crimp: See Terminal Repair Kit
  • Release Tool/Test Probe: See Terminal Repair Kit

X103 Forward Lamp Harness to the Engine Harness

Pin

Wire Color

Circuit No.

Function

Pin

Wire Color

Circuit No.

Function

1-2

--

--

Not Used

1-2

--

--

Not Used

3

0.5 YE/BK

1227

TFT Sensor Signal

3

0.5 YE/BK

1227

TFT Sensor Signal

4

0.5 OG/BK

1228

PC Solenoid Valve High Control

4

0.5 OG/BK

1228

PC Solenoid Valve High Control

5-6

--

--

Not Used

5-6

--

--

Not Used

7

0.5 BN/WH

2762

Low Reference

7

0.5 BN/WH

2762

Low Reference

8

0.5 L-BU/WH

1229

PC Solenoid Valve Low Control

8

0.5 L-BU/WH

1229

PC Solenoid Valve Low Control

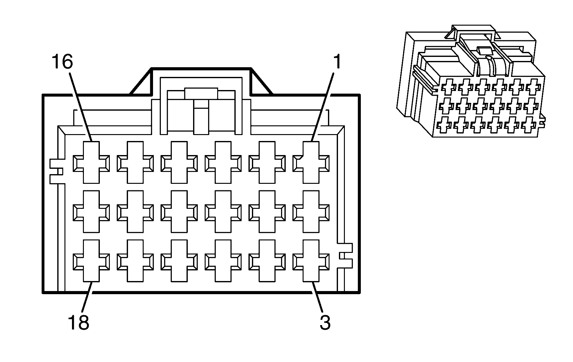
X104 Front Body Harness to I/P Harness


Object Number: 1989445  Size: CH

Object Number: 1989441  Size: CH

Connector Part Information

  • OEM: 7283-9911-30
  • Service: See Catalog
  • Description: 42-way F (BK)

Connector Part Information

  • OEM: 7282-0680-30
  • Service: See Catalog
  • Description: 42-Way M (BK)

Terminal Part Information

  • Terminal/Tray: See Terminal Repair Kit
  • Core/Insulation Crimp: See Terminal Repair Kit
  • Release Tool/Test Probe: See Terminal Repair Kit

Terminal Part Information

  • Pins: 3-5, 11
  • Terminal/Tray: 1-962915-3/15
  • Core/Insulation Crimp: E/1
  • Release Tool/Test Probe: 12093647/J-35616-5 (PU)
  • Pins: 9-10, 12-30, 32-35, 38-42
  • Terminal/Tray: See Terminal Repair Kit
  • Core/Insulation Crimp: See Terminal Repair Kit
  • Release Tool/Test Probe: See Terminal Repair Kit

X104 Front Body Harness to I/P Harness

Pin

Wire Color

Circuit No.

Function

Pin

Wire Color

Circuit No.

Function

1-2

--

--

Not Used

1-2

--

--

Not Used

3

0.5 D-BU

7393

A/C Compressor Clutch Low Reference

3

0.5 D-BU

9357

A/C Compressor Clutch Low Reference

4

0.5 D-GN

7392

A/C Compressor Clutch Supply Voltage

4

0.5 D-GN

9358

A/C Compressor Clutch Supply Voltage

5

0.5 PK/BU

1339

Ignition 1 Voltage

5

0.5 PK/BU

1339

Ignition 1 Voltage

6

--

--

Not Used

6

--

--

Not Used

7

0.5 OG/BK

 

Park/Neutral Signal (without LY7)

7

0.5 OG/BK

 

Park/Neutral Signal (without LY7)

0.5 D-GN

 

Clutch Start/Neutral Start (LY7)

0.5 OG/BK

 

Clutch Start/Neutral Start (LY7)

8

0.5 BN/WH

 

Cruise Control Disable Clutch Switch Signal

8

0.5 BN/WH

 

Cruise Control Disable Clutch Switch Signal

9

0.3 BN/YE

1969

Headlamp High Beam Relay Control

9

0.3 BN/YE

1969

Headlamp High Beam Relay Control

10

0.5 L-BU

1162

APP Sensor 2 Signal

10

0.5 L-BU

1162

APP Sensor 2 Signal

11

0.75 OG/GN

2240

Battery Positive Voltage

11

0.75 OG/GN

9359

Battery Positive Voltage

12

0.3 WH/YE

1080

Park Lamp Relay Control

12

0.3 WH/YE

1080

Park Lamp Relay Control

13

0.3 PK/WH

1970

Headlamp Low Beam Relay Control

13

0.3 PK/WH

1970

Headlamp Low Beam Relay Control

14

0.5 D-GN/WH

465

Fuel Pump Relay Control

14

0.3 D-GN/WH

465

Fuel Pump Relay Control

15

0.3 D-GN

646

Reverse Relay Control

15

0.3 D-GN

646

Reverse Relay Control

16

0.3 PU

5531

Hood Closed Switch Signal

16

0.3 PU

5531

Hood Closed Switch Signal

17

0.3 BN/BK

28

Horn Relay Control

17

0.3 BN/BK

28

Horn Relay Control

18

0.3 PK/BK

109

Hood Ajar Switch Signal

18

0.3 PK/BK

109

Hood Ajar Switch Signal

19

0.3 PU/WH

5727

Communication Enable Relay Control

19

0.3 PU/WH

5727

Communication Enable Relay Control

20

0.3 GY

91

Windshield Wiper Switch Signal 2

20

0.3 GY

91

Windshield Wiper Switch Signal 2

21

0.3 BN/WH

33

Brake Warning Indicator Control

21

0.3 BN/WH

33

Brake Warning Indicator Control

22

0.3 YE

196

Windshield Wiper Motor Park Switch Signal

22

YE

0.3 196

Windshield Wiper Motor Park Switch Signal

23

0.3 BN/RD

860

Front Windshield Wiper Switch High Signal

23

0.3 BN/RD

860

Front Windshield Wiper Switch High Signal

24

0.3 D-BU

5985

Accessory Wakeup Serial Data

24

0.3 D-BU

5985

Accessory Wakeup Serial Data

25

0.3 PK

1439

Ignition 1 Voltage

25

0.3 PK

1439

Ignition 1 Voltage

26

0.3 WH/BU

193

Rear Defog Relay Control

26

0.3 WH/BU

9356

Rear Defog Relay Control

27

0.5 BN

9005

High Speed GMLAN Serial Data Bus-

27

0.5 BN

9005

High Speed GMLAN Serial Data Bus-

28

0.5 BN/WH

419

MIL Control

28

0.3 BN/WH

419

MIL Control

29

0.5 OG

2268

Washer Fluid Pump Relay Control

29

0.5 OG

2268

Washer Fluid Pump Relay Control

30

0.5 L-BU/WH

1314

Left Front Turn Signal Lamp Supply Voltage

30

0.75 L-BU/WH

1314

Left Front Turn Signal Lamp Supply Voltage

31

--

--

Not Used

31

--

--

Not Used

32

0.5 BN/BK

9004

High Speed GMLAN Serial Data Bus+

32

0.5 BN/BK

9004

High Speed GMLAN Serial Data Bus+

33

0.5 D-BU/WH

1315

Right Front Turn Signal Lamp Supply Voltage

33

0.75 D-BU/WH

1315

Right Front Turn Signal Lamp Supply Voltage

34

0.5 WH/BU

17

Stop Lamp Switch Signal

34

0.5 WH/BU

17

Stop Lamp Switch Signal

35

0.5 BN/YE

1274

5-Volt Reference

35

0.5 BN/YE

1274

5-Volt Reference

36-37

--

--

Not Used

36-37

--

--

Not Used

38

0.5 PU

1272

Low Reference

38

0.5 PU

1272

Low Reference

39

0.5 D-BU/WH

1161

APP Sensor 1 Signal

39

0.5 D-BU/WH

1161

APP Sensor 1 Signal

40

0.5 WH/BK

1164

5-Volt Reference

40

0.5 WH/BK

1164

5-Volt Reference

41

0.5 BN

1271

Low Reference

41

0.5 BN

1271

Low Reference

42

--

--

Not Used

42

--

--

Not Used

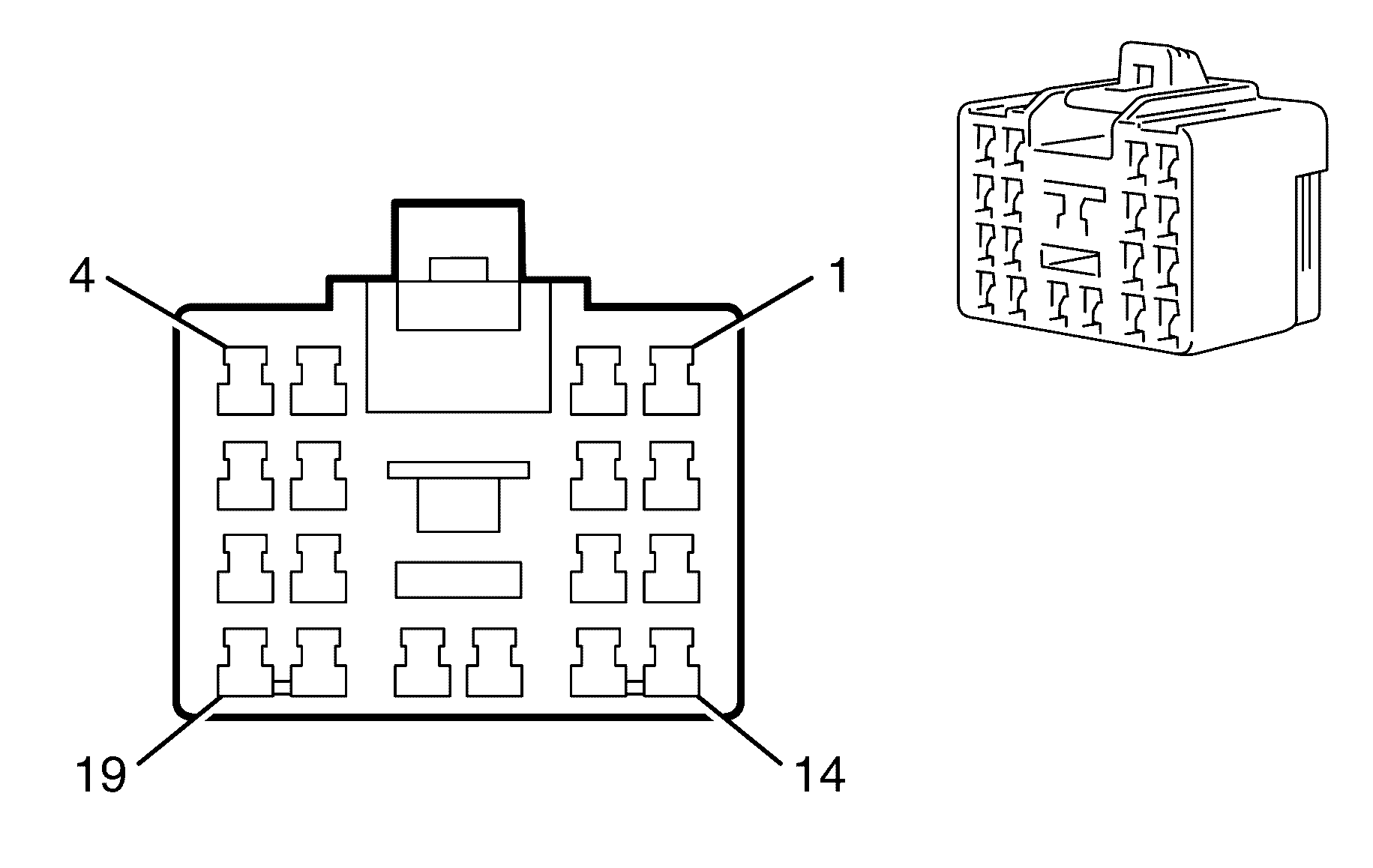
X106 Forward Lamp Harness to the Front Body Harness


Object Number: 1989451  Size: CH

Object Number: 1989448  Size: CH

Connector Part Information

  • OEM: 7283-6865-30
  • Service: See Catalog
  • Description: 12-Way F (BK)

Connector Part Information

  • OEM: 7282-6865-30
  • Service: See Catalog
  • Description: 12-Way M (BK)

Terminal Part Information

  • Terminal/Tray: 12191819/8
  • Core/Insulation Crimp: E/A
  • Release Tool/Test Probe: 15315247/J-35616-2A (GY)

Terminal Part Information

  • Terminal/Tray: 15326269/19
  • Core/Insulation Crimp: E/4
  • Release Tool/Test Probe: 15315247/J-35616-3 (GY)

X106 Forward Lamp Harness to the Front Body Harness

Pin

Wire Color

Circuit No.

Function

Pin

Wire Color

Circuit No.

Function

A

--

--

Not Used

A

--

--

Not Used

B

0.5 BK

350

Ground

B

0.5 BK

350

Ground

C

--

--

Not Used

C

--

--

Not Used

D

0.3 D-GN

1409

Discriminating Sensor - Signal

D

0.3 D-GN

1409

Discriminating Sensor - Signal

E

0.3 GY

5600

Discriminating Sensor - Low Reference

E

0.3 GY

5600

Discriminating Sensor - Low Reference

F-G

--

--

Not Used

F-G

--

--

Not Used

H

0.3 YE

354

Discriminating Sensor - Signal

H

0.3 YE

354

Discriminating Sensor - Signal

J

0.3 BN/YE

5045

Discriminating Sensor - Low Reference

J

0.3 BN/YE

5045

Discriminating Sensor - Low Reference

K

0.3 BN

61

Low Reference

K

0.3 BN

61

Low Reference

L

0.3 L-GN/BK

735

Ambient Air Temperature Sensor Signal

L

0.3 L-GN/BK

735

Ambient Air Temperature Sensor Signal

M

-

-

Not Used

M

-

-

Not Used

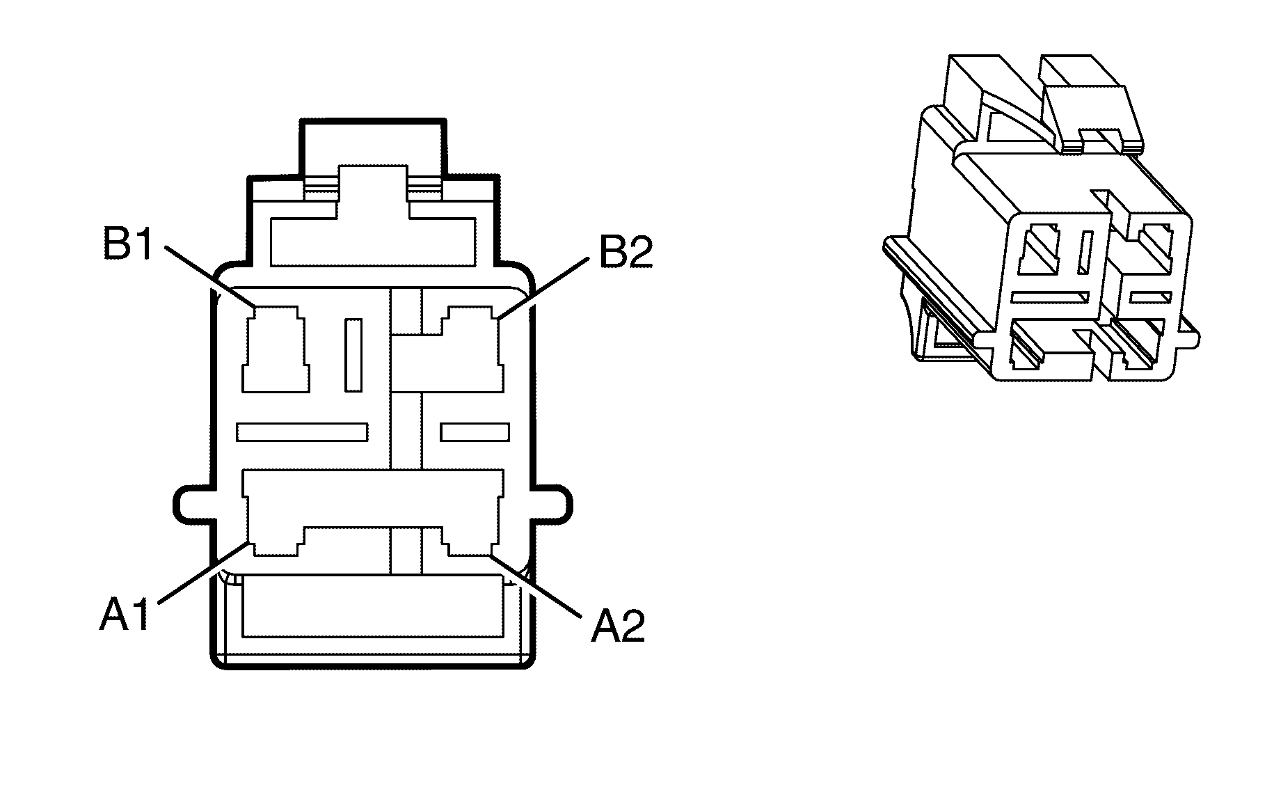
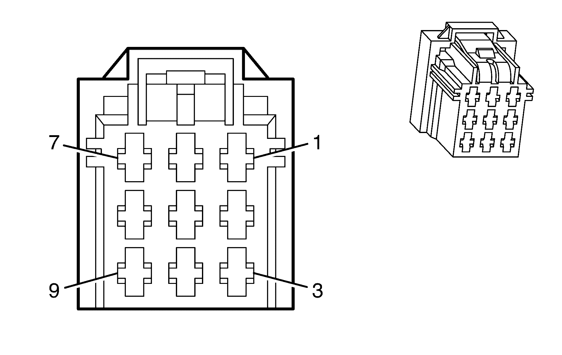
X107 Forward Lamp Harness to the Front Compartment Harness


Object Number: 1989455  Size: CH

Object Number: 1989452  Size: CH

Connector Part Information

  • OEM: 15366099
  • Service: See Catalog
  • Description: 24-Way F

Connector Part Information

  • OEM: 15336173
  • Service: See Catalog
  • Description: 24-Way M

Terminal Part Information

  • Terminal/Tray: See Terminal Repair Kit
  • Core/Insulation Crimp: See Terminal Repair Kit
  • Release Tool/Test Probe: See Terminal Repair Kit

Terminal Part Information

  • Terminal/Tray: See Terminal Repair Kit
  • Core/Insulation Crimp: See Terminal Repair Kit
  • Release Tool/Test Probe: See Terminal Repair Kit

X107 Forward Lamp Harness to the Front Compartment Harness

Pin

Wire Color

Circuit No.

Function

Pin

Wire Color

Circuit No.

Function

A1

0.3 YE

354

Discriminating Sensor - Signal

A1

0.3 YE

354

Discriminating Sensor - Signal

A2

0.3 BN/YE

5045

Discriminating Sensor - Low Reference

A2

0.3 BN/YE

5045

Discriminating Sensor - Low Reference

A3

0.3 BN

6102

Low Reference

A3

0.3 BN

6102

Low Reference

A4

2 BN/WH

5724

Washer Pump Relay Supply Voltage

A4

2 BN/WH

5724

Washer Pump Relay Supply Voltage

A5

--

--

Not Used

A5

--

--

Not Used

A6

0.3 L-GN/BK

735

Ambient Air Temperature Sensor Signal

A6

0.3 L-GN/BK

735

Ambient Air Temperature Sensor Signal

A7

0.3 D-GN

1409

Discriminating Sensor - Signal

A7

0.3 D-GN

1409

Discriminating Sensor - Signal

A8

0.5 GY

5600

Discriminating Sensor - Low Reference

A8

0.5 GY

5600

Discriminating Sensor - Low Reference

B1

0.3 YE/BK

5176

LH Headlamp Leveling Motor (+)

B1

0.3 YE/BK

5176

LH Headlamp Leveling Motor (+)

B2

0.5 PU/WH

5178

LH Headlamp Leveling Motor Signal (+)

B2

0.5 PU/WH

5178

LH Headlamp Leveling Motor Signal (+)

B3

0.5 BN/WH

5180

RH Headlamp Leveling Motor (+)

B3

0.5 BN/WH

5180

RH Headlamp Leveling Motor (+)

B4-B5

--

--

Not Used

B4-B5

--

--

Not Used

B6

0.5 OG/BK

5177

LH Headlamp Leveling Motor (-)

B6

0.5 OG/BK

5177

LH Headlamp Leveling Motor (-)

B7

0.5 GY

5179

LH Headlamp Leveling Motor Signal (-)

B7

0.5 GY

5179

LH Headlamp Leveling Motor Signal (-)

B8

0.5 PK/BK

5181

RH Headlamp Leveling Motor (-)

B8

0.5 PK/BK

5181

RH Headlamp Leveling Motor (-)

C1

--

--

Not Used

C1

--

--

Not Used

C2

0.5 OG/WH

5182

RH Headlamp Leveling Motor Signal (+)

C2

0.5 OG/WH

5182

RH Headlamp Leveling Motor Signal (+)

C3

--

--

Not Used

C3

--

--

Not Used

C4

1.25 BK

350

Ground

C4

1.25 BK

350

Ground

C5-C6

--

--

Not Used

C5-C6

--

--

Not Used

C7

0.5 GY/BK

5183

RH Headlamp Leveling Motor Signal (-)

C7

0.5 GY/BK

5183

RH Headlamp Leveling Motor Signal (-)

C8

--

--

Not Used

C8

--

--

Not Used

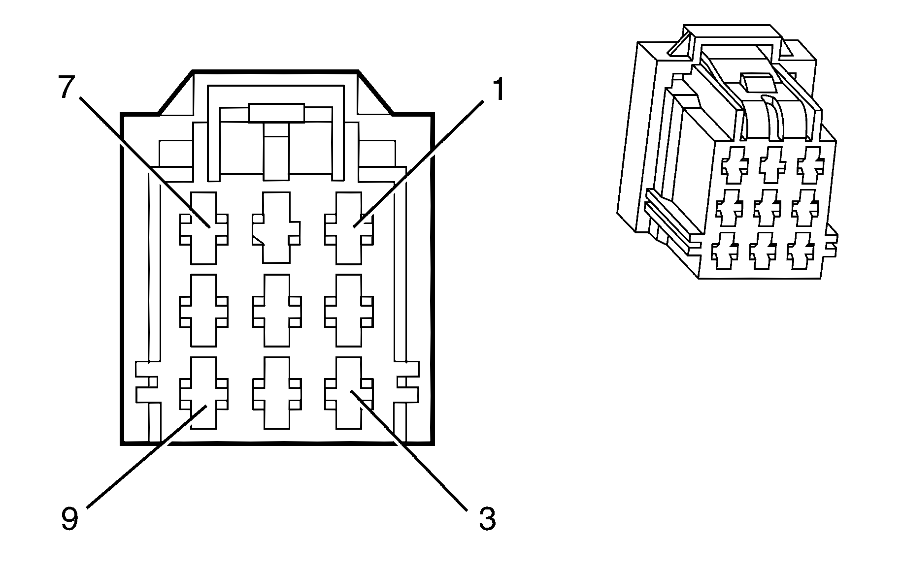
X108 Fog Lamp Harness to the Front Body Harness


Object Number: 1989458  Size: CH

Object Number: 1989456  Size: CH

Connector Part Information

  • OEM: 7283-1081-30
  • Service: See Catalog
  • Description: 8-Way F 090 II Series (BK)

Connector Part Information

  • OEM: 7282-1081-30
  • Service: See Catalog
  • Description: 8-Way M 090 II Series Sealed (BK)

Terminal Part Information

  • Terminal/Tray: 7116-4026/11
  • Core/Insulation Crimp: E/1
  • Release Tool/Test Probe: 15313892/J-35616-18 (BK)

Terminal Part Information

  • Terminal/Tray: 7114-4026/11
  • Core/Insulation Crimp: E/1
  • Release Tool/Test Probe: 15315247/J-35616-19 (BK)

X108 Fog Lamp Harness to the Front Body Harness

Pin

Wire Color

Circuit No.

Function

Pin

Wire Color

Circuit No.

Function

1

0.3 BN

6581

Object Sensor Supply Voltage

1

0.3 BN

6581

Object Sensor Supply Voltage

2

0.3 PU/WH

5215

LF Corner Object Sensor Signal

2

0.3 PU/WH

5215

LF Corner Object Sensor Signal

3

0.3 PU/BK

5218

RF Middle Object Sensor Signal

3

0.3 PU/BK

5218

RF Middle Object Sensor Signal

4

0.75 PU

34

Fog Lamps Supply Voltage

4

0.75 PU

34

Fog Lamps Supply Voltage

5

0.3 OG/BK

5214

Object Sensor Low Reference

5

0.3 OG/BK

5214

Object Sensor Low Reference

6

0.3 WH

5216

LF Middle Object Sensor Signal

6

0.3 WH

5216

LF Middle Object Sensor Signal

7

0.3 BN/WH

5217

RF Corner Object Sensor Signal

7

0.3 BN/WH

5217

RF Corner Object Sensor Signal

8

0.75 BK

350

Ground

8

0.75 BK

350

Ground

X110 Engine Harness to the Front Body Harness


Object Number: 1989464  Size: CH

Object Number: 1989462  Size: CH

Connector Part Information

  • OEM: 7283-3036-10
  • Service: See Catalog
  • Description: 2-Way F (GY)

Connector Part Information

  • OEM: 7182-7519-10
  • Service: See Catalog
  • Description: 2-Way M (GY)

Terminal Part Information

  • Terminal/Tray: 7116-4112-02/9
  • Core/Insulation Crimp: C/D
  • Release Tool/Test Probe: 12094430/J-35616-35 (VT)

Terminal Part Information

  • Terminal/Tray: See Terminal Repair Kit
  • Core/Insulation Crimp: See Terminal Repair Kit
  • Release Tool/Test Probe: See Terminal Repair Kit

X110 Engine Harness to the Front Body Harness

Pin

Wire Color

Circuit No.

Function

Pin

Wire Color

Circuit No.

Function

1

2 RD/BK

142

Battery Positive Voltage

1

2 RD/BK

142

Battery Positive Voltage

2

3 OG

3540

Battery Positive Voltage

2

3 OG

3540

Battery Positive Voltage

X112 Engine Harness to the Ignition Coil Harness (L98)


Object Number: 1989471  Size: CH

Object Number: 1989467  Size: CH

Connector Part Information

  • OEM: 7129-3170
  • Service: 12102754
  • Description: 7-Way F

Connector Part Information

  • OEM: 12047933
  • Service: 12047933
  • Description: 7-Way M Metri-Pack 150 Series (GY)

Terminal Part Information

  • Terminal/Tray: 12048074/2
  • Core/Insulation Crimp: E/1
  • Release Tool/Test Probe: 12094429/J-35616-14 (GN)

Terminal Part Information

  • Terminal/Tray: See Terminal Repair Kit
  • Core/Insulation Crimp: See Terminal Repair Kit
  • Release Tool/Test Probe: See Terminal Repair Kit

X112 Engine Harness to the Ignition Coil Harness (L98)

Pin

Wire Color

Circuit No.

Function

Pin

Wire Color

Circuit No.

Function

A

0.75 BK

450

Ground

A

0.8 BK

151

Ground

B

0.5 OG/WH

2122

Ignition Control 2

B

0.5 OG/WH

2127

Ignition Control 2

C

0.5 D-GN/WH

2124

Ignition Control 4

C

0.5 D-GN/WH

2125

Ignition Control 4

E

0.5 BN/WH

2130

Low Reference

E

0.5 BN/WH

2129

Low Reference

F

0.5 L-BU/WH

2126

Ignition Control 6

F

0.5 L-BU/WH

2123

Ignition Control 6

G

0.5 PU/WH

2128

Ignition Control 8

G

0.5 PU/WH

2121

Ignition Control 8

H

0.75 PK

5292

Ignition 1 Voltage

H

0.8 PK/BK

39

Ignition 1 Voltage

X113 Engine Harness to the Ignition Coil Harness (L98)


Object Number: 1989471  Size: CH

Object Number: 1989467  Size: CH

Connector Part Information

  • OEM: 7129-3170
  • Service: 12102754
  • Description: 7-Way F

Connector Part Information

  • OEM: 12047933
  • Service: 12047933
  • Description: 7-Way M Metri-Pack 150 Series (GY)

Terminal Part Information

  • Terminal/Tray: 12048074/2
  • Core/Insulation Crimp: E/1
  • Release Tool/Test Probe: 12094429/J-35616-14 (GN)

Terminal Part Information

  • Terminal/Tray: See Terminal Repair Kit
  • Core/Insulation Crimp: See Terminal Repair Kit
  • Release Tool/Test Probe: See Terminal Repair Kit

X113 Engine Harness to the Ignition Coil Harness (L98)

Pin

Wire Color

Circuit No.

Function

Pin

Wire Color

Circuit No.

Function

A

0.75 BK

2450

Ground

A

0.8 BK

151

Ground

B

0.5 OG

2127

Ignition Control 7

B

0.5 OG

2127

Ignition Control 7

C

0.5 D-GN/RD

2125

Ignition Control 5

C

0.5 D-GN

2125

Ignition Control 5

E

0.5 BN

2129

Low Reference

E

0.5 BN

2129

Low Reference

F

0.5 L-BU

2123

Ignition Control 3

F

0.5 L-BU

2123

Ignition Control 3

G

0.5 PU

2121

Ignition Control 1

G

0.5 PU

2121

Ignition Control 1

H

0.75 PK/BK

5291

Ignition 1 Voltage

H

0.8 PK/BK

39

Ignition 1 Voltage

X114 Engine Harness to the Fuel Injector Harness (LY7)


Object Number: 1989477  Size: CH

Object Number: 1989473  Size: CH

Connector Part Information

  • OEM: 7283-7109-30
  • Service: See Catalog
  • Description: 10-Way F (BK)

Connector Part Information

  • OEM: 1-962352-1
  • Service: See Catalog
  • Description: 10-Way M Junior Power Timer Series, Sealed (BK)

Terminal Part Information

  • Pins: 3-8
  • Terminal/Tray: 4-964286-1/16
  • Core/Insulation Crimp: E/1
  • Release Tool/Test Probe: 12093647/J-35616-4A (PU)
  • Pins: 1, 2
  • Terminal/Tray: 4-964273-1/15
  • Core/Insulation Crimp: E/1
  • Release Tool/Test Probe: 12093647/J-35616-4A (PU)

Terminal Part Information

  • Terminal/Tray: See Terminal Repair Kit
  • Core/Insulation Crimp: See Terminal Repair Kit
  • Release Tool/Test Probe: See Terminal Repair Kit

X114 Engine Harness to the Fuel Injector Harness (LY7)

Pin

Wire Color

Circuit No.

Function

Pin

Wire Color

Circuit No.

Function

1

1.25 PK/BU

5291

Ignition 1 Voltage

1

1.25 PK/BU

5291

Ignition 1 Voltage

2

1.25 PK

5292

Ignition 1 Voltage

2

1.25 PK

5292

Ignition 1 Voltage

3

0.75 BN/BK

1744

Fuel Injector 1 Control

3

0.8 BN/BK

1744

Fuel Injector 1 Control

4

0.75 PK/BK

1746

Fuel Injector 3 Control

4

0.8 PK/BK

1746

Fuel Injector 3 Control

5

0.75 BN/WH

845

Fuel Injector 5 Control

5

0.8 BN/WH

845

Fuel Injector 5 Control

6

0.75 L-GN/BK

1745

Fuel Injector 2 Control

6

0.8 L-GN/BK

1745

Fuel Injector 2 Control

7

0.75 L-BU/BK

844

Fuel Injector 4 Control

7

0.8 L-BU/BK

844

Fuel Injector 4 Control

8

0.75 YE/BK

846

Fuel Injector 6 Control

8

0.8 YE/BK

846

Fuel Injector 6 Control

9-10

--

--

Not Used

9-10

--

--

Not Used

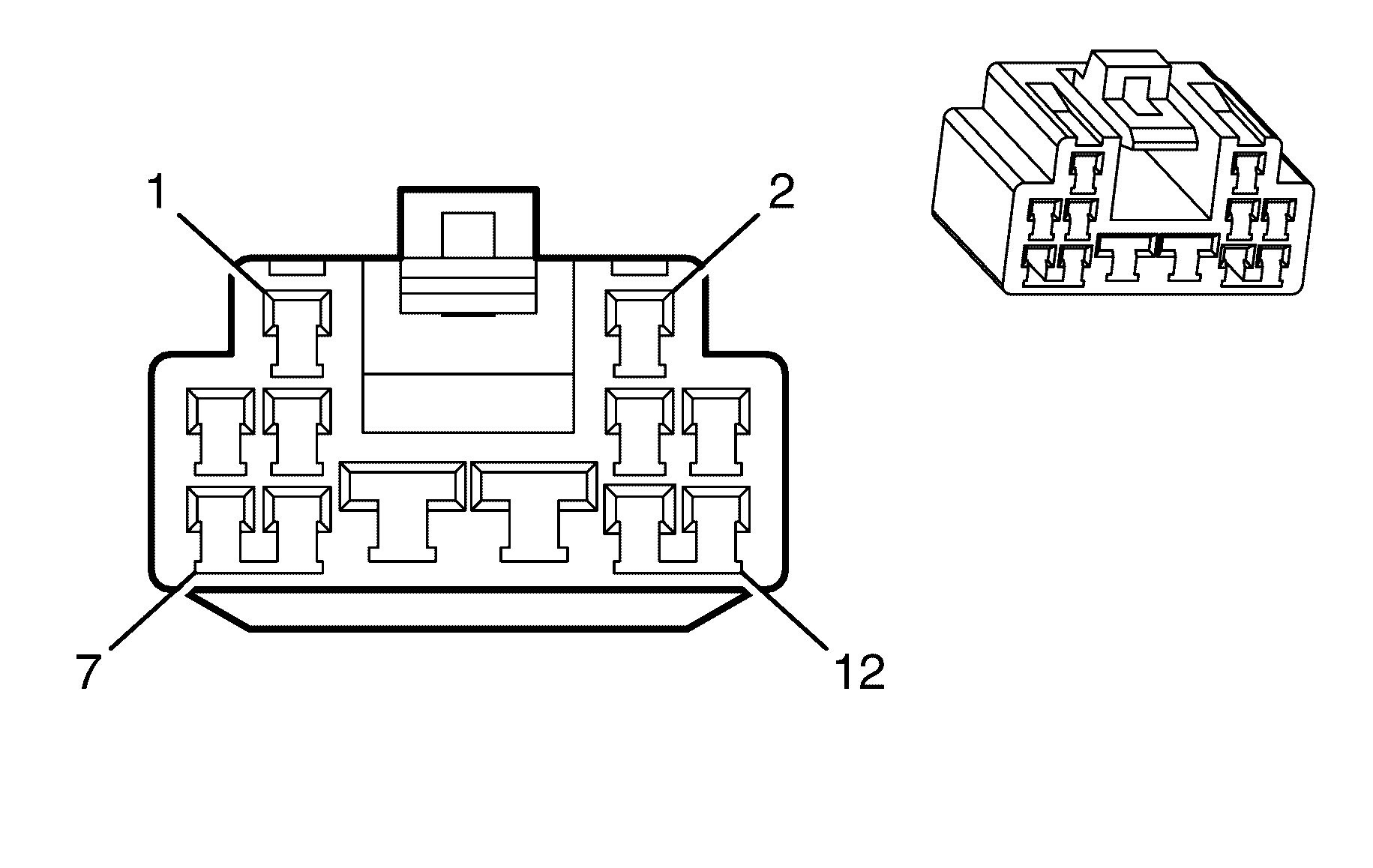
X115 Forward Lamp Harness to the Left Headlamp


Object Number: 1989300  Size: CH

Object Number: 1480280  Size: CH

Connector Part Information

  • OEM: 7283-7109-30
  • Service: See Catalog
  • Description: 10-Way F (BK)

Connector Part Information

  • OEM: 1-962352-1
  • Service: Non Serviceable
  • Description: 10-Way M (BK)

Terminal Part Information

  • Terminal/Tray: 4-964286-1/16
  • Core/Insulation Crimp: E/1
  • Release Tool/Test Probe: 12093647/J-35616-4A (PU)

Terminal Part Information

  • Terminal/Tray: See Terminal Repair Kit
  • Core/Insulation Crimp: See Terminal Repair Kit
  • Release Tool/Test Probe: See Terminal Repair Kit

X115 Forward Lamp Harness to the Left Headlamp

Pin

Wire Color

Circuit No.

Function

Pin

Wire Color

Circuit No.

Function

1

0.5 BK

250

Ground

1

0.5 BK/WH

250

Ground

2

0.5 BK

350

Ground

2

0.5 TN

350

Ground

3

0.5 BK

250

Ground

3

0.5 BK

250

Ground

4-5

--

--

Not Used

4-5

--

--

Not Used

6

0.5 PU

709

Left Park Lamp Supply Voltage

6

0.5 L-GN

709

Left Park Lamp Supply Voltage

7

0.5 YE

712

Left Headlamp Low Beam Supply Voltage

7

0.5 TN

712

Left Headlamp Low Beam Supply Voltage

8

0.5 D-GN/WH

711

Left Headlamp High Beam Supply Voltage

8

0.5 BK

711

Left Headlamp High Beam Supply Voltage

9

0.5 L-BU/WH

1314

Left Front Turn Signal Lamp Supply Voltage

9

0.5 RD

1314

Left Front Turn Signal Lamp Supply Voltage

10

--

--

Not Used

10

--

--

Not Used

X116 Forward Lamp Harness to the Right Headlamp


Object Number: 1989300  Size: CH

Object Number: 1480280  Size: CH

Connector Part Information

  • OEM: 7283-7109-30
  • Service: See Catalog
  • Description: 10-Way F (BK)

Connector Part Information

  • OEM: 1-962352-1
  • Service: Non Serviceable
  • Description: 10-Way M (BK)

Terminal Part Information

  • Terminal/Tray: 4-964286-1/16
  • Core/Insulation Crimp: E/1
  • Release Tool/Test Probe: 12093647/J-35616-4A (PU)

Terminal Part Information

  • Terminal/Tray: See Terminal Repair Kit
  • Core/Insulation Crimp: See Terminal Repair Kit
  • Release Tool/Test Probe: See Terminal Repair Kit

X116 Forward Lamp Harness to the Right Headlamp

Pin

Wire Color

Circuit No.

Function

Pin

Wire Color

Circuit No.

Function

1

0.5 BK

250

Ground

1

0.5 BK/WH

250

Ground

2

0.5 BK

350

Ground

2

0.5 TN

350

Ground

3

0.5 BK

250

Ground

3

0.5 BK

250

Ground

4-5

--

--

Not Used

4-5

--

--

Not Used

6

0.5 BN/WH

309

Right Park Lamp Supply Voltage

6

0.5 L-GN

309

Right Park Lamp Supply Voltage

7

0.5 BN/BK

312

Right Headlamp Low Beam Supply Voltage

7

0.5 TN

312

Right Headlamp Low Beam Supply Voltage

8

0.5 L-GN/BK

311

Right Headlamp High Beam Supply Voltage

8

0.5 BK

311

Right Headlamp High Beam Supply Voltage

9

0.5 D-BU/WH

1315

Right Front Turn Signal Lamp Supply Voltage

9

0.5 RD

1315

Right Front Turn Signal Lamp Supply Voltage

10

--

--

Not Used

10

--

--

Not Used

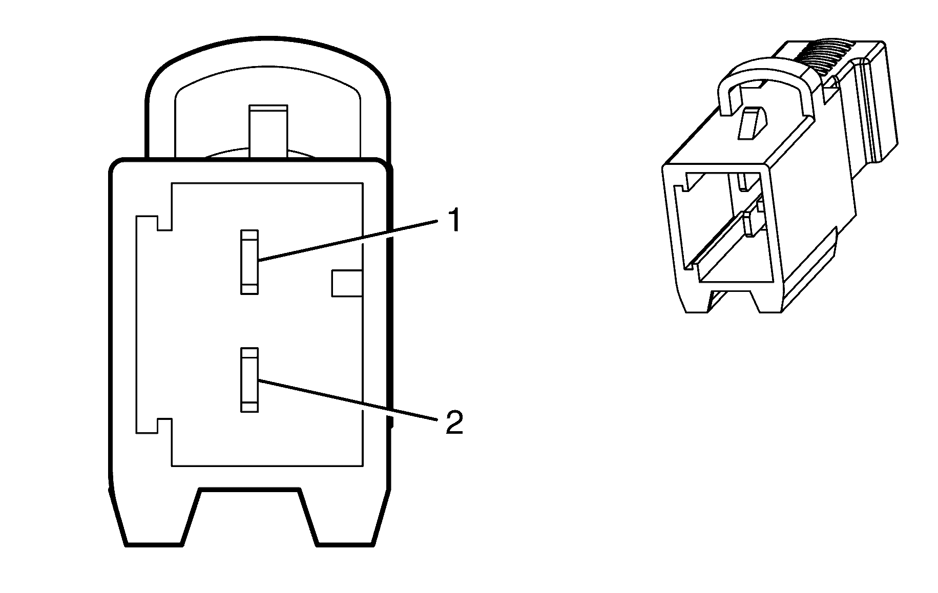
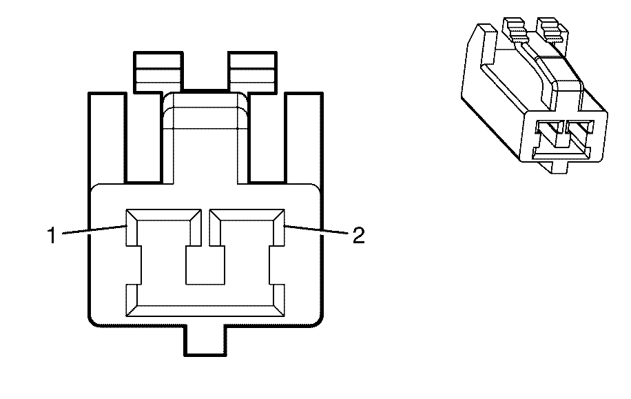
X160 Left Front Wheel Speed Sensor Harness to the Front Body Harness


Object Number: 1989482  Size: CH

Object Number: 1989479  Size: CH

Connector Part Information

  • OEM: 7283-7420-40
  • Service: See Catalog
  • Description: 2-Way F (GY)

Connector Part Information

  • OEM: 7282-7420-40
  • Service: See Catalog
  • Description: 2-Way M 090 II Series Sealed (GY)

Terminal Part Information

  • Terminal/Tray: See Terminal Repair Kit
  • Core/Insulation Crimp: See Terminal Repair Kit
  • Release Tool/Test Probe: See Terminal Repair Kit

Terminal Part Information

  • Terminal/Tray: 7114-4025/11
  • Core/Insulation Crimp: E/1
  • Release Tool/Test Probe: 15315247/J-35616-19 (BK)

X160 Left Front Wheel Speed Sensor Harness to the Front Body Harness

Pin

Wire Color

Circuit No.

Function

Pin

Wire Color

Circuit No.

Function

1

0.75 BN

830

Left Front Wheel Speed Sensor Signal

1

0.5 L-BU

830

Left Front Wheel Speed Sensor Signal

2

0.75 BK

7064

Left Front Wheel Speed Sensor Supply Voltage

2

0.5 GY

7064

Left Front Wheel Speed Sensor Supply Voltage

X161 Right Front Wheel Speed Sensor Harness to the Front Body Harness


Object Number: 1989482  Size: CH

Object Number: 1989479  Size: CH

Connector Part Information

  • OEM: 7283-7029-40
  • Service: See Catalog
  • Description: 2-Way F 090 II Series (GY)

Connector Part Information

  • OEM: 7282-7420-40
  • Service: See Catalog
  • Description: 2-Way M 090 II Series Sealed (GY)

Terminal Part Information

  • Terminal/Tray: See Terminal Repair Kit
  • Core/Insulation Crimp: See Terminal Repair Kit
  • Release Tool/Test Probe: See Terminal Repair Kit

Terminal Part Information

  • Terminal/Tray: 7114-4025/11
  • Core/Insulation Crimp: E/1
  • Release Tool/Test Probe: 15315247/J-35616-19 (BK)

X161 Right Front Wheel Speed Sensor Harness to the Front Body Harness

Pin

Wire Color

Circuit No.

Function

Pin

Wire Color

Circuit No.

Function

1

0.75 BN

872

Right Front Wheel Speed Sensor Signal

1

0.5 D-GN

872

Right Front Wheel Speed Sensor Signal

2

0.75 BK

7065

Right Front Wheel Speed Sensor Supply Voltage

2

0.5 GY

7065

Right Front Wheel Speed Sensor Supply Voltage

X162 Forward Lamp Harness to the Cooling Fan Assembly


Object Number: 1989487  Size: CH

Object Number: 1989484  Size: CH

Connector Part Information

  • OEM: 7123-6244-40
  • Service: See Catalog
  • Description: 4-Way F 58 X-Type Sealed (GY)

Connector Part Information

  • OEM: 7222-6244-40
  • Service: See Catalog
  • Description: 4-Way M (GY)

Terminal Part Information

  • Terminal/Tray: See Terminal Repair Kit
  • Core/Insulation Crimp: See Terminal Repair Kit
  • Release Tool/Test Probe: See Terminal Repair Kit

Terminal Part Information

  • Terminal/Tray: See Terminal Repair Kit
  • Core/Insulation Crimp: See Terminal Repair Kit
  • Release Tool/Test Probe: See Terminal Repair Kit

X162 Forward Lamp Harness to the Cooling Fan Assembly

Pin

Wire Color

Circuit No.

Function

Pin

Wire Color

Circuit No.

Function

1

3 D-BU

409

Left Cooling Fan Motor Supply Voltage

1

3 L-BU

409

Left Cooling Fan Motor Supply Voltage

2

3 BK

250

Ground

2

3 BK

250

Ground

3

3 WH

504

Right Cooling Fan Motor Low Reference

3

3 WH

504

Right Cooling Fan Motor Low Reference

4

3 GY

532

Right Cooling Fan Motor Supply Voltage

4

3 GY

532

Right Cooling Fan Motor Supply Voltage

X165 Front Body Harness to the I/P Harness


Object Number: 1989510  Size: CH

Object Number: 1989507  Size: CH

Connector Part Information

  • OEM: 7283-4258-30
  • Service: See Catalog
  • Description: 8-Way F (BK)

Connector Part Information

  • OEM: 7282-4256-30
  • Service: See Catalog
  • Description: 8-Way M (BK)

Terminal Part Information

  • Terminal/Tray: See Terminal Repair Kit
  • Core/Insulation Crimp: See Terminal Repair Kit
  • Release Tool/Test Probe: See Terminal Repair Kit

Terminal Part Information

  • Terminal/Tray: See Terminal Repair Kit
  • Core/Insulation Crimp: See Terminal Repair Kit
  • Release Tool/Test Probe: See Terminal Repair Kit

X165 Front Body Harness to the I/P Harness

Pin

Wire Color

Circuit No.

Function

Pin

Wire Color

Circuit No.

Function

1

0.5 L-BU

5986

Communication Enable Relay Supply Voltage

1

0.5 L-BU

5986

Communication Enable Relay Supply Voltage

2

0.5 BK/BU

2088

Low Reference

2

0.5 BK/BU

2088

Low Reference

3

--

--

Not Used

3

--

--

Not Used

4

0.5 BN

185

Low Washer Fluid Indicator Control

4

0.5 BN

185

Low Washer Fluid Indicator Control

5

--

--

Not Used

5

--

--

Not Used

6

0.5 WH

2282

Headlamp Washer Relay Control

6

0.5 WH

2282

Headlamp Washer Relay Control

7

0.3 BN

61

Low Reference

7

0.3 BN

61

Low Reference

8

0.3 L-GN/BK

735

Ambient Air Temperature Sensor Signal

8

0.3 L-GN/BK

735

Ambient Air Temperature Sensor Signal

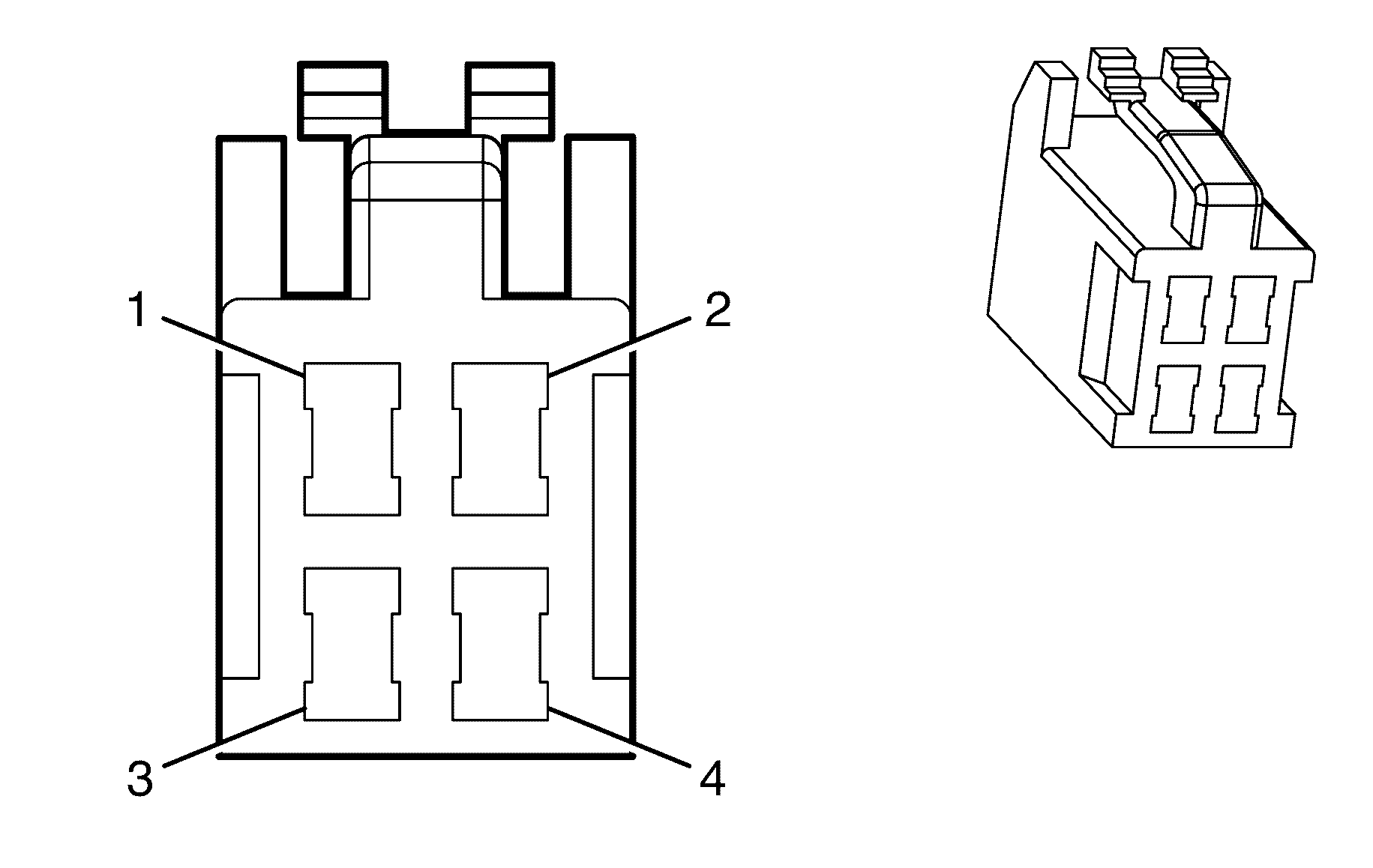
X175 Engine Harness to the Automatic Transmission (M82)


Object Number: 1989623  Size: CH
 

Connector Part Information

  • OEM: 7229-2575-30
  • Service: See Catalog
  • Description: 20-Way F (BK)

Connector Part Information

  • OEM: 9432001
  • Service: See Catalog
  • Description: 20-Way M (BK)

Terminal Part Information

  • Terminal/Tray: See Terminal Repair Kit
  • Core/Insulation Crimp: See Terminal Repair Kit
  • Release Tool/Test Probe: See Terminal Repair Kit

Terminal Part Information

  • Terminal/Tray: See Terminal Repair Kit
  • Core/Insulation Crimp: See Terminal Repair Kit
  • Release Tool/Test Probe: See Terminal Repair Kit

X175 Engine Harness to the Automatic Transmission (M82)

Pin

Wire Color

Circuit No.

Function

Pin

Wire Color

Circuit No.

Function

1

0.5 L-GN/BK

822

VSS Low Signal

1

0.5 OG

822

VSS Low Signal

2

0.5 OG/BK

1786

Park/Neutral Signal

2

0.5 BN

1786

Park/Neutral Signal

3

0.5 PU/WH

821

VSS High Signal

3

0.5 WH

821

VSS High Signal

4

0.5 BK

450

Ground

4

0.5 D-GN

450

Ground

5

0.5 WH

898

Shift Solenoid C Valve Control

5

0.5 GY

898

Shift Solenoid C Valve Control

6

0.5 BN/WH

2762

Low Reference

6

0.5 WH

2762

Low Reference

7

0.5 YE

772

Transmission Range Switch Signal B

7

0.5 BK

772

Transmission Range Switch Signal B

8

0.5 L-BU/WH

1229

PC Solenoid Valve Low Control

8

0.5 WH

1229

PC Solenoid Valve Low Control

9

0.5 YE/BK

1223

Shift Solenoid B Valve Control

9

0.5 D-BU

1223

Shift Solenoid B Valve Control

10

0.5 YE/BK

1227

TFT Sensor Signal

10

0.5 RD

1227

TFT Sensor Signal

11

0.5 WH

776

Transmission Range Switch Signal P

11

0.5 GY

776

Transmission Range Switch Signal P

12

--

--

Not Used

12

--

--

Not Used

13

0.5 OG/BK

1228

PC Solenoid Valve High Control

13

0.5 D-GN

1228

PC Solenoid Valve High Control

14

0.5 L-GN

1222

Shift Solenoid A Valve Control

14

0.5 BK

1222

Shift Solenoid A Valve Control

15

0.5 L-BU

1984

Transmission Turbine Speed Switch Low Reference

15

0.5 WH

1984

Transmission Turbine Speed Switch Low Reference

16

0.5 BN/YE

771

Transmission Range Switch Signal A

16

0.5 RD

771

Transmission Range Switch Signal A

17

0.5 OG

1525

Clutch Pressure Control Solenoid Valve 1 High Control

17

0.5 WH

1525

Clutch Pressure Control Solenoid Valve 1 High Control

18

0.5 OG

1983

Transmission Turbine Speed Switch Signal

18

0.5 YE

1983

Transmission Turbine Speed Switch Signal

19

0.5 GY

773

Transmission Range Switch Signal C

19

0.5 D-BU

773

Transmission Range Switch Signal C

20

0.5 BN

418

TCC PWM Solenoid Valve Control

20

0.5 YE

418

TCC PWM Solenoid Valve Control

X200 I/P Harness to the Front Body Harness


Object Number: 1989493  Size: CH

Object Number: 1989490  Size: CH

Connector Part Information

  • OEM: 7123-4123-30
  • Service: 88953301
  • Description: 2-Way F L Type (BK)

Connector Part Information

  • OEM: 7122-4123-30
  • Service: See Catalog
  • Description: 2-Way M (BK)

Terminal Part Information

  • Terminal/Tray: 7116-3250/10
  • Core/Insulation Crimp: G/3
  • Release Tool/Test Probe: 12094430/J-35616-22 (RD)

Terminal Part Information

  • Terminal/Tray: 7114-3250/14
  • Core/Insulation Crimp: G/3
  • Release Tool/Test Probe: 12094430/J-35616-21 (RD)

X200 I/P Harness to the Front Body Harness

Pin

Wire Color

Circuit No.

Function

Pin

Wire Color

Circuit No.

Function

1

5 RD

9320

Battery Positive Voltage

1

5 RD

242

Battery Positive Voltage

2

5 RD/BK

9371

Battery Positive Voltage

2

5 RD/BK

642

Battery Positive Voltage

X201 I/P Harness to the Front Body Harness


Object Number: 1989499  Size: CH

Object Number: 1989495  Size: CH

Connector Part Information

  • OEM: 7283-1734
  • Service: See Catalog
  • Description: 43-Way F (WH)

Connector Part Information

  • OEM: 7282-1734
  • Service: See Catalog
  • Description: 43-Way M (WH)

Terminal Part Information

  • Pins: 3, 4, 6, 7, 13-15, 17, 18, 27, 29, 30, 36-40
  • Terminal/Tray: 7116-4231-08/14
  • Core/Insulation Crimp: K/K
  • Release Tool/Test Probe: 15315247/J-35616-64B (L-BU)
  • Pins: 8, 19-26, 31, 33, 34
  • Terminal/Tray: 7116-4020/11
  • Core/Insulation Crimp: E/C
  • Release Tool/Test Probe: 15315247/J-35616-18 (BK)
  • Pin: 10
  • Terminal/Tray: 7116-4021/11
  • Core/Insulation Crimp: 2/A
  • Release Tool/Test Probe: 12094430/J-35616-40 (BU)
  • Pin: 16
  • Terminal/Tray: 7116-4031/11
  • Core/Insulation Crimp: C/A
  • Release Tool/Test Probe: 12094430/J-35616-40 (BU)
  • Pins: 32, 41-43
  • Terminal/Tray: 7116-4021/11
  • Core/Insulation Crimp: E/A
  • Release Tool/Test Probe: 15315247/J-35616-18 (BK)

Terminal Part Information

  • Pins: 3, 4, 6, 7, 13-15, 17, 18, 25-30, 36-40
  • Terminal/Tray: 7114-4231-08/14
  • Core/Insulation Crimp: K/K
  • Release Tool/Test Probe: 15315247/J-35616-65B (L-BU)
  • Pins: 8, 19-24, 31, 33, 34
  • Terminal/Tray: 7114-4020/10
  • Core/Insulation Crimp: E/C
  • Release Tool/Test Probe: 15315247/J-35616-19 (BK)
  • Pin: 10
  • Terminal/Tray: 7114-4021/10
  • Core/Insulation Crimp: 2/A
  • Release Tool/Test Probe: 15315247/J-35616-19 (BK)
  • Pin: 16
  • Terminal/Tray: 7114-4031/11
  • Core/Insulation Crimp: C/A
  • Release Tool/Test Probe: 12094430/J-35616-41 (BU)
  • Pins: 32, 41-43
  • Terminal/Tray: 7114-4021/10
  • Core/Insulation Crimp: E/A
  • Release Tool/Test Probe: 15315247/J-35616-19 (BK)

X201 I/P Harness to the Front Body Harness

Pin

Wire Color

Circuit No.

Function

Pin

Wire Color

Circuit No.

Function

1-2

--

--

Not Used

1-2

--

--

Not Used

3

0.5 BN/BU

1946

Right Rear Speaker Output (-)

3

0.5 BN/BU

1946

Right Rear Speaker Output (-)

4

0.5 D-BU

658

Right Rear Speaker Output (+)

4

0.5 D-BU

658

Right Rear Speaker Output (+)

5

--

--

Not Used

5

--

--

Not Used

6

0.3 GY/BK

746

Right Front Door Ajar Switch Signal

6

0.3 GY/BK

746

Right Front Door Ajar Switch Signal

7

--

--

Not Used

7

--

--

Not Used

8

0.85 BN

5998

Puddle Lamp Supply Voltage

8

0.85 BN

5998

Puddle Lamp Supply Voltage

9

--

--

Not Used

9

--

--

Not Used

10

1.25 BN/RD

694

Driver Door Lock Actuator Unlock Control

10

1.25 BN/RD

694

Driver Door Lock Actuator Unlock Control

11

0.85 L-BU

1960

Front Center Speaker Output (-)

11

0.85 L-BU

1960

Front Center Speaker Output (-)

12

0.85 YE

1860

Front Center Speaker Output (+)

12

0.85 YE

1860

Front Center Speaker Output (+)

13

0.5 BN

1999

Left Rear Speaker Output (-)

13

0.5 BN

1999

Left Rear Speaker Output (-)

14

0.5 BN/WH

599

Left Rear Speaker Output (+)

14

0.5 BN/WH

599

Left Rear Speaker Output (+)

15

0.5 OG/BK

744

Rear Compartment Lid Ajar Switch Signal

15

0.5 OG/BK

744

Rear Compartment Lid Ajar Switch Signal

16

--

--

Not Used

16

--

--

Not Used

17

0.5 OG/BK

1134

Park Brake Switch Signal

17

0.5 OG/BK

1134

Park Brake Switch Signal

18

0.5 L-BU

223

Communication Enable Relay Supply Voltage

18

0.5 L-BU

223

Communication Enable Relay Supply Voltage

19

--

--

Not Used

19

--

--

Not Used

20

0.5 L-BU

115

Right Rear Speaker Output (-)

20

0.5 L-BU

115

Right Rear Speaker Output (-)

21

0.5 L-GN

115

Right Front Speaker Output (+)

21

0.5 L-GN

115

Right Front Speaker Output (+)

22

0.5 OG

200

Amplifier Mute Control

22

0.5 OG

200

Amplifier Mute Control

23

0.5 WH

6978

Amplifier Enable Signal

23

0.5 WH

6978

Amplifier Enable Signal

24

0.5 L-GN

1975

Right Front Speaker Output (-)

24

0.5 L-GN

1975

Right Front Speaker Output (-)

25

0.5 L-GN/WH

1875

Right Front Speaker Output (+)

25

0.5 L-GN/WH

1875

Right Front Speaker Output (+)

26

0.3 YE

391

Led Backlight Dimming Control

26

0.3 YE

391

Led Backlight Dimming Control

27

1.25 L-BU

17

Stop Lamp Supply Voltage

27

1.25 L-BU

17

Stop Lamp Supply Voltage

28

0.5 BK/BU

1540

Yaw Rate Low Reference

28

0.5 BK/BU

1540

Yaw Rate Low Reference

29

0.3 PK

2088

Driver Door Lock Switch Unlock Signal

29

0.3 PK

2088

Driver Door Lock Switch Unlock Signal

30

0.5 D-BU/WH

148

Courtesy Lamp Supply Voltage

30

0.5 D-BU/WH

148

Courtesy Lamp Supply Voltage

31

0.85 OG

149

Courtesy Lamps Supply Voltage

31

0.85 OG

149

Courtesy Lamps Supply Voltage

32

0.5 D-BU

1732

Right Rear Speaker Output (+)

32

0.5 D-BU

1732

Right Rear Speaker Output (+)

33

0.5 D-GN

46

Right Front Speaker Output (-)

33

0.5 D-GN

46

Right Front Speaker Output (-)

34

0.5 D-GN

117

Left Front Speaker Output (-)

34

0.5 D-GN

117

Left Front Speaker Output (-)

35

0.5 BN/OG

1947

Left Front Speaker Output (+)

35

0.5 BN/OG

1947

Left Front Speaker Output (+)

36

0.3 D-GN/WH

511

Fog Lamp Relay Control

36

0.3 D-GN/WH

511

Fog Lamp Relay Control

37

0.3 GY

8

Instrument Panel Lamp Supply Voltage

37

0.3 GY

8

Instrument Panel Lamp Supply Voltage

38

2 OG/BU

1317

Battery Positive Voltage

38

2 OG/BU

1317

Battery Positive Voltage

39

--

--

Not Used

39

--

--

Not Used

40

0.3 PK/BK

2514

Driver Door Lock Switch Lock Signal

40

0.3 PK/BK

2514

Driver Door Lock Switch Lock Signal

41

0.85 YE/BK

1334

Left Rear Turn Signal Lamp Supply Voltage

41

0.85 YE/BK

1334

Left Rear Turn Signal Lamp Supply Voltage

42

0.85 D-GN/WH

1335

Right Rear Turn Signal Lamp Supply Voltage

42

0.85 D-GN/WH

1335

Right Rear Turn Signal Lamp Supply Voltage

43

0.85 L-GN

24

Backup Lamp Supply Voltage

43

0.85 L-GN

24

Backup Lamp Supply Voltage

X202 I/P Harness to the Body Harness


Object Number: 1989504  Size: CH

Object Number: 1989502  Size: CH

Connector Part Information

  • OEM: 7283-1684
  • Service: See Catalog
  • Description: 38-Way F 040 III Series (WH)

Connector Part Information

  • OEM: 7282-1684
  • Service: See Catalog
  • Description: 38-Way M 040 III Series (WH)

Terminal Part Information

  • Pins: 1, 28
  • Terminal/Tray: 7116-4032/11
  • Core/Insulation Crimp: A/F
  • Release Tool/Test Probe: 12094430/J-35616-40 (BU)
  • Pins: 29, 38
  • Terminal/Tray: 7116-4032/11
  • Core/Insulation Crimp: 4/B
  • Release Tool/Test Probe: 12094430/J-35616-40 (BU)
  • Pins: 2, 3, 8, 9, 14, 19, 30, 31, 36, 37
  • Terminal/Tray: 7116-4020/11
  • Core/Insulation Crimp: E/C
  • Release Tool/Test Probe: 15315247/J-35616-18 (BK)
  • Pins: 4, 5, 7, 16, 18, 20, 26, 27
  • Terminal/Tray: 7116-4021/11
  • Core/Insulation Crimp: E/A
  • Release Tool/Test Probe: 15315247/J-35616-18 (BK)
  • Pins: 6, 17
  • Terminal/Tray: 7116-4031/11
  • Core/Insulation Crimp: C/A
  • Release Tool/Test Probe: 12094430/J-35616-40 (BU)
  • Pins: 10-13, 21-24, 34, 35
  • Terminal/Tray: 7116-4231-08/14
  • Core/Insulation Crimp: K/K
  • Release Tool/Test Probe: 15315247/J-35616-64B (L-BU)

Terminal Part Information

  • Pins: 1, 28,
  • Terminal/Tray: 7114-4032/11
  • Core/Insulation Crimp: A/G
  • Release Tool/Test Probe: 12094430/J-35616-41 (BU)
  • Pins: 29, 38,
  • Terminal/Tray: 7114-4032/11
  • Core/Insulation Crimp: 4/B
  • Release Tool/Test Probe: 12094430/J-35616-41 (BU)
  • Pins: 2-5, 8, 9, 14, 19, 30, 31, 36, 37
  • Terminal/Tray: 7114-4020/10
  • Core/Insulation Crimp: E/C
  • Release Tool/Test Probe: 15315247/J-35616-19 (BK)
  • Pins: 6, 17
  • Terminal/Tray: 7114-4031/11
  • Core/Insulation Crimp: C/A
  • Release Tool/Test Probe: 12094430/J-35616-41 (BU)
  • Pins: 7, 16, 18, 20, 26, 27
  • Terminal/Tray: 7114-4021/10
  • Core/Insulation Crimp: 2/A
  • Release Tool/Test Probe: 15315247/J-35616-19 (BK)
  • Pins: 10-13, 21-24, 34, 35
  • Terminal/Tray: 7114-4231-08/14
  • Core/Insulation Crimp: K/K
  • Release Tool/Test Probe: 15315247/J-35616-65B (L-BU)

X202 I/P Harness to the Body Harness

Pin

Wire Color

Circuit No.

Function

Pin

Wire Color

Circuit No.

Function

1

3 OG/GN

2840

Battery Positive Voltage

1

3 OG/GN

2840

Battery Positive Voltage

2

0.5 BN

199

Left Rear Speaker Output (+)

2

0.5 BN

199

Left Rear Speaker Output (+)

3

0.5 YE/RD

116

Left Rear Speaker Output (-)

3

0.5 YE/RD

116

Left Rear Speaker Output (-)

4

0.5 BN

201

Left Front Speaker Output (+)

4

0.5 BN

201

Left Front Speaker Output (+)

 

5

0.5 GY

118

Left Front Speaker Output (-)

5

0.5 GY

118

Left Front Speaker Output (-)

0.5 GY

118

Left Front Speaker Output (-)

0.5 GY

118

Left Front Speaker Output (-)

6

1.25 BN/WH

9301

Accessory Voltage

6

1.25 BN/WH

9301

Accessory Voltage

7

1.25 D-GN/WH

295

Door Lock Actuator Lock Control

7

1.25 D-GN/WH

295

Door Lock Actuator Lock Control

8

--

--

Not Used

8

--

--

Not Used

9

0.5 BN/BU

343

Accessory Voltage

9

0.5 BN/BU

343

Accessory Voltage

10

0.3 PK

5076

5-Volt Reference

10

0.3 PK

5076

5-Volt Reference

11

0.3 BN

5077

Low Reference

11

0.3 BN

5077

Low Reference

12

0.3 BN/BK

254

Power Door Unlock Fuse Supply Voltage

12

0.3 BN/BK

254

Power Door Unlock Fuse Supply Voltage

13

0.5 BN/WH

746

Passenger Door Ajar Switch Control

13

0.5 BN/WH

746

Passenger Door Ajar Switch Control

14

0.3 OG/BU

2440

Battery Positive Voltage

14

0.3 OG/BU

2440

Battery Positive Voltage

15

0.5 OG/WH

2340

Battery Positive Voltage

15

0.5 OG/WH

2340

Battery Positive Voltage

16

1.25 BN/RD

294

Door Lock Actuator Unlock Control

16

1.25 BN/RD

294

Door Lock Actuator Unlock Control

17

1.25 BN/YE

143

Accessory Voltage

17

1.25 BN/YE

143

Accessory Voltage

18

1.25 OG/YE

4140

Battery Positive Voltage (KA1)

18

1.25 OG/YE

4140

Battery Positive Voltage (KA1)

19

--

--

Not Used

19

--

--

Not Used

20

0.85 BN/WH

56

Rear Compartment Lid Release Actuator

20

0.85 BN/WH

56

Rear Compartment Lid Release Actuator

21

0.3 WH/GN

5075

Battery Current Signal

21

0.3 WH/GN

5075

Battery Current Signal

22

--

--

Not Used

22

--

--

Not Used

23

0.5 OG/WH

1840

Battery Positive Voltage

23

0.5 OG/WH

1840

Battery Positive Voltage

24

0.3 BK

1850

Ground

24

0.3 BK

1850

Ground

25

0.85 OG/PU

2140

Battery Positive Voltage

25

0.85 OG/PU

2140

Battery Positive Voltage

26

0.85 OG/BU

4340

Battery Positive Voltage

26

0.85 OG/BU

4340

Battery Positive Voltage

27

--

--

Not Used

27

--

--

Not Used

28

3 GY

120

Fuel Pump Supply Voltage

28

3 GY

120

Fuel Pump Supply Voltage

29

2 OG

1140

Battery Positive Voltage

29

2 OG

1140

Battery Positive Voltage

30-31

--

--

Not Used

30-31

--

--

Not Used

32

0.3 BN

5852

Instrument Panel Lamp Supply Voltage

32

0.3 BN

5852

Instrument Panel Lamp Supply Voltage

33

0.3 GY

2555

Object Detection Disable Signal

33

0.3 GY

2555

Object Detection Disable Signal

34

0.35 D-GN

5060

Low Speed GMLAN Serial Data

34

0.35 D-GN

5060

Low Speed GMLAN Serial Data

35

0.3 GY/BK

255

Power Door Lock Fuse Supply Voltage

35

0.3 GY/BK

255

Power Door Lock Fuse Supply Voltage

36

0.5 D-GN

1301

Rap Fuse Supply Voltage

36

0.5 D-GN

1301

Rap Fuse Supply Voltage

37

0.5 OG/YE

1340

Battery Positive Voltage

37

0.5 OG/YE

1340

Battery Positive Voltage

38

2 D-GN

1001

Rap Fuse Supply Voltage

38

2 D-GN

1001

Rap Fuse Supply Voltage

X204 I/P Harness to the Front Body Harness


Object Number: 1989541  Size: CH

Object Number: 1989539  Size: CH

Connector Part Information

  • OEM: 7123-4125-50
  • Service: See Catalog
  • Description: 2-Way F (RD)

Connector Part Information

  • OEM: 7122-4125-50
  • Service: See Catalog
  • Description: 2-Way M 58 L-Type (RD)

Terminal Part Information

  • Terminal/Tray: 7116-3250/10
  • Core/Insulation Crimp: G/3
  • Release Tool/Test Probe: 12094430/J-35616-22 (RD)

Terminal Part Information

  • Terminal/Tray: 7114-3250/14
  • Core/Insulation Crimp: G/3
  • Release Tool/Test Probe: 12094430/J-35616-21 (RD)

X204 I/P Harness to the Front Body Harness

Pin

Wire Color

Circuit No.

Function

Pin

Wire Color

Circuit No.

Function

1

5 RD/WH

842

Battery Positive Voltage

1

5 RD/WH

842

Battery Positive Voltage

2

5 D-GN

442

Battery Positive Voltage

2

5 D-GN

442

Battery Positive Voltage

X205 Glove Box Assembly to the I/P Harness


Object Number: 1989544  Size: CH

Object Number: 1989542  Size: CH

Connector Part Information

  • OEM: 7283-1150
  • Service: See Catalog
  • Description: 15-Way F 090 II Series (WH)

Connector Part Information

  • OEM: 7282-1150
  • Service: See Catalog
  • Description: 15-way M (WH)

Terminal Part Information

  • Terminal/Tray: See Terminal Repair Kit
  • Core/Insulation Crimp: See Terminal Repair Kit
  • Release Tool/Test Probe: See Terminal Repair Kit

Terminal Part Information

  • Pin: 3
  • Terminal/Tray: 7114-4021/10
  • Core/Insulation Crimp: E/A
  • Release Tool/Test Probe: 15315247/J-35616-19 (BK)
  • Pin: 6
  • Terminal/Tray: 7114-4020/10
  • Core/Insulation Crimp: E/C
  • Release Tool/Test Probe: 15315247/J-35616-19 (BK)

X205 Glove Box Assembly to the I/P Harness

Pin

Wire Color

Circuit No.

Function

Pin

Wire Color

Circuit No.

Function

1

0.85 OG

9353

Courtesy Lamps Supply Voltage

1

0.85 OG

9353

Courtesy Lamps Supply Voltage

2

--

--

Not Used

2

--

--

Not Used

3

0.85 BK/WH

1450

Ground

3

0.85 BK

1450

Ground

4-5

--

--

Not Used

4-5

--

--

Not Used

6

0.3 D-BU

9345

Rear Compartment Lid Release Switch

6

0.3 D-BU

9345

Rear Compartment Lid Release Switch

7-9

--

--

Not Used

7-9

--

--

Not Used

10

0.5 OG/WH

2340

Battery Positive Voltage

10

0.5 OG/WH

2340

Battery Positive Voltage

11

0.5 BK/WH

1050

Ground

11

0.5 BK

1050

Ground

12

0.5 L-GN

5060

Low Speed GMLAN Serial Data

12

0.5 D-GN

5060

Low Speed GMLAN Serial Data

13

0.3 PK/BK

2062

Navigation Mono Audio Signal (+)

13

0.3 PK/BK

2062

Navigation Mono Audio Signal (+)

14

0.3 OG/BK

2061

Navigation Mono Audio Signal (-)

14

0.3 OG/BK

2061

Navigation Mono Audio Signal (-)

15

--

--

Not Used

15

--

--

Not Used

X206 Front Body Harness to the Body Harness


Object Number: 1989549  Size: CH

Object Number: 1989546  Size: CH

Connector Part Information

  • OEM: 7283-1683
  • Service: See Catalog
  • Description: 38-Way F (WH)

Connector Part Information

  • OEM: 7282-1683
  • Service: See Catalog
  • Description: 38-Way M (WH)

Terminal Part Information

  • Pin: 1
  • Terminal/Tray: 7116-3251/10
  • Core/Insulation Crimp: F/3
  • Release Tool/Test Probe: 12094430/J-35616-22 (RD)
  • Pin: 3
  • Terminal/Tray: 7116-4031/11
  • Core/Insulation Crimp: C/A
  • Release Tool/Test Probe: 12094430/J-35616-40 (BU)
  • Pin: 5
  • Terminal/Tray: 7116-4031/11
  • Core/Insulation Crimp: C/E/A
  • Release Tool/Test Probe: 12094430/J-35616-40 (BU)
  • Pins: 6, 13, 23-25, 36-38
  • Terminal/Tray: 7116-4020/11
  • Core/Insulation Crimp: E/C
  • Release Tool/Test Probe: 15315247/J-35616-18 (BK)
  • Pins: 7, 12, 28
  • Terminal/Tray: 7116-4021/11
  • Core/Insulation Crimp: E/A
  • Release Tool/Test Probe: 15315247/J-35616-18 (BK)
  • Pins: 16-22, 31-35
  • Terminal/Tray: 7116-4231-08/14
  • Core/Insulation Crimp: E/C
  • Release Tool/Test Probe: 15315247/J-35616-64B (L-BU)

Terminal Part Information

  • Pin: 1
  • Terminal/Tray: 7114-3251/14
  • Core/Insulation Crimp: F/3
  • Release Tool/Test Probe: 12094430/J-35616-21 (RD)
  • Pin: 3
  • Terminal/Tray: 7114-4031/11
  • Core/Insulation Crimp: C/A
  • Release Tool/Test Probe: 12094430/J-35616-41 (BU)
  • Pin: 5
  • Terminal/Tray: 7114-4031/11
  • Core/Insulation Crimp: E/A
  • Release Tool/Test Probe: 12094430/J-35616-41 (BU)
  • Pins: 6, 13, 23-25, 36-38
  • Terminal/Tray: 7114-4020/10
  • Core/Insulation Crimp: E/C
  • Release Tool/Test Probe: 15315247/J-35616-19 (BK)
  • Pins: 7, 12, 28
  • Terminal/Tray: 7114-4021/10
  • Core/Insulation Crimp: E/A
  • Release Tool/Test Probe: 15315247/J-35616-19 (BK)
  • Pins: 16-18, 20-22, 31-35
  • Terminal/Tray: 7114-4231-08/14
  • Core/Insulation Crimp: E/C
  • Release Tool/Test Probe: 15315247/J-35616-65B (L-BU)

X206 Front Body Harness to the Body Harness

Pin

Wire Color

Circuit No.

Function

Pin

Wire Color

Circuit No.

Function

1

3 PU

293

Rear Defog Element Supply Voltage

1

3 PU

293

Rear Defog Element Supply Voltage

2

0.3 BN

6581

Object Sensor Supply Voltage

2

0.3 BN

6581

Object Sensor Supply Voltage

3

0.85 L-GN

24

Backup Lamp Supply Voltage

3

0.85 L-GN

24

Backup Lamp Supply Voltage

4

--

--

Not Used

4-5

--

--

Not Used

6

0.3 L-BU

1937

Fuel Level Sensor

6

0.3 L-BU

1937

Fuel Level Sensor

7

0.85 BN/WH

309

Lamp Supply Voltage

7

0.85 BN/WH

309

Lamp Supply Voltage

8-11

0.3 OG/BK

5214

Object Sensor Low Reference

8

0.3 OG/BK

5214

Object Sensor Low Reference

8-11

--

--

Not Used

9-10

--

--

Not Used

8-11

0.3 OG/BK

5208

Headlamp Leveling Sensor Wire 2

11

0.3 OG/BK

5208

Headlamp Leveling Sensor Wire 2

12

0.85 PU

709

Left Park Lamp Supply Voltage

12

0.85 PU

709

Left Park Lamp Supply Voltage

13

0.5 PK/BU

339

Ignition 1 Voltage

13

0.5 PK/BU

339

Ignition 1 Voltage

14-15

0.3 PU/WH

5218

RF Middle Object Sensor Signal

14

0.3 PU/WH

5218

RF Middle Object Sensor Signal

14-15

0.3 BN/WH

5217

RF Corner Object Sensor Signal

15

0.3 BN/WH

5217

RF Corner Object Sensor Signal

16

--

--

Not Used

16

--

--

Not Used

17

0.5 BN/BK

884

Left Rear Wheel Speed Sensor Signal

17

0.5 BN/BK

884

Left Rear Wheel Speed Sensor Signal

18

0.5 GY

7128

Wheel Speed Sensor Supply Voltage Right Rear

18

0.5 GY

7128

Wheel Speed Sensor Supply Voltage Right Rear

19

0.3 BN/YE

452

Low Reference

19

0.3 BN/YE

452

Low Reference

20

0.3 GY

5600

Discriminating Sensor - Low Reference

20

0.3 GY

5600

Discriminating Sensor - Low Reference

21

0.3 YE

354

Discriminating Sensor - Signal

21

0.3 YE

354

Discriminating Sensor - Signal

22

0.3 D-GN/WH

1317

Fog Lamp Relay Control

22

0.3 D-GN/WH

1317

Fog Lamp Relay Control

23

0.5 BN/WH

2086

Yaw Rate Sensor Test Control

23

0.5 BN/WH

2086

Yaw Rate Sensor Test Control

24

--

--

Not Used

24-25

--

--

Not Used

26-27

0.3 L-GN/WH

5210

Headlamp Leveling Sensor Wire 3

26

0.3 L-GN/WH

5210

Headlamp Leveling Sensor Wire 3

26-27

0.3 L-GN/BK

5209

Headlamp Leveling Sensor Wire 1

27

0.3 L-GN/BK

5209

Headlamp Leveling Sensor Wire 1

28

0.85 OG/BK

540

Battery Positive Voltage

28

0.85 OG/BK

540

Battery Positive Voltage

29-30

0.3 WH

5216

LF Middle Object Sensor Signal

29

0.3 WH

5216

LF Middle Object Sensor Signal

29-30

0.3 PU/WH

5215

LF Corner Object Sensor Signal

30

0.3 PU/WH

5215

LF Corner Object Sensor Signal

31

0.5 GY

7127

Wheel Speed Sensor Supply Voltage Left Rear

31

0.5 GY

7127

Wheel Speed Sensor Supply Voltage Left Rear

32

0.5 BN

882

Right Rear Wheel Speed Sensor Signal

32

0.5 BN

882

Right Rear Wheel Speed Sensor Signal

33

0.3 PU

1589

Fuel Level Sensor Signal (Primary)

33

0.3 PU

1589

Fuel Level Sensor Signal (Primary)

34

0.3 D-GN

1409

Discriminating Sensor - Signal

34

0.3 D-GN

1409

Discriminating Sensor - Signal

35

0.3 BN/YE

5045

Discriminating Sensor - Low Reference

35

0.3 BN/YE

5045

Discriminating Sensor - Low Reference

36

0.5 D-GN

2087

Steering Wheel Position Sensor 5-V Reference

36

0.5 D-GN

2087

Steering Wheel Position Sensor 5-V Reference

37

0.5 L-GN/BK

5352

Yaw Rate Sensor Test Control

37

0.5 L-GN/BK

5352

Yaw Rate Sensor Test Control

38

0.5 PU/WH

1699

Combined Vehicle Inertial Sensor Signal

38

0.5 PU/WH

1699

Combined Vehicle Inertial Sensor Signal

X207 I/P Harness to the Body Harness


Object Number: 2091152  Size: CH

Object Number: 2091154  Size: CH

Connector Part Information

  • OEM: 7283-4325
  • Service:See Catalog
  • Description: 12-Way F (WH)

Connector Part Information

  • OEM: 7282-4325
  • Service: See Catalog
  • Description: 12-Way M (WH)

Terminal Part Information

  • Terminal/Tray: 7116-4020/11
  • Core/Insulation Crimp: E/C
  • Release Tool/Test Probe: 15315247/J-35616-18 (BK)

Terminal Part Information

  • Terminal/Tray: 7114-4020/10
  • Core/Insulation Crimp: E/C
  • Release Tool/Test Probe: 15315247/J-35616-19 (BK)

X207 I/P Harness to the Body Harness

Pin

Wire Color

Circuit No.

Function

Pin

Wire Color

Circuit No.

Function

1

0.5 OG/WH

2340

Battery Positive Voltage

1

0.5 OG/WH

2340

Battery Positive Voltage

2

0.5 PK/BU

1339

Ignition 1 Voltage (KA1)

2

0.5 PK/BU

1339

Ignition 1 Voltage (KA1)

3

--

--

Not Used

3

--

--

Not Used

4

0.35 D-GN

5060

Low Speed GMLAN Serial Data

4

0.35 D-GN

5060

Low Speed GMLAN Serial Data

5

0.5 BK

1050

Ground

5

0.5 BK

1050

Ground

6-7

--

--

Not Used

6-7

--

--

Not Used

8

0.5 BN

372

Remote Radio Audio Output (-)

8

0.5 BN

372

Remote Radio Audio Output (-)

9

0.5 D-GN

7007

Left Radio Audio Output

9

0.5 D-GN

7007

Left Radio Audio Output

10

0.35 BK

1573

Battery Positive Voltage

10

0.35 BK

1573

Battery Positive Voltage

11

0.5 GY

388

Remote Radio Right Audio Signal

11

0.5 GY

388

Remote Radio Right Audio Signal

12

0.5 GY

7008

Right Radio Audio Output

12

0.5 GY

7008

Right Radio Audio Output

X208


Object Number: 1989553  Size: CH

Object Number: 1989551  Size: CH

Connector Part Information

  • OEM:
  • Service: See Catalog
  • Description: 2-Way F

Connector Part Information

  • OEM:
  • Service: See Catalog
  • Description: 2-Way M

Terminal Part Information

  • Terminal/Tray: See Terminal Repair Kit
  • Core/Insulation Crimp: See Terminal Repair Kit
  • Release Tool/Test Probe:See Terminal Repair Kit

Terminal Part Information

  • Terminal/Tray: See Terminal Repair Kit
  • Core/Insulation Crimp: See Terminal Repair Kit
  • Release Tool/Test Probe :See Terminal Repair Kit

X208

Pin

Wire Color

Circuit No.

Function

Pin

Wire Color

Circuit No.

Function

1

5 RD/YE

 

Battery Positive Voltage

1

5 RD/YE

 

Battery Positive Voltage

2

2 RD/BU

 

Battery Positive Voltage

2

2 RD/BU

 

Battery Positive Voltage

X210 Rear Body Harness to the Rear Latch Assembly Harness


Object Number: 1989557  Size: CH

Object Number: 1989555  Size: CH

Connector Part Information

  • OEM: 7283-7040-10
  • Service: See Catalog
  • Description: 4-Way F

Connector Part Information

  • OEM: 7282-7040-10
  • Service: See Catalog
  • Description: 4-Way M

Terminal Part Information

  • Terminal/Tray: See Terminal Repair Kit
  • Core/Insulation Crimp: See Terminal Repair Kit
  • Release Tool/Test Probe: See Terminal Repair Kit

Terminal Part Information

  • Terminal/Tray: See Terminal Repair Kit
  • Core/Insulation Crimp: See Terminal Repair Kit
  • Release Tool/Test Probe: See Terminal Repair Kit

X210 Rear Body Harness to the Rear Latch Assembly Harness

Pin

Wire Color

Circuit No.

Function

Pin

Wire Color

Circuit No.

Function

1

0.5 OG/BK

744

Park/Neutral Signal

1

0.5 OG/BK

744

Park/Neutral Signal

2

0.5 BK

737

Ignition 1 Voltage

2

0.5 BK

737

Ignition 1 Voltage

3

0.5 BN/WH

56

Cruise Control Disable Clutch Switch Signal

3

0.5 BN/WH

56

Cruise Control Disable Clutch Switch Signal

4

0.5 PK/BU

1350

Ground

4

0.5 PK/BU

1350

Ground

X212 Headliner Harness to the I/P Harness


Object Number: 1989561  Size: CH

Object Number: 1989559  Size: CH

Connector Part Information

  • OEM: 7183-9840-40
  • Service: See Catalog
  • Description: 18-Way F (GY)

Connector Part Information

  • OEM: 7182-9840-40
  • Service: See Catalog
  • Description: 18-Way M (GY)

Terminal Part Information

  • Terminal/Tray: See Terminal Repair Kit
  • Core/Insulation Crimp: See Terminal Repair Kit
  • Release Tool/Test Probe: See Terminal Repair Kit

Terminal Part Information

  • Terminal/Tray: See Terminal Repair Kit
  • Core/Insulation Crimp: See Terminal Repair Kit
  • Release Tool/Test Probe: See Terminal Repair Kit

X212 Headliner Harness to the I/P Harness

Pin

Wire Color

Circuit No.

Function

Pin

Wire Color

Circuit No.

Function

1

0.3 BN

481

Outside Moisture Sensor Signal 1

1

0.3 BN

481

Outside Moisture Sensor Signal 1

2

0.3 L-GN

482

Outside Moisture Sensor Signal 2

2

0.3 L-GN

482

Outside Moisture Sensor Signal 2

3

0.3 GY/BK

7043

Microphone Signal

3

0.3 D-BU

7043

Microphone Signal

4

0.5 L-BU

20

Stop Lamp Supply Voltage

4

0.5 L-BU

20

Stop Lamp Supply Voltage

5

0.3 WH/RD

6821

Surv SW

5

0.3 WH/RD

6821

Surv SW

6

0.3 PK/BK

7044

Microphone Return

6

0.3 PK/BK

7044

Microphone Return

7

0.3 PU

328

Interior Lamp Switch Signal

7

0.3 PU

328

Interior Lamp Switch Signal

8

0.3 PK/BK

1597

Courtesy Lamps Switch On Signal

8

0.3 PK/BK

1597

Courtesy Lamps Switch On Signal

9

0.3 YE

6817

LED Backlight Dimming Control

9

0.3 YE

6817

LED Backlight Dimming Control

10

0.5 D-BU/WH

149

Courtesy Lamp Supply Voltage

10

0.5 D-BU/WH

149

Courtesy Lamp Supply Voltage

11

1.25 BK

850

Ground

11

1.25 BK

850

Ground

12

1.25 OG/BU

3040

Battery Positive Voltage

12

1.25 OG/BU

3040

Battery Positive Voltage

13

0.5 OG

1732

Courtesy Lamps Supply Voltage

13

0.5 OG

1732

Courtesy Lamps Supply Voltage

14

1.25 BK/WH

851

Ground

14

1.25 BK

851

Ground

15

0.5 BN

443

Accessory Voltage

15

0.5 BN

443

Accessory Voltage

16

0.5 OG/WH

1840

Battery Positive Voltage

16

0.5 OG/WH

1840

Battery Positive Voltage

17-18

--

--

Not Used

17-18

--

--

Not Used

X213 Headliner Harness to the Instrument Panel Harness


Object Number: 1989564  Size: CH

Object Number: 1989565  Size: CH

Connector Part Information

  • OEM: 6-968971-1
  • Service: See Catalog
  • Description: 9-Way F

Connector Part Information

  • OEM: 3-967626-1
  • Service: See Catalog
  • Description: 9-Way M

Terminal Part Information

  • Terminal/Tray: See Terminal Repair Kit
  • Core/Insulation Crimp: See Terminal Repair Kit
  • Release Tool/Test Probe: See Terminal Repair Kit

Terminal Part Information

  • Terminal/Tray: See Terminal Repair Kit
  • Core/Insulation Crimp: See Terminal Repair Kit
  • Release Tool/Test Probe: See Terminal Repair Kit

X213 Headliner Harness to the Instrument Panel Harness

Pin

Wire Color

Circuit No.

Function

Pin

Wire Color

Circuit No.

Function

1

0.3 PK

367

Left Audio Signal (+)

1

0.3 PK

367

Left Audio Signal (+)

2

0.3 D-GN/WH

1547

Common Audio Signal (-)

2

0.3 D-GN/WH

1547

Common Audio Signal (-)

3

0.3 D-GN

5060

Low Speed GMLAN Serial Data

3

0.3 D-GN

5060

Low Speed GMLAN Serial Data

4

0.3 D-BU

368

Right Audio Signal (+)

4

0.3 D-BU

368

Right Audio Signal (+)

5

--

--

Not Used

5

--

--

Not Used

6

0.5 OG/YE

4540

Battery Positive Voltage

6

0.5 OG/YE

4540

Battery Positive Voltage

7

2 BK

1050

Ground

7

2 BK

1050

Ground

8

0.3 RD

5334

DVD Video Signal (+)

8

0.3 RD

5334

DVD Video Signal (+)

9

0.3 WH/BK

5335

DVD Video Signal (-)

9

0.3 WH/BK

5335

DVD Video Signal (-)

X218 Body Harness to the Body Harness


Object Number: 1989272  Size: CH

Object Number: 1989266  Size: CH

Connector Part Information

  • OEM: 7283-1160
  • Service: See Catalog
  • Description: 16-Way F

Connector Part Information

  • OEM: 7282-1160
  • Service: See Catalog
  • Description: 16-Way M

Terminal Part Information

  • Terminal/Tray: See Terminal Repair Kit
  • Core/Insulation Crimp: See Terminal Repair Kit
  • Release Tool/Test Probe:See Terminal Repair Kit

Terminal Part Information

  • Terminal/Tray: See Terminal Repair Kit
  • Core/Insulation Crimp: See Terminal Repair Kit
  • Release Tool/Test Probe: See Terminal Repair Kit

X218 Body Harness to the Body Harness

Pin

Wire Color

Circuit No.

Function

Pin

Wire Color

Circuit No.

Function

1

0.85 L-GN

200

Right Front Speaker Output (+)

1

0.85 L-GN

200

Right Front Speaker Output (+)

2

0.85 D-GN

117

Right Front Speaker Output (-)

2

0.85 D-GN

117

Right Front Speaker Output (-)

3

0.5 D-BU

546

Right Rear Speaker Output (+)

3

0.5 D-BU

546

Right Rear Speaker Output (+)

4

0.5 BN/BU

1946

Right Rear Speaker Output (-)

4

0.5 BN/BU

1946

Right Rear Speaker Output (-)

5

0.85 L-BU

1960

Front Centre Speaker Output (-)

5

0.85 L-BU

1960

Front Centre Speaker Output (-)

6

0.85 YE

1860

Front Centre Speaker Output (+)

6

0.85 YE

1860

Front Centre Speaker Output (+)

7

0.5 L-GN/WH

512

Right Front Speaker Output (+)

7

0.5 L-GN/WH

512

Right Front Speaker Output (+)

8

0.5 L-GN

1948

Right Front Speaker Output (-)

8

0.5 L-GN

1948

Right Front Speaker Output (-)

9

0.85 L-BU

115

Right Rear Speaker Output (-)

9

0.85 L-BU

115

Right Rear Speaker Output (-)

10

0.85 D-BU

46

Right Rear Speaker Output (+)

10

0.85 D-BU

46

Right Rear Speaker Output (+)

11

0.5 OG/BK

 

Roof Centre Speaker Output (-)

11

0.5 OG/BK

 

Roof Centre Speaker Output (-)

12

0.5 OG

 

Roof Centre Speaker Output (+)

12

0.5 OG

 

Roof Centre Speaker Output (+)

13

0.5 BN

1999

Left Rear Speaker Output (-)

13

0.5 BN

1999

Left Rear Speaker Output (-)

14

0.5 BN/WH

599

Left Rear Speaker Output (+)

14

0.5 BN/WH

599

Left Rear Speaker Output (+)

15

0.5 D-GN

1947

Left Front Speaker Output (-)

15

0.5 D-GN

1947

Left Front Speaker Output (-)

16

0.5 BN/OG

511

Left Front Speaker Output (+)

16

0.5 BN/OG

511

Left Front Speaker Output (+)

X220 I/P Harness to the Body Harness (LHD)


Object Number: 1989315  Size: CH

Object Number: 1989645  Size: CH

Connector Part Information

  • OEM: 7283-7166
  • Service: See Catalog
  • Description: 6-Way F (WH)

Connector Part Information

  • OEM: 7282-1060
  • Service: See Catalog
  • Description: 6-Way M 090 II Series (WH)

Terminal Part Information

  • Terminal/Tray: 7116-4020/11
  • Core/Insulation Crimp: E/C
  • Release Tool/Test Probe: 15315247/J-35616-18 (BK)

Terminal Part Information

  • Terminal/Tray: 7114-4020/10
  • Core/Insulation Crimp: E/C
  • Release Tool/Test Probe: 15315247/J-35616-19 (BK)

X220 I/P Harness to the Body Harness (LHD)

Pin

Wire Color

Circuit No.

Function

Pin

Wire Color

Circuit No.

Function

1

--

--

Not Used

1

--

--

Not Used

2

0.5 OG/BK

233

Park Brake Switch Signal

2

0.5 OG/BK

233

Park Brake Switch Signal

3

0.5 PK/BK

780

Driver Door Lock Switch Lock Signal

3

0.5 PK/BK

780

Driver Door Lock Switch Lock Signal

4

0.3 PK

781

Driver Door Lock Switch Unlock Signal

4

0.3 PK

781

Driver Door Lock Switch Unlock Signal

5

--

--

Not Used

5

--

--

Not Used

6

0.3 GY/BK

745

Left Front Door Ajar Switch Signal

6

0.3 GY/BK

745

Left Front Door Ajar Switch Signal

X223 I/P Harness to the Console Ground


Object Number: 1989279  Size: CH

Object Number: 1989275  Size: CH

Connector Part Information

  • OEM: 7283-7014
  • Service: See Catalog
  • Description: 1-Way F (BK)

Connector Part Information

  • OEM: 7282-7014
  • Service: See Catalog
  • Description: 1-Way M (WH)

Terminal Part Information

  • Terminal/Tray: 7116-4022/11
  • Core/Insulation Crimp: 4/A
  • Release Tool/Test Probe: 15315247/J-35616-18 (BK)

Terminal Part Information

  • Terminal/Tray: See Terminal Repair Kit
  • Core/Insulation Crimp: See Terminal Repair Kit
  • Release Tool/Test Probe: See Terminal Repair Kit

X223 I/P Harness to the Console Ground

Pin

Wire Color

Circuit No.

Function

Pin

Wire Color

Circuit No.

Function

1

2 BK

1050

Ground

1

2 BK

1050

Ground

X225


Object Number: 1989284  Size: CH

Object Number: 1989281  Size: CH

Connector Part Information

  • OEM:
  • Service: See Catalog
  • Description: 10-Way F

Connector Part Information

  • OEM:
  • Service: See Catalog
  • Description: 10-Way M

Terminal Part Information

  • Terminal/Tray: See Terminal Repair Kit
  • Core/Insulation Crimp: See Terminal Repair Kit
  • Release Tool/Test Probe:See Terminal Repair Kit

Terminal Part Information

  • Terminal/Tray: See Terminal Repair Kit
  • Core/Insulation Crimp: See Terminal Repair Kit
  • Release Tool/Test Probe: See Terminal Repair Kit

X225

Pin

Wire Color

Circuit No.

Function

Pin

Wire Color

Circuit No.

Function

1

0.3 RD

 

Video Connector - R

1

0.3 RD

 

Video Connector - R

2

0.3 D-GN

 

Video Connector - G

2

0.3 D-GN

 

Video Connector - G

3

0.3 WH

 

Video Connector - B

3

0.3 WH

 

Video Connector - B

4

0.3 BK

 

Ground

4

0.3 BK

 

Ground

5

0.3 YE

 

Video Connector - Sync

5

0.3 YE

 

Video Connector - Sync

6

0.3 BK

 

Drain Wire

6

0.3 BK

 

Drain Wire

7-10

--

--

Not Used

7-10

--

--

Not Used

X226 Gauge Assembly to the I/P Harness (HSV)


Object Number: 1989315  Size: CH

Object Number: 1989645  Size: CH

Connector Part Information

  • OEM: 7283-1060
  • Service: See Catalog
  • Description: 6-Way F

Connector Part Information

  • OEM: 7282-1060
  • Service: See Catalog
  • Description: 6-Way M

Terminal Part Information

  • Terminal/Tray: See Terminal Repair Kit
  • Core/Insulation Crimp: See Terminal Repair Kit
  • Release Tool/Test Probe: See Terminal Repair Kit

Terminal Part Information

  • Terminal/Tray: See Terminal Repair Kit
  • Core/Insulation Crimp: See Terminal Repair Kit
  • Release Tool/Test Probe: See Terminal Repair Kit

X226 Gauge Assembly to the I/P Harness (HSV)

Pin

Wire Color

Circuit No.

Function

Pin

Wire Color

Circuit No.

Function

1

0.5 L-BU/WH

5986

Communication Enable Relay Supply Voltage

1

0.5 L-BU/WH

5986

Communication Enable Relay Supply Voltage

2

0.3 YE

1080

LED Backlight Dimming Control

2

0.3 YE

1080

LED Backlight Dimming Control

3

0.5 PK/BU

1339

Ignition 1 Voltage

3

0.5 PK/BU

1339

Ignition 1 Voltage

4

0.5 BK

1450

Ground

4

0.5 BK

1450

Ground

5

0.5 BN/BK

2500

High Speed GMLAN Serial Data Bus+

5

0.5 BN/BK

2500

High Speed GMLAN Serial Data Bus+

6

0.5 BN

2501

High Speed GMLAN Serial Data Bus-

6

0.5 BN

2501

High Speed GMLAN Serial Data Bus-

X227 Steering Angle Sensor Assembly to the I/P Harness


Object Number: 1989315  Size: CH

Object Number: 1989645  Size: CH

Connector Part Information

  • OEM: 7283-1060
  • Service: See Catalog
  • Description: 6-Way F 090 II Series (WH)

Connector Part Information

  • OEM: 7282-1060
  • Service: See Catalog
  • Description: 6-Way M (WH)

Terminal Part Information

  • Terminal/Tray: See Terminal Repair Kit
  • Core/Insulation Crimp: See Terminal Repair Kit
  • Release Tool/Test Probe: See Terminal Repair Kit

Terminal Part Information

  • Terminal/Tray: See Terminal Repair Kit
  • Core/Insulation Crimp: See Terminal Repair Kit
  • Release Tool/Test Probe: See Terminal Repair Kit

X227 Steering Angle Sensor Assembly to the I/P Harness

Pin

Wire Color

Circuit No.

Function

Pin

Wire Color

Circuit No.

Function

1

0.35 PU

2501

High Speed Gmlan Serial Data Bus -

1

0.35 BN

2501

High Speed Gmlan Serial Data Bus -

2

0.35 D-BU

2501

High Speed Gmlan Serial Data Bus -

2

0.35 BN

2501

High Speed Gmlan Serial Data Bus -

3

0.35 GY

2500

High Speed Gmlan Serial Data Bus +

3

0.35 BN/BK

2500

High Speed Gmlan Serial Data Bus +

4

0.35 BN/BK

2500

High Speed Gmlan Serial Data Bus +

4

0.35 BN/BK

2500

High Speed Gmlan Serial Data Bus +

5

0.5 L-GN

5986

Communication Enable Relay Supply Voltage

5

0.5 L-BU

5986

Communication Enable Relay Supply Voltage

6

0.5 OG

2088

Steering Wheel Position Sensor Low Reference

6

0.5 BK/BU

2088

Steering Wheel Position Sensor Low Reference

X228 I/P Harness to the I/P Harness


Object Number: 1989493  Size: CH

Object Number: 1989490  Size: CH

Connector Part Information

  • OEM: 7123-4123-30
  • Service: 88953301
  • Description: 2-Way F L Type (BK)

Connector Part Information

  • OEM: 7122-4123-30
  • Service: See Catalog
  • Description: 2-Way M 58 L-Type (BK)

Terminal Part Information

  • Terminal/Tray: 7116-3250/10
  • Core/Insulation Crimp: G/3
  • Release Tool/Test Probe: 12094430/J-35616-22 (RD)

Terminal Part Information

  • Terminal/Tray: 7114-3250/14
  • Core/Insulation Crimp: G/3
  • Release Tool/Test Probe: 12094430/J-35616-21 (RD)

X228 I/P Harness to the I/P Harness

Pin

Wire Color

Circuit No.

Function

Pin

Wire Color

Circuit No.

Function

1

5 RD

9370

Battery Positive Voltage

1

5 RD

242

Battery Positive Voltage

2

5 RD/BK

9371

Battery Positive Voltage

2

5 RD/BK

642

Battery Positive Voltage

X229 I/P Harness to the I/P Harness


Object Number: 1989298  Size: CH

Object Number: 1989296  Size: CH

Connector Part Information

  • OEM: 7283-1194
  • Service: See Catalog
  • Description: 19-Way F 090 II Series (WH)

Connector Part Information

  • OEM: 7282-1194
  • Service: See Catalog
  • Description: 19-Way M 090 II Series (WH)

Terminal Part Information

  • Pins: 1, 3, 6, 8, 17-19
  • Terminal/Tray: 7116-4020/11
  • Core/Insulation Crimp: E/C
  • Release Tool/Test Probe: 15315247/J-35616-18 (BK)
  • Pin: 4
  • Terminal/Tray: 7116-4021/11
  • Core/Insulation Crimp: E/A
  • Release Tool/Test Probe: 15315247/J-35616-18 (BK)
  • Pin: 9
  • Terminal/Tray: 7116-4021/11
  • Core/Insulation Crimp: 2/A
  • Release Tool/Test Probe: 15315247/J-35616-18 (BK)

Terminal Part Information

  • Pins: 1, 3, 6, 8, 17-19
  • Terminal/Tray: 7114-4020/10
  • Core/Insulation Crimp: E/C
  • Release Tool/Test Probe: 15315247/J-35616-19 (BK)
  • Pin: 4
  • Terminal/Tray: 7114-4021/10
  • Core/Insulation Crimp: E/A
  • Release Tool/Test Probe: 15315247/J-35616-19 (BK)
  • Pin: 9
  • Terminal/Tray: 7114-4021/10
  • Core/Insulation Crimp: 2/A
  • Release Tool/Test Probe: 15315247/J-35616-19 (BK)

X229 I/P Harness to the I/P Harness

Pin

Wire Color

Circuit No.

Function

Pin

Wire Color

Circuit No.

Function

1

0.85 OG

1732

Courtesy Lamps Supply Voltage

1

0.85 OG

1732

Courtesy Lamps Supply Voltage

2

0.5 D-GN

7392

A/C Compressor Supply Voltage

2

0.5 D-GN

7392

A/C Compressor Supply Voltage

3

0.75 OG/GN

2240

Battery Positive Voltage

3

0.75 OG/GN

2240

Battery Positive Voltage

4

0.3 D-BU

6189

Rear Compartment Relay Switch

4

0.3 D-BU

6189

Rear Compartment Relay Switch

5

1.25 BN/RD

694

Driver Door Lock Actuator Unlock Control

5

1.25 BN/RD

694

Driver Door Lock Actuator Unlock Control

6

0.5 D-BU

7393

AC Compressor Low Reference

6

0.5 D-BU

7393

AC Compressor Low Reference

7

2 OG/BU

1540

Battery Positive Voltage

7

2 OG/BU

1540

Battery Positive Voltage

8

0.3 WH/BU

193

Rear Defog Relay Control

8

0.3 WH/BU

193

Rear Defog Relay Control

9

0.3 L-BU

5921

Driver Door/Fuel Door Unlock Control

9

0.3 L-BU

5921

Driver Door/Fuel Door Unlock Control

10

0.3 D-BU/WH

195

Door Lock Relay Control

10

0.3 D-BU/WH

195

Door Lock Relay Control

11

--

--

Not Used

11

--

--

Not Used

12

0.3 WH

194

Door Unlock Control

12

0.3 WH

194

Door Unlock Control

13

--

--

Not Used

13

--

--

Not Used

14

0.85 OG/BU

1240

Battery Positive Voltage

14

0.85 OG/BU

1240

Battery Positive Voltage

15

0.3 L-GN/BK

735

Ambient Air Temperature Sensor Signal

15

0.3 L-GN/BK

735

Ambient Air Temperature Sensor Signal

16

0.85 OG/YE

1640

Battery Positive Voltage

16

0.85 OG/YE

1640

Battery Positive Voltage

17

1.25 OG

240

Battery Positive Voltage

17

1.25 OG

240

Battery Positive Voltage

18

0.85 D-BU/WH

149

Courtesy Lamp Supply Voltage

18

0.85 D-BU/WH

149

Courtesy Lamp Supply Voltage

19

--

--

Not Used

19

--

--

Not Used

X236 Electronic Suspension Assembly to the Body Harness (HSV)


Object Number: 1989287  Size: CH

Object Number: 1989285  Size: CH

Connector Part Information

  • OEM: 7283-4325
  • Service: See Cataolg
  • Description: 12-Way F

Connector Part Information

  • OEM: 7282-4325
  • Service: See Catalog
  • Description: 12-Way M

Terminal Part Information

  • Terminal/Tray: See Terminal Repair Kit
  • Core/Insulation Crimp: See Terminal Repair Kit
  • Release Tool/Test Probe:See Terminal Repair Kit

Terminal Part Information

  • Terminal/Tray: See Terminal Repair Kit
  • Core/Insulation Crimp: See Terminal Repair Kit
  • Release Tool/Test Probe: See Terminal Repair Kit

X236 Electronic Suspension Assembly to the Body Harness (HSV)

Pin

Wire Color

Circuit No.

Function

Pin

Wire Color

Circuit No.

Function

1

0.35 GY

1209

Left Rear Suspension Position Sensor Signal

1

0.35 GY

1209

Left Rear Suspension Position Sensor Signal

2

0.35 GY/WH

1208

Left Rear Suspension Position Sensor Voltage Reference

2

0.35 GY/WH

1208

Left Rear Suspension Position Sensor Voltage Reference

3

0.35 BN

1216

Right Rear Suspension Position Sensor Signal

3

0.35 BN

1216

Right Rear Suspension Position Sensor Signal

4

0.35 BN/WH

1214

Right Rear Suspension Position Sensor Voltage Reference

4

0.35 BN/WH

1214

Right Rear Suspension Position Sensor Voltage Reference

5

0.75 WH/RD

1114

Left Rear Damper Control

5

0.75 WH/RD

1114

Left Rear Damper Control

6

0.75 WH/BK

1115

Left Rear Damper Low Reference

6

0.75 WH/BK

1115

Left Rear Damper Low Reference

7

0.35 GY/BK

1209

Left Rear Suspension Position Sensor Low Reference

7

0.35 GY/BK

1209

Left Rear Suspension Position Sensor Low Reference

8-9

--

--

Not Used

8-9

--

--

Not Used

10

0.75 L-GN/RD

1118

Right Rear Damper Control

10

0.75 L-GN/RD

1118

Right Rear Damper Control

11

0.75 L-GN/BK

1119

Right Rear Damper Low Reference

11

0.75 L-GN/BK

1119

Right Rear Damper Low Reference

12

0.35 BN/BK

1215

Right Rear Suspension Position Sensor Low Reference

12

0.35 BN/BK

1215

Right Rear Suspension Position Sensor Low Reference

X237 Electronic Suspension Assembly to the I/P Harness (HSV)


Object Number: 1989291  Size: CH

Object Number: 1989288  Size: CH

Connector Part Information

  • OEM: 7283-1248
  • Service: See Catalog
  • Description: 24-Way F

Connector Part Information

  • OEM: 7282-1248
  • Service: See Catalog
  • Description: 24-Way M

Terminal Part Information

  • Terminal/Tray: See Terminal Repair Kit
  • Core/Insulation Crimp: See Terminal Repair Kit
  • Release Tool/Test Probe: See Terminal Repair Kit

Terminal Part Information

  • Terminal/Tray: See Terminal Repair Kit
  • Core/Insulation Crimp: See Terminal Repair Kit
  • Release Tool/Test Probe: See Terminal Repair Kit

X237 Electronic Suspension Assembly to the I/P Harness (HSV)

Pin

Wire Color

Circuit No.

Function

Pin

Wire Color

Circuit No.

Function

1

0.5 L-BU

5986

Communication Enable Relay Supply Voltage

1

0.5 L-BU

5986

Communication Enable Relay Supply Voltage

2

0.5 BN

2501

High Speed GMLAN Serial Data Bus-

2

0.5 BN

2501

High Speed GMLAN Serial Data Bus-

3

0.5 BN/BK

2500

High Speed GMLAN Serial Data Bus+

3

0.5 BN/BK

2500

High Speed GMLAN Serial Data Bus+

4

0.5 YE/RD

1384

Electronic Suspension Control Switch Signal

4

0.5 YE/RD

1384

Electronic Suspension Control Switch Signal

5-6

--

--

Not Used

5-6

--

--

Not Used

7

0.5 BN

2501

High Speed GMLAN Serial Data Bus-

7

0.5 BN

2501

High Speed GMLAN Serial Data Bus-

8

0.5 BN/BK

2500

High Speed GMLAN Serial Data Bus+

8

0.5 BN/BK

2500

High Speed GMLAN Serial Data Bus+

9

0.5 YE/BK

370

Module Signal Error

9

0.5 YE/BK

370

Module Signal Error

10

0.5 YE/GN

1437

Firm LED Supply Voltage

10

0.5 YE/GN

1437

Firm LED Supply Voltage

11

0.3 D-GN/BK

1212

Right Front Suspension Position Sensor Low Reference

11

0.3 D-GN/BK

1212

Right Front Suspension Position Sensor Low Reference

12

0.3 D-GN

1213

Right Front Suspension Position Sensor Signal

12

0.3 D-GN

1213

Right Front Suspension Position Sensor Signal

13

0.3 D-GN/WH

1211

Right Front Suspension Position Sensor Voltage Reference

13

0.3 D-GN/WH

1211

Right Front Suspension Position Sensor Voltage Reference

14

2 RD/BU

2640

Battery Positive Voltage

14

2 RD/BU

2640

Battery Positive Voltage

15

2 BK

850

Ground

15

2 BK

850

Ground

16

0.3 D-BU/BK

1206

Left Front Suspension Position Sensor Low Reference

16

0.3 D-BU/BK

1206

Left Front Suspension Position Sensor Low Reference

17

0.3 D-BU

1207

Left Front Suspension Position Sensor Signal

17

0.3 D-BU

1207

Left Front Suspension Position Sensor Signal

18

0.3 D-BU/WH

1205

Left Front Suspension Position Sensor Voltage Reference

18

0.3 D-BU/WH

1205

Left Front Suspension Position Sensor Voltage Reference

19

0.75 PU

1116

Right Front Damper Control

19

0.75 PU

1116

Right Front Damper Control

20

0.75 PU/WH

1117

Right Front Damper Low Reference

20

0.75 PU/WH

1117

Right Front Damper Low Reference

21-22

--

--

Not Used

21-22

--

--

Not Used

23

0.75 PK

1107

Left Front Damper Control

23

0.75 PK

1107

Left Front Damper Control

24

0.75 PK/BK

1113

Left Front Damper Low Reference

24

0.75 PK/BK

1113

Left Front Damper Low Reference

X238 Indicator Assembly to the I/P Harness (HSV)

 
Object Number: 1989293  Size: CH

Connector Part Information

  • OEM: 7283-1100
  • Service: See Catalog
  • Description: 10-Way F

Connector Part Information

  • OEM: 7282-1100
  • Service: See Catalog
  • Description: 10-Way M

Terminal Part Information

  • Terminal/Tray: See Terminal Repair Kit
  • Core/Insulation Crimp: See Terminal Repair Kit
  • Release Tool/Test Probe: See Terminal Repair Kit

Terminal Part Information

  • Terminal/Tray: See Terminal Repair Kit
  • Core/Insulation Crimp: See Terminal Repair Kit
  • Release Tool/Test Probe: See Terminal Repair Kit

X238 Indicator Assembly to the I/P Harness (HSV)

Pin

Wire Color

Circuit No.

Function

Pin

Wire Color

Circuit No.

Function

1

0.3 YE

6817

Ground

1

0.3 YE

6817

Ground

2

0.5 L-BU

5986

Ground

2

0.5 L-BU

5986

Ground

3

0.5 YE/RD

1384

Electronic Suspension Control Switch Signal

3

0.5 YE/RD

1384

Electronic Suspension Control Switch Signal

4

0.5 BK

850

Ground

4

0.5 BK

850

Ground

5-6

--

--

Not Used

5-6

--

--

Not Used

7

0.5 YE/BK

370

Module Signal Error

7

0.5 YE/BK

370

Module Signal Error

8

0.85 YE/GN

1437

Firm LED Supply Voltage

8

0.85 YE/GN

1437

Firm LED Supply Voltage

9

0.5 BK

850

Ground

9

0.5 BK

850

Ground

10

0.5 BK

850

Ground

10

0.5 BK

850

Ground

X241 I/P Harness to the Driver Information Center Harness


Object Number: 1989304  Size: CH

Object Number: 1989301  Size: CH

Connector Part Information

  • OEM: 7283-1040
  • Service: See Catalog
  • Description: 4-Way F (WH)

Connector Part Information

  • OEM: 7282-1641
  • Service: See Catalog
  • Description: 4-Way M 090 II Series (WH)

Terminal Part Information

  • Terminal/Tray: 7116-4020/11
  • Core/Insulation Crimp: E/C
  • Release Tool/Test Probe: 15315247/J-35616-18 (BK)

Terminal Part Information

  • Terminal/Tray: 7114-4020/10
  • Core/Insulation Crimp: E/C
  • Release Tool/Test Probe: 15315247/J-35616-19 (BK)

X241 I/P Harness to the Driver Information Center Harness

Pin

Wire Color

Circuit No.

Function

Pin

Wire Color

Circuit No.

Function

1

0.35 D-GN

9205

Low Speed GMLAN Serial Data

1

0.35 D-GN

5060

Low Speed GMLAN Serial Data

2

0.5 OG/WH

1840

Battery Positive Voltage

2

0.5 RD/WH

1840

Battery Positive Voltage

3

0.5 BK

1450

Ground

3

0.3 BK

1450

Ground

4

--

--

Not Used

4

--

--

Not Used

X253 I/P Harness to the Body Harness


Object Number: 1989311  Size: CH

Object Number: 1989308  Size: CH

Connector Part Information

  • OEM: 7183-7297-70
  • Service: 15306186
  • Description: 4-Way F Metri-Pack 280 Series (YE)

Connector Part Information

  • OEM: 7182-7297-70
  • Service: See Catalog
  • Description: 4-Way M (YE)

Terminal Part Information

  • Terminal/Tray: 12034046/2
  • Core/Insulation Crimp: E/A
  • Release Tool/Test Probe: 12094430/J-35616-4A (PU)

Terminal Part Information

  • Terminal/Tray: 12034047/2
  • Core/Insulation Crimp: E/A
  • Release Tool/Test Probe: 12094430/J-35616-5 (PU)

X253 I/P Harness to the Body Harness

Pin

Wire Color

Circuit No.

Function

Pin

Wire Color

Circuit No.

Function

A1

0.3 PK

3022

Steering Wheel Module - Stage2 - Low Control

A1

0.3 PK

3022

Steering Wheel Module - Stage2 - Low Control

A2

0.3 WH

3023

Steering Wheel Module - Stage2 - High Control

A2

0.3 WH

3023

Steering Wheel Module - Stage2 - High Control

B1

0.3 BN

3020

Steering Wheel Module - Stage1 - Low Control

B1

0.3 BN

3020

Steering Wheel Module - Stage1 - Low Control

B2

0.3 BN/RD

3021

Steering Wheel Module - Stage1 - High Control

B2

0.3 BN/RD

3021

Steering Wheel Module - Stage1 - High Control

X254 I/P Harness to the Body Harness


Object Number: 1989317  Size: CH

Object Number: 1989313  Size: CH

Connector Part Information

  • OEM: 7287-0496-70
  • Service: See Catalog
  • Description: 4-Way F (YE)

Connector Part Information

  • OEM: 7186-0493-70
  • Service: See Catalog
  • Description: 4-Way M (YE)

Terminal Part Information

  • Terminal/Tray: 12034046/2
  • Core/Insulation Crimp: E/A
  • Release Tool/Test Probe: 12094430/J-35616-4A (PU)

Terminal Part Information

  • Terminal/Tray: 12034047/2
  • Core/Insulation Crimp: E/A
  • Release Tool/Test Probe: 12094430/J-35616-5 (PU)

X254 I/P Harness to the Body Harness

Pin

Wire Color

Circuit No.

Function

Pin

Wire Color

Circuit No.

Function

A1

0.5 PU

3026

I/P Module - Stage 2 - Low Control

A1

0.3 PU

3026

I/P Module - Stage 2 - Low Control

A2

0.5 D-GN

3027

I/P Module - Stage 2 - High Control

A2

0.3 D-GN

3027

I/P Module - Stage 2 - High Control

B1

0.5 D-BU

3024

I/P Module - Stage 1 - Low Control

B1

0.3 D-BU

3024

I/P Module - Stage 1 - Low Control

B2

0.5 YE

3025

I/P Module - Stage 1 - High Control

B2

0.3 YE

3025

I/P Module - Stage 1 - High Control

X255 Digital Video Disc (DVD) Control Module to the Video Display


Object Number: 1989321  Size: CH

Object Number: 1989319  Size: CH

Connector Part Information

  • OEM: 1376106
  • Service: See Catalog
  • Description: 12-Way F

Connector Part Information

  • OEM: 1376106
  • Service: See Catalog
  • Description: 12-way M

Terminal Part Information

  • Terminal/Tray: See Terminal Repair Kit
  • Core/Insulation Crimp: See Terminal Repair Kit
  • Release Tool/Test Probe:See Terminal Repair Kit

Terminal Part Information

  • Terminal/Tray: See Terminal Repair Kit
  • Core/Insulation Crimp: See Terminal Repair Kit
  • Release Tool/Test Probe:See Terminal Repair Kit

X255 Digital Video Disc (DVD) Control Module to the Video Display

Pin

Wire Color

Circuit No.

Function

Pin

Wire Color

Circuit No.

Function

1

0.18 L-GN

5826

DVD Audio Left Signal (+)

1

0.18 L-GN

5826

DVD Audio Left Signal (+)

2

0.18 D-GN/WH

5828

DVD Audio Right Signal (+)

2

0.18 D-GN/WH

5828

DVD Audio Right Signal (+)

3

0.18 WH

6976

DVD Video Signal (+)

3

0.18 WH

6976

DVD Video Signal (+)

4

0.18 YE

5485

RS485 TX

4

0.18 YE

5485

RS485 TX

5

0.18 BARE

5339

Shield

5

0.18 BARE

5339

Shield

6

0.18 OG

6849

Battery Positive

6

0.18 OG

6849

Battery Positive

7

0.18 L-GN

5825

DVD Audio Left Signal (-)

7

0.18 L-GN

5825

DVD Audio Left Signal (-)

8

0.18 D-GN/WH

5827

DVD Audio Right Signal (-)

8

0.18 D-GN/WH

5827

DVD Audio Right Signal (-)

9

0.18 WH

6975

DVD Video Signal (-)

9

0.18 WH

6975

DVD Video Signal (-)

10

0.18 D-GN

1098

RS485 RX

10

0.18 D-GN

1098

RS485 RX

11

--

--

Not Used

11

--

--

Not Used

12

0.18 L-BU

6873

Ground

12

0.18 L-BU

6873

Ground

X305 Body Harness to the Fuel Tank Harness


Object Number: 1989363  Size: CH

Object Number: 1989359  Size: CH

Connector Part Information

  • OEM: 7283-7350-30
  • Service: See Catalog
  • Description: 5-Way F

Connector Part Information

  • OEM: 7282-7350-30
  • Service: See Catalog
  • Description: 5-Way M

Terminal Part Information

  • Terminal/Tray: See Terminal Repair Kit
  • Core/Insulation Crimp: See Terminal Repair Kit
  • Release Tool/Test Probe: See Terminal Repair Kit

Terminal Part Information

  • Terminal/Tray: See Terminal Repair Kit
  • Core/Insulation Crimp: See Terminal Repair Kit
  • Release Tool/Test Probe: See Terminal Repair Kit

X305 Body Harness to the Fuel Tank Harness

Pin

Wire Color

Circuit No.

Function

Pin

Wire Color

Circuit No.

Function

1

2 BK

1350

Ground

1

2 BK

1350

Ground

2

2 GY

120

Fuel Pump Supply Voltage

2

2 GY

120

Fuel Pump Supply Voltage

3

0.5 L-BU

1937

Fuel Level Sensor Signal (Secondary)

3

0.5 L-BU

1937

Fuel Level Sensor Signal (Secondary)

4

0.5 BN/YE

452

Fuel Return

4

0.5 BN/YE

452

Fuel Return

5

0.5 PU

1589

Fuel Level Sensor Signal (Primary)

5

0.5 PU

1589

Fuel Level Sensor Signal (Primary)

X306 Driver Seat Harness to the Body Harness (A45)


Object Number: 1989370  Size: CH

Object Number: 1989366  Size: CH

Connector Part Information

  • OEM: 1318774-1
  • Service: See Catalog
  • Description: 12-Way F

Connector Part Information

  • OEM: 1565894-1
  • Service: See Catalog
  • Description: 12-Way M

Terminal Part Information

  • Terminal/Tray: See Terminal Repair Kit
  • Core/Insulation Crimp: See Terminal Repair Kit
  • Release Tool/Test Probe: See Terminal Repair Kit

Terminal Part Information

  • Terminal/Tray: See Terminal Repair Kit
  • Core/Insulation Crimp: See Terminal Repair Kit
  • Release Tool/Test Probe: See Terminal Repair Kit

X306 Driver Seat Harness to the Body Harness (A45)

Pin

Wire Color

Circuit No.

Function

Pin

Wire Color

Circuit No.

Function

1

0.5 PK/WH

6839

Memory Mirror Voltage

1

0.5 PK/WH

6839

Memory Mirror Voltage

2

0.5 BK/WH

2851

Memory Mirror Ground

2

0.5 BK/WH

2851

Memory Mirror Ground

3

0.3 D-GN/WH

7006

Mirror Control Signal

3

0.3 D-GN/WH

7006

Mirror Control Signal

4-10

--

--

Not Used

4-10

--

--

Not Used

11

0.5 BK

1350

Ground

11

0.5 BK

1350

Ground

12

0.35 D-GN

5060

Low Speed GMLAN Serial Data

12

0.35 D-GN

5060

Low Speed GMLAN Serial Data

X307 Body Harness to the Left Front Door Harness


Object Number: 1989315  Size: CH

Object Number: 1989645  Size: CH

Connector Part Information

  • OEM: 7283-1060
  • Service: See Catalog
  • Description: 6-Way F

Connector Part Information

  • OEM: 7282-1060
  • Service: See Catalog
  • Description: 6-Way M

Terminal Part Information

  • Terminal/Tray: See Terminal Repair Kit
  • Core/Insulation Crimp: See Terminal Repair Kit
  • Release Tool/Test Probe:See Terminal Repair Kit

Terminal Part Information

  • Terminal/Tray: See Terminal Repair Kit
  • Core/Insulation Crimp: See Terminal Repair Kit
  • Release Tool/Test Probe:See Terminal Repair Kit

X307 Body Harness to the Left Front Door Harness

Pin

Wire Color

Circuit No.

Function

Pin

Wire Color

Circuit No.

Function

1

--

--

Not Used

1

--

--

Not Used

2

0.5 D-BU/WH

149

Courtesy Lamp Supply Voltage

2

0.5 D-BU/WH

149

Courtesy Lamp Supply Voltage

3

0.5 BK/WH

7391

Memory Mirror Ground

3

0.5 WH

7391

Memory Mirror Ground

4

0.5 D-GN/WH

81

Mirror Control Signal

4

0.5 WH/BK

81

Mirror Control Signal

5

0.5 PK/WH

89

Memory Mirror Voltage

5

0.5 PK/WH

89

Memory Mirror Voltage

6

0.5 BN

5998

Puddle Lamp Supply Voltage

6

0.5 BN

5998

Puddle Lamp Supply Voltage

X308 Body Harness to the Right Front Door Harness


Object Number: 1989315  Size: CH

Object Number: 1989645  Size: CH

Connector Part Information

  • OEM: 7283-1060
  • Service: See Catalog
  • Description: 6-Way F

Connector Part Information

  • OEM: 7282-1060
  • Service: See Catalog
  • Description: 6-Way M

Terminal Part Information

  • Terminal/Tray: See Terminal Repair Kit
  • Core/Insulation Crimp: See Terminal Repair Kit
  • Release Tool/Test Probe:See Terminal Repair Kit

Terminal Part Information

  • Terminal/Tray: See Terminal Repair Kit
  • Core/Insulation Crimp: See Terminal Repair Kit
  • Release Tool/Test Probe:See Terminal Repair Kit

X308 Body Harness to the Right Front Door Harness

Pin

Wire Color

Circuit No.

Function

Pin

Wire Color

Circuit No.

Function

1

--

--

Not Used

1

--

--

Not Used

2

0.5 D-BU/WH

149

Courtesy Lamp Supply Voltage

2

0.5 D-BU/WH

149

Courtesy Lamp Supply Voltage

3

0.5 BK/WH

7391

Memory Mirror Ground

3

0.5 WH

7391

Memory Mirror Ground

4

0.5 D-GN/BK

881

Mirror Control Signal

4

0.5 OG/WH

881

Mirror Control Signal

5

0.5 PK/WH

889

Memory Mirror Voltage

5

0.5 PK/WH

889

Memory Mirror Voltage

6

0.5 BN

5998

Puddle Lamp Supply Voltage

6

0.5 BN

5998

Puddle Lamp Supply Voltage

X309 Body Harness to the I/P Harness


Object Number: 1989378  Size: CH

Object Number: 1989374  Size: CH

Connector Part Information

  • OEM: 7283-1068
  • Service: See Catalog
  • Description: 6-Way F 090 II Series (WH)

Connector Part Information

  • OEM: 7282-1068
  • Service: See Catalog
  • Description: 6-Way M 090 II Series (WH)

Terminal Part Information

  • Pins: 1, 4
  • Terminal/Tray: 7116-4020/11
  • Core/Insulation Crimp: E/C
  • Release Tool/Test Probe: 15315247/J-35616-18 (BK)
  • Pins: 2, 5
  • Terminal/Tray: 7116-4021/11
  • Core/Insulation Crimp: 2/A
  • Release Tool/Test Probe: 15315247/J-35616-18 (BK)

Terminal Part Information

  • Terminal/Tray: See Terminal Repair Kit
  • Core/Insulation Crimp: See Terminal Repair Kit
  • Release Tool/Test Probe: See Terminal Repair Kit

X309 Body Harness to the I/P Harness

Pin

Wire Color

Circuit No.

Function

Pin

Wire Color

Circuit No.

Function

1

0.5 OG/BK

233

Park Brake Switch Signal

1

0.5 OG/BK

233

Park Brake Switch Signal

2

1.25 BN/YE

9101

Accessory Voltage

2

1.25 BN/YE

9101

Accessory Voltage

3

0.85 OG

1732

Courtesy Lamps Supply Voltage

3

0.85 OG

1732

Courtesy Lamps Supply Voltage

4

0.3 GY

8

Instrument Panel Lamp Supply Voltage

4

0.3 GY

8

Instrument Panel Lamp Supply Voltage

5

1.25 BK

2050

Ground

5

1.25 BK

2050

Ground

6

--

--

Not Used

6

--

--

Not Used

X310 Passenger Seat Harness to the Body Harness


Object Number: 1989396  Size: CH

Object Number: 1989384  Size: CH

Connector Part Information

  • OEM: 7183-8287-30
  • Service: See Catalog
  • Description: 4-Way F (BK)

Connector Part Information

  • OEM: 7182-8287-30
  • Service: See Catalog
  • Description: 4-Way M (BK)

Terminal Part Information

  • Terminal/Tray: See Terminal Repair Kit
  • Core/Insulation Crimp: See Terminal Repair Kit
  • Release Tool/Test Probe: See Terminal Repair Kit

Terminal Part Information

  • Terminal/Tray: See Terminal Repair Kit
  • Core/Insulation Crimp: See Terminal Repair Kit
  • Release Tool/Test Probe: See Terminal Repair Kit

X310 Passenger Seat Harness to the Body Harness

Pin

Wire Color

Circuit No.

Function

Pin

Wire Color

Circuit No.

Function

1

2 OG

1140

Battery Positive Voltage

1

2 OG

1140

Battery Positive Voltage

2

2 BK

1350

Ground

2

2 BK

1350

Ground

3-4

--

--

Not Used

3-4

--

--

Not Used

X311 Driver Seat Harness to the Body Harness


Object Number: 1989396  Size: CH

Object Number: 1989384  Size: CH

Connector Part Information

  • OEM: 7183-8287-30
  • Service: See Catalog
  • Description: 4-Way F (BK)

Connector Part Information

  • OEM: 7182-8287-30
  • Service: See Catalog
  • Description: 4-Way M (BK)

Terminal Part Information

  • Terminal/Tray: See Terminal Repair Kit
  • Core/Insulation Crimp: See Terminal Repair Kit
  • Release Tool/Test Probe: See Terminal Repair Kit

Terminal Part Information

  • Terminal/Tray: See Terminal Repair Kit
  • Core/Insulation Crimp: See Terminal Repair Kit
  • Release Tool/Test Probe: See Terminal Repair Kit

X311 Driver Seat Harness to the Body Harness

Pin

Wire Color

Circuit No.

Function

Pin

Wire Color

Circuit No.

Function

1

2 OG

1140

Battery Positive Voltage

1

2 OG

1140

Battery Positive Voltage (without A45)

2 RD

1140

Battery Positive Voltage (A45)

2

2 BK

2050

Ground (without A45)

2

2 BK

2050

Ground (without A45)

1.25 BK

2050

Ground (A45)

1.25 BK

2050

Ground (A45)

3

0.3 BK/WH

238

Seat Belt Switch - Left

3

0.3 BK/WH

238

Seat Belt Switch - Left

4

0.3 D-BU

1363

Seat Belt Switch - Left - Low Reference

4

0.3 D-BU

1363

Seat Belt Switch - Left - Low Reference

X312 Body Harness to the Passenger Seat Harness


Object Number: 1989415  Size: CH

Object Number: 2091160  Size: CH

Connector Part Information

  • OEM: 7182-1724
  • Service: See Catalog
  • Description: 2-Way M (BK)

Connector Part Information

  • OEM: 174463-2
  • Service: See Catalog
  • Description: 2-Way F (WH)

Terminal Part Information

  • Terminal/Tray: See Terminal Repair Kit
  • Core/Insulation Crimp: See Terminal Repair Kit
  • Release Tool/Test Probe: See Terminal Repair Kit

Terminal Part Information

  • Terminal/Tray: 173633-3/15
  • Core/Insulation Crimp: E/4
  • Release Tool/Test Probe: 15315247/J-35616-34 (YE)

X312 Body Harness to the Passenger Seat Harness

Pin

Wire Color

Circuit No.

Function

Pin

Wire Color

Circuit No.

Function

1

0.3 PK/BU

5056

Seat Position Sensor- Right - Signal

1

0.3 L-BU

5056

Seat Position Sensor- Right - Signal

2

0.3 PU/WH

5057

Seat Position Sensor - Low Reference

2

0.3 PK

5057

Seat Position Sensor - Low Reference

X313 Body Harness to the Passenger Seat Harness


Object Number: 1989408  Size: CH

Object Number: 1989402  Size: CH

Connector Part Information

  • OEM: 7283-9781-70
  • Service: See Catalog
  • Description: 3-Way F (YE)

Connector Part Information

  • OEM: 72829781
  • Service: See Catalog
  • Description: 3-Way M (YE)

Terminal Part Information

  • Terminal/Tray: See Terminal Repair Kit
  • Core/Insulation Crimp: See Terminal Repair Kit
  • Release Tool/Test Probe: See Terminal Repair Kit

Terminal Part Information

  • Terminal/Tray: See Terminal Repair Kit
  • Core/Insulation Crimp: See Terminal Repair Kit
  • Release Tool/Test Probe: See Terminal Repair Kit

X313 Body Harness to the Passenger Seat Harness

Pin

Wire Color

Circuit No.

Function

Pin

Wire Color

Circuit No.

Function

1

0.3 BK/WH

2135

Side Impact Module - RF - High Control

1

0.3 BK/WH

2135

Side Impact Module - RF - High Control

2

0.3 L-GN

2136

Side Impact Module - RF - Low Control

2

0.3 L-GN

2136

Side Impact Module - RF - Low Control

3

0.3 BK/WH

1751

Ground

3

0.3 L-GN

1751

Ground

X314 Body Harness to the Driver Seat Harness


Object Number: 1989408  Size: CH

Object Number: 1989402  Size: CH

Connector Part Information

  • OEM: 7283-9781-70
  • Service: See Catalog
  • Description: 3-Way F (YE)

Connector Part Information

  • OEM: 72829781
  • Service: See Catalog
  • Description: 3-Way M (YE)

Terminal Part Information

  • Terminal/Tray: See Terminal Repair Kit
  • Core/Insulation Crimp: See Terminal Repair Kit
  • Release Tool/Test Probe: See Terminal Repair Kit

Terminal Part Information

  • Terminal/Tray: See Terminal Repair Kit
  • Core/Insulation Crimp: See Terminal Repair Kit
  • Release Tool/Test Probe: See Terminal Repair Kit

X314 Body Harness to the Driver Seat Harness

Pin

Wire Color

Circuit No.

Function

Pin

Wire Color

Circuit No.

Function

1

0.3 BN

2137

Side Impact Module - LF - High Control

1

0.3 BN

2137

Side Impact Module - LF - High Control

2

0.3 YE/BK

2138

Side Impact Module - LF - Low Control

2

0.3 YE/BK

2138

Side Impact Module - LF - Low Control

3

0.3 BK/WH

1751

Ground

3

0.3 BK/WH

1751

Ground

X315 Body Harness to the Driver Seat Harness


Object Number: 1989419  Size: CH

Object Number: 1989415  Size: CH

Connector Part Information

  • OEM: 174463-2
  • Service: See Catalog
  • Description: 2-Way F

Connector Part Information

  • OEM: 7182-1724
  • Service: See Catalog
  • Description: 2-Way M

Terminal Part Information

  • Terminal/Tray: See Terminal Repair Kit
  • Core/Insulation Crimp: See Terminal Repair Kit
  • Release Tool/Test Probe: See Terminal Repair Kit

Terminal Part Information

  • Terminal/Tray: 173633-3/15
  • Core/Insulation Crimp: E/4
  • Release Tool/Test Probe: 15315247/J-35616-34 (YE)

X315 Body Harness to the Driver Seat Harness

Pin

Wire Color

Circuit No.

Function

Pin

Wire Color

Circuit No.

Function

1

0.3 L-GN

5055

Seat Position Sensor- Left - Signal

1

0.3 PK/BU

5055

Seat Position Sensor- Left - Signal

2

0.3 D-BU

5057

Seat Position Sensor - Low Reference

2

0.3 PU/WH

5057

Seat Position Sensor - Low Reference

X316 Body Harness to the Digital Video Disc (DVD) Control Module


Object Number: 1989427  Size: CH

Object Number: 1989424  Size: CH

Connector Part Information

  • OEM: 1318917
  • Service: See Catalog
  • Description: 24-Way F

Connector Part Information

  • OEM: 1376103
  • Service: See Catalog
  • Description: 24-Way M

Terminal Part Information

  • Terminal/Tray: See Terminal Repair Kit
  • Core/Insulation Crimp: See Terminal Repair Kit
  • Release Tool/Test Probe: See Terminal Repair Kit

Terminal Part Information

  • Terminal/Tray: See Terminal Repair Kit
  • Core/Insulation Crimp: See Terminal Repair Kit
  • Release Tool/Test Probe: See Terminal Repair Kit

X316 Body Harness to the Digital Video Disc (DVD) Control Module

Pin

Wire Color

Circuit No.

Function

Pin

Wire Color

Circuit No.

Function

1

0.18 OG

6849

Battery Positive

1

0.18 OG

6849

Battery Positive

2

0.18 YE

5845

RS485 TX

2

0.18 YE

5845

RS485 TX

3

0.18 BARE

5339

Shield

3

0.18 BARE

5339

Shield

4

0.18 L-GN

5826

DVD Audio Left Signal (+)

4

0.18 L-GN

5826

DVD Audio Left Signal (+)

5

0.18 L-GN/WH

5828

DVD Audio Right Signal (+)

5

0.18 D-GN/WH

5828

DVD Audio Right Signal (+)

6

0.18 WH

6975

DVD Video Signal (+)

6

0.18 WH

6975

DVD Video Signal (+)

7

0.18 YE

2059

Auxiliary Audio Left Signal (+)

7

0.18 YE

2059

Auxiliary Audio Left Signal (+)

8

0.18 D-BU/WH

2058

Auxiliary Audio Right Signal (+)

8

0.18 WH/RD

2058

Auxiliary Audio Right Signal (+)

9

0.18 RD

2056

Auxiliary Video Signal (+)

9

0.18 PU

2056

Auxiliary Video Signal (+)

10

0.5 RD

5839

Auxiliary Audio Left Signal (+)

10

0.5 BN/WH

5839

Auxiliary Audio Left Signal (+)

11

0.5 D-GN

5841

Auxiliary Audio Right Signal (+)

11

0.5 D-BU

5841

Auxiliary Audio Right Signal (+)

12

0.5 OG

5756

Roof Centre Speaker Output (+)

12

0.5 OG

5756

Roof Centre Speaker Output (+)

13

0.18 L-BU

6873

Ground

13

0.18 L-BU

6873

Ground

14

0.18 D-BU

1098

RS485 RX

14

0.18 D-GN

1098

RS485 RX

15

--

--

Not Used

15

--

--

Not Used

16

0.18 BARE

5825

DVD Audio Left Signal (-)

16

0.18 L-GN

5825

DVD Audio Left Signal (-)

17

0.18 BARE

5827

DVD Audio Right Signal (-)

17

0.18 D-GN/WH

5827

DVD Audio Right Signal (-)

18

0.18 WH

6976

DVD Video Signal (-)

18

0.18 WH

6976

DVD Video Signal (-)

19

0.18 BARE

5843

Auxiliary Audio Left Signal (-)

19

0.18 YE

5843

Auxiliary Audio Left Signal (-)

20

0.18 WH/RD

5345

Auxiliary Audio Right Signal (-)

20

0.18 WH/RD

5345

Auxiliary Audio Right Signal (-)

21

0.18 BARE

2057

Auxiliary Video Signal (-)

21

0.18 PU

2057

Auxiliary Video Signal (-)

22

--

--

Not Used

22

--

--

Not Used

23

0.5 BARE

7001

Common Auxiliary Audio Signal (-)

23

0.5 D-BU

7001

Common Auxiliary Audio Signal (-)

24

0.5 OG/BK

5766

Roof Centre Speaker Output (-)

24

0.5 OG/BK

5766

Roof Centre Speaker Output (-)

X317 Body Harness to the Body Harness


Object Number: 1989356  Size: CH

Object Number: 1989353  Size: CH

Connector Part Information

  • OEM: 7283-1168
  • Service: See Catalog
  • Description: 16-Way F

Connector Part Information

  • OEM: 7282-1168
  • Service: See Catalog
  • Description: 16-Way M

Terminal Part Information

  • Terminal/Tray: See Terminal Repair Kit
  • Core/Insulation Crimp: See Terminal Repair Kit
  • Release Tool/Test Probe: See Terminal Repair Kit

Terminal Part Information

  • Terminal/Tray: See Terminal Repair Kit
  • Core/Insulation Crimp: See Terminal Repair Kit
  • Release Tool/Test Probe: See Terminal Repair Kit

X317 Body Harness to the Body Harness

Pin

Wire Color

Circuit No.

Function

Pin

Wire Color

Circuit No.

Function

1-2

--

--

Not Used

1-2

--

--

Not Used

3

0.5 BN

5998

Puddle Lamp Supply Voltage

3

0.5 BN

5998

Puddle Lamp Supply Voltage

4

0.3 OG

6978

Amplifier Mute Control

4

0.3 OG

6978

Amplifier Mute Control

5

0.3 BN/WH

5217

RF Corner Object Sensor Signal

5

0.3 BN/WH

5217

RF Corner Object Sensor Signal

6

--

--

Not Used

6

--

--

Not Used

7

2 OG/BU

1540

Battery Positive Voltage

7

2 OG/BU

1540

Battery Positive Voltage

8

0.5 D-BU/WH

149

Courtesy Lamp Supply Voltage

8

0.5 D-BU/WH

149

Courtesy Lamp Supply Voltage

9

0.3 OG/BK

5214

Object Sensor Low Reference

9

0.3 OG/BK

5214

Object Sensor Low Reference

10

0.3 WH

7066

Amplifier Enable Signal

10

0.3 WH

7066

Amplifier Enable Signal

11

0.3 BN

6581

Object Sensor Supply Voltage

11

0.3 BN

6581

Object Sensor Supply Voltage

12

0.3 PU/WH

5218

RF Middle Object Sensor Signal

12

0.3 PU/WH

5218

RF Middle Object Sensor Signal

13-14

--

--

Not Used

13-14

--

--

Not Used

15

0.3 WH

5216

LF Middle Object Sensor Signal

15

0.3 WH

5216

LF Middle Object Sensor Signal

16

0.3 PU/WH

5215

LF Corner Object Sensor Signal

16

0.3 PU/WH

5215

LF Corner Object Sensor Signal

X319 Headliner Harness to the Digital Video Disc (DVD) Control Module


Object Number: 1989435  Size: CH

Object Number: 1989431  Size: CH

Connector Part Information

  • OEM: 174045-2
  • Service: See Catalog
  • Description: 12-Way F

Connector Part Information

  • OEM: 174058-2
  • Service: See Catalog
  • Description: 12-Way M

Terminal Part Information

  • Terminal/Tray: See Terminal Repair Kit
  • Core/Insulation Crimp: See Terminal Repair Kit
  • Release Tool/Test Probe: See Terminal Repair Kit

Terminal Part Information

  • Terminal/Tray: See Terminal Repair Kit
  • Core/Insulation Crimp: See Terminal Repair Kit
  • Release Tool/Test Probe: See Terminal Repair Kit

X319 Headliner Harness to the Digital Video Disc (DVD) Control Module

Pin

Wire Color

Circuit No.

Function

Pin

Wire Color

Circuit No.

Function

1

0.5 PK

367

Left Audio Signal (+) (U56)

1

0.5 BN/WH

367

Left Audio Signal (+) (U56)

0.3 D-GN

5060

Low Speed Gmlan Serial Data (UWF)

0.3 D-GN

5060

Low Speed Gmlan Serial Data (UWF)

2

0.5WH/ BK

5335

DVD Video Signal (-)

2

0.5 BK

5335

DVD Video Signal (-)

3

0.5 RD

5334

DVD Video Signal (+)

3

0.5 RD/WH

5334

DVD Video Signal (+)

4

--

--

Not Used

4

--

--

Not Used

5

0.5 OG/YE

4540

DVD Video Signal (+)

5

0.5 RD/WH

4540

DVD Video Signal (+)

6

0.3 D-GN

5060

Low Speed Gmlan Serial Data (U56)

6

0.3 D-GN

5060

Low Speed Gmlan Serial Data (U56)

0.5 PK

367

Left Audio Signal (+) (UWF)

0.5 WH

367

Left Audio Signal (+) (UWF)

7

0.5 D-BU

368

Right Audio Signal (+) (U56)

7

0.5 D-BU

368

Right Audio Signal (+) (U56)

8

0.5 D-GN/WH

1547

Common Audio Signal (-) (U56)

8

0.5 D-GN

1547

Common Audio Signal (-) (U56)

9

0.5 BK

1050

Ground

9

0.5 BK

1050

Ground

10

0.5 BK

1050

Ground

10

0.5 BK

1050

Ground

11

0.5 D-GN/WH

 

Common Audio Signal (-) (UWF)

11

0.5 WH/RD

 

Common Audio Signal (-) (UWF)

12

0.5 OG/YE

4540

Battery Positive Voltage

12

0.5 RD/WH

4540

Battery Positive Voltage

0.5 D-BU

368

Right Audio Signal (+) (UWF)

0.5 RD

368

Right Audio Signal (+) (UWF)

X322 Passenger Seat Harness to the Body Harness


Object Number: 1989321  Size: CH

Object Number: 1989319  Size: CH

Connector Part Information

  • OEM: 1318774-1
  • Service: See Catalog
  • Description: 12-Way F

Connector Part Information

  • OEM: 1565894-1
  • Service: See Catalog
  • Description: 12-Way M

Terminal Part Information

  • Terminal/Tray: See Terminal Repair Kit
  • Core/Insulation Crimp: See Terminal Repair Kit
  • Release Tool/Test Probe: See Terminal Repair Kit

Terminal Part Information

  • Terminal/Tray: See Terminal Repair Kit
  • Core/Insulation Crimp: See Terminal Repair Kit
  • Release Tool/Test Probe: See Terminal Repair Kit

X322 Passenger Seat Harness to the Body Harness

Pin

Wire Color

Circuit No.

Function

Pin

Wire Color

Circuit No.

Function

1

0.5 RD/BU

6839

Memory Mirror Voltage

1

0.5 PK/WH

6839

Memory Mirror Voltage

2

0.5 BK/GN

2851

Memory Mirror Ground

2

0.5 BK/WH

2851

Memory Mirror Ground

3

0.5 YE/GN

7006

Mirror Control Signal

3

0.5 D-GN/WH

7006

Mirror Control Signal

4

0.5 OG

1512

Left Mirror Switch Right Signal

4

0.5 WH

1512

Left Mirror Switch Right Signal

5

0.5 D-BU

1513

Right Mirror Switch Right Signal

5

0.5 OG/WH

1513

Right Mirror Switch Right Signal

6

0.13 YE

5636

Left/Right Mirror Switch Signal

6

0.13 D-BU

5636

Left/Right Mirror Switch Signal

7

0.5 WH

1514

Left Mirror Motor Down Signal

7

0.5 L-GN

1514

Left Mirror Motor Down Signal

8

0.5 D-GN

1515

Right Mirror Motor Down Signal

8

0.5 PU/WH

1515

Right Mirror Motor Down Signal

9

0.5 BK

5478

Ground

9

0.5 BN

5478

Ground

10

0.5 RD

5477

Switch Voltage

10

0.5 YE

5477

Switch Voltage

11-12

--

--

Not Used

11-12

--

--

Not Used

X324 Driver Seat Back to the Driver Seat Harness (AH5)


Object Number: 1989442  Size: CH

Object Number: 1989437  Size: CH

Connector Part Information

  • OEM:
  • Service: See Catalog
  • Description: 4-Way F

Connector Part Information

  • OEM:
  • Service: See Catalog
  • Description: 4-Way M

Terminal Part Information

  • Terminal/Tray: See Terminal Repair Kit
  • Core/Insulation Crimp: See Terminal Repair Kit
  • Release Tool/Test Probe: See Terminal Repair Kit

Terminal Part Information

  • Terminal/Tray: See Terminal Repair Kit
  • Core/Insulation Crimp: See Terminal Repair Kit
  • Release Tool/Test Probe: See Terminal Repair Kit

X324 Driver Seat Back to the Driver Seat Harness (AH5)

Pin

Wire Color

Circuit No.

Function

Pin

Wire Color

Circuit No.

Function

1

0.85 YE

276

Driver Seat Recline Motor Forward Control

1

0.85 YE

276

Driver Seat Recline Motor Forward Control

2

0.85 PU/GN

277

Driver Seat Recline Motor Rearward Control

2

0.85 PU/GN

277

Driver Seat Recline Motor Rearward Control

3

0.3 BK/OG

1350

Ground

3

0.3 BK/OG

1350

Ground

4

0.3 D-GN/BN

570

Driver Seat Recline Motor Position Sensor Signal

4

0.3 D-GN/BN

570

Driver Seat Recline Motor Position Sensor Signal

X324 Driver Seat Back to the Driver Seat Harness (AGB)


Object Number: 1989480  Size: CH

Object Number: 1989446  Size: CH

Connector Part Information

  • OEM: 173850-2
  • Service: See Catalog
  • Description: 8-Way F

Connector Part Information

  • OEM: 174391-2
  • Service: See Catalog
  • Description: 8-Way M

Terminal Part Information

  • Terminal/Tray: See Terminal Repair Kit
  • Core/Insulation Crimp: See Terminal Repair Kit
  • Release Tool/Test Probe:See Terminal Repair Kit

Terminal Part Information

  • Terminal/Tray: See Terminal Repair Kit
  • Core/Insulation Crimp: See Terminal Repair Kit
  • Release Tool/Test Probe: See Terminal Repair Kit

X324 Driver Seat Back to the Driver Seat Harness (AGB)

Pin

Wire Color

Circuit No.

Function

Pin

Wire Color

Circuit No.

Function

1

0.85 RD/YE

768

Driver Seat Lumbar Motor Up Control

1

0.85 RD/YE

768

Driver Seat Lumbar Motor Up Control

2

0.85 YE

276

Driver Seat Recline Motor Forward Control

2

0.85 YE

276

Driver Seat Recline Motor Forward Control

3

0.85 PU/GN

277

Driver Seat Recline Motor Rearward Control

3

0.85 PU/GN

277

Driver Seat Recline Motor Rearward Control

4

0.85 D-GN/RD

767

Driver Seat Lumbar Motor Down Control

4

0.85 D-GN/RD

767

Driver Seat Lumbar Motor Down Control

5

0.3 PU/BU

1062

Driver Seat Lumbar Vertical Position Sensor Signal

5

0.3 PU/BU

1062

Driver Seat Lumbar Vertical Position Sensor Signal

6

0.3 D-BU/YE

1063

Driver Seat Lumbar Horizontal Position Sensor Signal

6

0.3 D-BU/YE

1063

Driver Seat Lumbar Horizontal Position Sensor Signal

7

0.3 BK/OG

1350

Ground

7

0.3 BK/OG

1350

Ground

8

0.3 D-GN/BN

570

Driver Seat Recline Motor Position Sensor Signal

8

0.3 D-GN/BN

570

Driver Seat Recline Motor Position Sensor Signal

X330 Left Seat Harness to the Body Harness


Object Number: 1989496  Size: CH

Object Number: 1989492  Size: CH

Connector Part Information

  • OEM: 1318917
  • Service: See Catalog
  • Description: 24-Way F

Connector Part Information

  • OEM: 1375103
  • Service: See Catalog
  • Description: 24-Way M

Terminal Part Information

  • Terminal/Tray: See Terminal Repair Kit
  • Core/Insulation Crimp: See Terminal Repair Kit
  • Release Tool/Test Probe: See Terminal Repair Kit

Terminal Part Information

  • Terminal/Tray: See Terminal Repair Kit
  • Core/Insulation Crimp: See Terminal Repair Kit
  • Release Tool/Test Probe: See Terminal Repair Kit

X330 Left Seat Harness to the Body Harness

Pin

Wire Color

Circuit No.

Function

Pin

Wire Color

Circuit No.

Function

1

0.5 OG

6849

Battery Positive

1

0.5 OG

6849

Battery Positive

2

0.5 YE

5845

RS485 TX

2

0.5 YE

5845

RS485 TX

3

0.5 BARE

5339

Shield

3

0.5 BARE

5339

Shield

4

0.5 L-GN

5826

DVD Audio Left Signal (+)

4

0.5 L-GN

5826

DVD Audio Left Signal (+)

5

0.5 D-GN/WH

5828

DVD Audio Right Signal (+)

5

0.5 L-GN/WH

5828

DVD Audio Right Signal (+)

6

0.5 WH

5975

DVD Video Signal (+)

6

0.5 WH

5975

DVD Video Signal (+)

7

0.5 YE

2059

Auxiliary Audio Left Signal (+)

7

0.5 YE

2059

Auxiliary Audio Left Signal (+)

8

0.5 WH/RD

2058

Auxiliary Audio Right Signal (+)

8

0.5 BN/WH

2058

Auxiliary Audio Right Signal (+)

9

0.5 PU

2056

Auxiliary Video Signal (+)

9

0.5 RD

2056

Auxiliary Video Signal (+)

10-12

--

--

Not Used

10-12

--

--

Not Used

13

0.5 L-BU

6873

Ground

13

0.5 L-BU

6873

Ground

14

0.5 D-GN

1098

RS485 RX

14

0.5 D-BU

1098

RS485 RX

15

--

--

Not Used

15

--

--

Not Used

16

0.5 L-GN

5825

DVD Audio Left Signal (-)

16

0.5 BARE

5825

DVD Audio Left Signal (-)

17

0.5 D-GN/WH

5827

DVD Audio Right Signal (-)

17

0.5 BARE

5827

DVD Audio Right Signal (-)

18

0.5 WH

6976

DVD Video Signal (-)

18

0.5 WH

6976

DVD Video Signal (-)

19

0.5 YE

5843

Auxiliary Audio Left Signal (-)

19

0.5 BARE

5843

Auxiliary Audio Left Signal (-)

20

0.5 WH/RD

5345

Auxiliary Audio Right Signal (-)

20

0.5 WH/RD

5345

Auxiliary Audio Right Signal (-)

21

0.5 PU

2057

Auxiliary Video Signal (-)

21

0.5 BARE

2057

Auxiliary Video Signal (-)

22-24

--

--

Not Used

22-24

--

--

Not Used

X331 Right Seat Harness to the Body Harness


Object Number: 1989496  Size: CH

Object Number: 1989492  Size: CH

Connector Part Information

  • OEM: 1318917
  • Service: See Catalog
  • Description: 24-Way F

Connector Part Information

  • OEM: 1376103
  • Service: See Catalog
  • Description: 24-Way M

Terminal Part Information

  • Terminal/Tray: See Terminal Repair Kit
  • Core/Insulation Crimp: See Terminal Repair Kit
  • Release Tool/Test Probe: See Terminal Repair Kit

Terminal Part Information

  • Terminal/Tray: See Terminal Repair Kit
  • Core/Insulation Crimp: See Terminal Repair Kit
  • Release Tool/Test Probe: See Terminal Repair Kit

X331 Right Seat Harness to the Body Harness

Pin

Wire Color

Circuit No.

Function

Pin

Wire Color

Circuit No.

Function

1

0.5 OG

6889

Battery Positive

1

0.5 OG

6889

Battery Positive

2

0.5 YE

6900

RS485 TX

2

0.5 YE

6900

RS485 TX

3

0.5 BARE

6904

Shield

3

0.5 BARE

6904

Shield

4

0.5 L-GN

6890

DVD Audio Left Signal (+)

4

0.5 L-GN

6890

DVD Audio Left Signal (+)

5

0.5 L-GN/WH

6891

DVD Audio Right Signal (+)

5

0.5 D-GN/WH

6891

DVD Audio Right Signal (+)

6

0.5 WH

7396

DVD Video Signal (+)

6

0.5 WH

7396

DVD Video Signal (+)

7-12

--

--

Not Used

7-12

--

--

Not Used

13

0.5 L-BU

6903

Ground

13

0.5 L-BU

6903

Ground

14

0.5 D-BU

6901

RS485 RX

14

0.5 D-GN

6901

RS485 RX

15

--

--

Not Used

15

--

--

Not Used

16

0.5 BARE

6892

DVD Audio Left Signal (-)

16

0.5 L-GN

6892

DVD Audio Left Signal (-)

17

0.5 BARE

6979

DVD Audio Right Signal (-)

17

0.5 D-GN/WH

6979

DVD Audio Right Signal (-)

18

0.5 BARE

7394

DVD Video Signal (-)

18

0.5 WH

7394

DVD Video Signal (-)

19-24

--

--

Not Used

19-24

--

--

Not Used

X332 Video Display to the Right Seat Harness


Object Number: 1989505  Size: CH

Object Number: 1989501  Size: CH

Connector Part Information

  • OEM: 174047-2
  • Service: See Catalog
  • Description: 20-Way F

Connector Part Information

  • OEM: 175652-2
  • Service: See Catalog
  • Description: 20-Way M

Terminal Part Information

  • Terminal/Tray: See Terminal Repair Kit
  • Core/Insulation Crimp: See Terminal Repair Kit
  • Release Tool/Test Probe: See Terminal Repair Kit

Terminal Part Information

  • Terminal/Tray: See Terminal Repair Kit
  • Core/Insulation Crimp: See Terminal Repair Kit
  • Release Tool/Test Probe: See Terminal Repair Kit

X332 Video Display to the Right Seat Harness

Pin

Wire Color

Circuit No.

Function

Pin

Wire Color

Circuit No.

Function

1

0.18 L-GN

6890

DVD Audio Left Signal (+)

1

0.18 L-GN

6890

DVD Audio Left Signal (+)

2

0.18 D-GN/WH

6891

DVD Audio Right Signal (+)

2

0.18 D-GN/WH

6891

DVD Audio Right Signal (+)

3

0.18 BARE

6904

Shield

3

0.18 BARE

6904

Shield

4

0.18 WH

7396

DVD Video Signal (+)

4

0.18 WH

7396

DVD Video Signal (+)

5

0.18 WH

7394

DVD Video Signal (-)

5

0.18 WH

7394

DVD Video Signal (-)

6-7

--

--

Not Used

6-7

--

--

Not Used

8

0.18 OG

6889

Battery Positive

8

0.18 OG

6889

Battery Positive

9

0.18 L-BU

6890

Ground

9

0.18 L-BU

6890

Ground

10

0.18 PU

2057

Auxiliary Video Signal (-)

10

0.18 PU

2057

Auxiliary Video Signal (-)

11

0.18 L-GN

6892

DVD Audio Left Signal (-)

11

0.18 L-GN

6892

DVD Audio Left Signal (-)

12

0.18 D-GN/WH

6979

DVD Audio Right Signal (-)

12

0.18 D-GN/WH

6979

DVD Audio Right Signal (-)

13

--

--

Not Used

13

--

--

Not Used

14

0.18 D-GN

6901

RS485 RX

14

0.18 D-GN

6901

RS485 RX

15

0.18 YE

6900

RS485 TX

15

0.18 YE

6900

RS485 TX

16

--

--

Not Used

16

--

--

Not Used

17

0.18 YE

2059

Auxiliary Audio Left Signal (+)

17

0.18 YE

2059

Auxiliary Audio Left Signal (+)

18

0.18 YE

5843

Auxiliary Audio Left Signal (-)

18

0.18 YE/BK

5843

Auxiliary Audio Left Signal (-)

0.18 WH/RD

5345

Auxiliary Audio Right Signal (-)

0.18 WH/RD

5345

Auxiliary Audio Right Signal (-)

19

0.18 WH/RD

2058

Auxiliary Audio Right Signal (+)

19

0.18 WH/RD

2058

Auxiliary Audio Right Signal (+)

20

0.18 PU

2056

Auxiliary Video Signal (+)

20

0.18 PU

2056

Auxiliary Video Signal (+)

X333 Left Seat Harness to the Body Harness


Object Number: 1989496  Size: CH

Object Number: 1989492  Size: CH

Connector Part Information

  • OEM: 1318917
  • Service: See Catalog
  • Description: 24-Way F

Connector Part Information

  • OEM: 1376103
  • Service: See Catalog
  • Description: 24-Way M

Terminal Part Information

  • Terminal/Tray: See Terminal Repair Kit
  • Core/Insulation Crimp: See Terminal Repair Kit
  • Release Tool/Test Probe: See Terminal Repair Kit

Terminal Part Information

  • Terminal/Tray: See Terminal Repair Kit
  • Core/Insulation Crimp: See Terminal Repair Kit
  • Release Tool/Test Probe: See Terminal Repair Kit

X333 Left Seat Harness to the Body Harness

Pin

Wire Color

Circuit No.

Function

Pin

Wire Color

Circuit No.

Function

1

0.18 OG

6849

Battery Positive

1

0.5 OG

6849

Battery Positive

2

0.18 YE

5845

RS485 TX

2

0.5 YE

5845

RS485 TX

3

0.18 BARE

5339

Shield

3

0.5 BARE

5339

Shield

4

0.18 L-GN

5826

DVD Audio Left Signal (+)

4

0.5 L-GN

5826

DVD Audio Left Signal (+)

5

0.18 D-GN/WH

5828

DVD Audio Right Signal (+)

5

0.5 L-GN/WH

5828

DVD Audio Right Signal (+)

6

0.18 WH

6975

DVD Video Signal (+)

6

0.5 WH

6975

DVD Video Signal (+)

7-12

--

--

Not Used

7-12

--

--

Not Used

13

0.18 L-BU

6873

Ground

13

0.5 L-BU

6873

Ground

14

0.18 D-GN

1098

RS485 RX

14

0.5 D-BU

1098

RS485 RX

15

--

--

Not Used

15

--

--

Not Used

16

0.18 L-GN

5825

DVD Audio Left Signal (-)

16

0.5 BARE

5825

DVD Audio Left Signal (-)

17

0.18 D-GN/WH

5827

DVD Audio Right Signal (-)

17

0.5 BARE

5827

DVD Audio Right Signal (-)

18

0.18 WH

6976

DVD Video Signal (-)

18

0.5 BARE

6976

DVD Video Signal (-)

19-24

--

--

Not Used

19-24

--

--

Not Used

X335 Video Display Assembly to the Body Harness


Object Number: 1989505  Size: CH

Object Number: 1989501  Size: CH

Connector Part Information

  • OEM: 174047-2
  • Service: See Catalog
  • Description: 20-Way F

Connector Part Information

  • OEM: 175652-2
  • Service: See Catalog
  • Description: 20-Way M

Terminal Part Information

  • Terminal/Tray: See Terminal Repair Kit
  • Core/Insulation Crimp: See Terminal Repair Kit
  • Release Tool/Test Probe: See Terminal Repair Kit

Terminal Part Information

  • Terminal/Tray: See Terminal Repair Kit
  • Core/Insulation Crimp: See Terminal Repair Kit
  • Release Tool/Test Probe: See Terminal Repair Kit

X335 Video Display Assembly to the Body Harness

Pin

Wire Color

Circuit No.

Function

Pin

Wire Color

Circuit No.

Function

1

0.18 L-GN

5826

DVD Audio Left Signal (+)

1

0.18 L-GN

5826

DVD Audio Left Signal (+)

2

0.18 D-GN/WH

5828

DVD Audio Right Signal (+)

2

0.18 D-GN/WH

5828

DVD Audio Right Signal (+)

3

0.18 BARE

5339

Shield

3

0.18 BARE

5339

Shield

4

0.18 WH

6975

DVD Video Signal (+)

4

0.18 WH

6975

DVD Video Signal (+)

5

0.18 WH

6976

DVD Video Signal (-)

5

0.18 WH

6976

DVD Video Signal (-)

6-7

--

--

Not Used

6-7

--

--

Not Used

8

0.18 OG

6849

Battery Positive

8

0.18 OG

6849

Battery Positive

9-10

--

--

Not Used

9-10

--

--

Not Used

11

0.18 L-GN

5825

DVD Audio Left Signal (-)

11

0.18 L-GN

5825

DVD Audio Left Signal (-)

12

0.18 D-GN/WH

5827

DVD Audio Right Signal (-)

12

0.18 D-GN/WH

5827

DVD Audio Right Signal (-)

13

0.18 L-BU

6903

Ground

13

0.18 L-BU

6903

Ground

14

0.18 D-GN

6901

RS485 RX

14

0.18 D-GN

6901

RS485 RX

15

0.18 YE

6900

RS485 TX

15

0.18 YE

6900

RS485 TX

16-20

--

--

Not Used

16-20

--

--

Not Used

X344 Inside Rearview Mirror Harness to the I/P Harness


Object Number: 1989511  Size: CH

Object Number: 1989509  Size: CH

Connector Part Information

  • OEM: 7283-3603
  • Service: See Catalog
  • Description: 9-Way F (WH)

Connector Part Information

  • OEM: 7182-0220
  • Service: See Catalog
  • Description: 9-Way M (WH)

Terminal Part Information

  • Terminal/Tray: See Terminal Repair Kit
  • Core/Insulation Crimp: See Terminal Repair Kit
  • Release Tool/Test Probe: See Terminal Repair Kit

Terminal Part Information

  • Terminal/Tray: See Terminal Repair Kit
  • Core/Insulation Crimp: See Terminal Repair Kit
  • Release Tool/Test Probe: See Terminal Repair Kit

X344 Inside Rearview Mirror Harness to the I/P Harness

Pin

Wire Color

Circuit No.

Function

Pin

Wire Color

Circuit No.

Function

1

0.3 PK

654

Cellular Telephone Microphone Low Reference

1

0.3 PK

654

Cellular Telephone Microphone Low Reference

2

0.3 BN/WH

2517

Keypad Red LED Signal

2

0.3 BN/WH

2517

Keypad Red LED Signal

3

0.3 L-GN/BK

2515

Keypad Supply Voltage

3

0.3 L-GN/BK

2515

Keypad Supply Voltage

4

0.3 D-GN

655

Cellular Microphone Signal

4

0.3 D-GN

655

Cellular Microphone Signal

5

0.3 YE/BK

2516

Keypad Green LED Signal

5

0.3 YE/BK

2516

Keypad Green LED Signal

6

0.3 D-GN/WH

2514

Keypad Signal

6

0.3 D-GN/WH

2514

Keypad Signal

7

0.3 L-GN

24

Backup Lamp Supply Voltage

7

0.3 L-GN

24

Backup Lamp Supply Voltage

8

0.5 BN

443

Accessory Voltage

8

0.5 BN

443

Accessory Voltage

9

0.5 BK

1450

Ground

9

0.5 BK

1450

Ground

X355 Body Harness to the Driver Seat Harness


Object Number: 1989515  Size: CH

Object Number: 1989514  Size: CH

Connector Part Information

  • OEM: 174460-2
  • Service: See Catalog
  • Description: 2-Way F

Connector Part Information

  • OEM: 174463-2
  • Service: See Catalog
  • Description: 2-Way M

Terminal Part Information

  • Terminal/Tray: See Terminal Repair Kit
  • Core/Insulation Crimp: See Terminal Repair Kit
  • Release Tool/Test Probe: See Terminal Repair Kit

Terminal Part Information

  • Terminal/Tray: See Terminal Repair Kit
  • Core/Insulation Crimp: See Terminal Repair Kit
  • Release Tool/Test Probe: See Terminal Repair Kit

X355 Body Harness to the Driver Seat Harness

Pin

Wire Color

Circuit No.

Function

Pin

Wire Color

Circuit No.

Function

1

0.3 L-GN

2118

Seat Belt Pretensioner - High Control

1

0.3 L-GN

2118

Seat Belt Pretensioner - High Control

2

0.3 OG

2119

Seat Belt Pretensioner - Low Control

2

0.3 OG

2119

Seat Belt Pretensioner - Low Control

X356 Body Harness to the Passenger Seat Harness


Object Number: 1989515  Size: CH

Object Number: 1989514  Size: CH

Connector Part Information

  • OEM: 174460-2
  • Service: See Catalog
  • Description: 2-Way F

Connector Part Information

  • OEM: 174463-2
  • Service: See Catalog
  • Description: 2-Way M

Terminal Part Information

  • Terminal/Tray: See Terminal Repair Kit
  • Core/Insulation Crimp: See Terminal Repair Kit
  • Release Tool/Test Probe: See Terminal Repair Kit

Terminal Part Information

  • Terminal/Tray: See Terminal Repair Kit
  • Core/Insulation Crimp: See Terminal Repair Kit
  • Release Tool/Test Probe: See Terminal Repair Kit

X356 Body Harness to the Passenger Seat Harness

Pin

Wire Color

Circuit No.

Function

Pin

Wire Color

Circuit No.

Function

1

0.3 BK/WH

2116

Seat Belt Pretensioner - High Control

1

0.3 BK/WH

2116

Seat Belt Pretensioner - High Control

2

0.3 OG/BK

2117

Seat Belt Pretensioner - Low Control

2

0.3 OG/BK

2117

Seat Belt Pretensioner - Low Control

X360 Body Harness to the Rear Wheel Speed Sensors


Object Number: 1989525  Size: CH

Object Number: 1989522  Size: CH

Connector Part Information

  • OEM: 7283-7040-40
  • Service: See Catalog
  • Description: 4-Way F (BK)

Connector Part Information

  • OEM: 7282-7040-40
  • Service: See Catalog
  • Description: 4-Way M 090 II Series Sealed (BK)

Terminal Part Information

  • Terminal/Tray: 7116-4025/11
  • Core/Insulation Crimp: E/1
  • Release Tool/Test Probe: 15313892/J-35616-18 (BK)

Terminal Part Information

  • Terminal/Tray: See Terminal Repair Kit
  • Core/Insulation Crimp: See Terminal Repair Kit
  • Release Tool/Test Probe: See Terminal Repair Kit

X360 Body Harness to the Rear Wheel Speed Sensors

Pin

Wire Color

Circuit No.

Function

Pin

Wire Color

Circuit No.

Function

1

0.5 BN/BK

884

Left Rear Wheel Speed Sensor Signal

1

0.5 BN/BK

884

Left Rear Wheel Speed Sensor Signal

2

0.5 BN

882

Right Rear Wheel Speed Sensor Signal

2

0.5 BN

882

Right Rear Wheel Speed Sensor Signal

3

0.5 GY

7127

Left Rear Wheel Speed Sensor Supply Voltage

3

0.5 GY

7127

Left Rear Wheel Speed Sensor Supply Voltage

4

0.5 GY

7128

Right Rear Wheel Speed Sensor Supply Voltage

4

0.5 GY

7128

Right Rear Wheel Speed Sensor Supply Voltage

X361 Rear Axle Harness to the Body Harness


Object Number: 1989529  Size: CH

Object Number: 1989527  Size: CH

Connector Part Information

  • OEM: 7283-7080-40
  • Service: See Catalog
  • Description: 8-Way F

Connector Part Information

  • OEM: 7282-7080-40
  • Service: See Catalog
  • Description: 8-Way M

Terminal Part Information

  • Terminal/Tray: See Terminal Repair Kit
  • Core/Insulation Crimp: See Terminal Repair Kit
  • Release Tool/Test Probe: See Terminal Repair Kit

Terminal Part Information

  • Terminal/Tray: See Terminal Repair Kit
  • Core/Insulation Crimp: See Terminal Repair Kit
  • Release Tool/Test Probe: See Terminal Repair Kit

X361 Rear Axle Harness to the Body Harness

Pin

Wire Color

Circuit No.

Function

Pin

Wire Color

Circuit No.

Function

1

0.3 L-GN/BK

5209

Headlamp Leveling Sensor Wire 1

1

0.3 L-GN/BK

5209

Headlamp Leveling Sensor Wire 1

2

0.3 OG/BK

5208

Headlamp Leveling Sensor Wire 2

2

0.3 OG/BK

5208

Headlamp Leveling Sensor Wire 2

3

0.5 BN

882

Right Rear Wheel Speed Sensor Signal

3

0.5 BN

882

Right Rear Wheel Speed Sensor Signal

4

0.5 BN/BK

884

Left Rear Wheel Speed Sensor Signal

4

0.5 BN/BK

884

Left Rear Wheel Speed Sensor Signal

5

0.3 L-GN/WH

5210

Headlamp Leveling Sensor Wire 3

5

0.3 L-GN/WH

5210

Headlamp Leveling Sensor Wire 3

6

--

--

Not Used

6

--

--

Not Used

7

0.5 GY

7128

Right Rear Wheel Speed Sensor Supply Voltage

7

0.5 GY

7128

Right Rear Wheel Speed Sensor Supply Voltage

8

0.5 GY

7127

Left Rear Wheel Speed Sensor Supply Voltage

8

0.5 GY

7127

Left Rear Wheel Speed Sensor Supply Voltage

X402 Body Harness to the Decklid Harness


Object Number: 1989540  Size: CH

Object Number: 1989538  Size: CH

Connector Part Information

  • OEM: 7283-1028-40
  • Service: See Catalog
  • Description: 2-Way F 090 II Series (GY)

Connector Part Information

  • OEM: 7282-1028-40
  • Service: See Catalog
  • Description: 2-Way M 090 II Series (GY)

Terminal Part Information

  • Pin: 1
  • Terminal/Tray: 7116-4021/11
  • Core/Insulation Crimp: E/A
  • Release Tool/Test Probe: 15315247/J-35616-18 (BK)
  • Pin: 2
  • Terminal/Tray: 7116-4020/11
  • Core/Insulation Crimp: E/C
  • Release Tool/Test Probe: 15315247/J-35616-18 (BK)

Terminal Part Information

  • Terminal/Tray: See Terminal Repair Kit
  • Core/Insulation Crimp: See Terminal Repair Kit
  • Release Tool/Test Probe: See Terminal Repair Kit

X402 Body Harness to the Decklid Harness

Pin

Wire Color

Circuit No.

Function

Pin

Wire Color

Circuit No.

Function

1

0.85 BN/WH

309

Lamp Supply Voltage

1

0.5 BN/WH

309

Right Park Lamp Supply Voltage

2

0.5 BK

1350

Ground

2

0.5 BK

1350

Ground

X403 Rear Body Harness to the Body Harness


Object Number: 1989545  Size: CH

Object Number: 1989543  Size: CH

Connector Part Information

  • OEM: 7283-1965
  • Service: See Catalog
  • Description: 26-Way F 090 II Series (WH)

Connector Part Information

  • OEM: 7282-1965
  • Service: See Catalog
  • Description: 26-Way M (WH)

Terminal Part Information

  • Pins: 1, 5, 7, 15, 16, 22-24
  • Terminal/Tray: 7116-4020/11
  • Core/Insulation Crimp: E/C
  • Release Tool/Test Probe: 15315247/J-35616-18 (BK)
  • Pin: 25
  • Terminal/Tray: 7116-4021/11
  • Core/Insulation Crimp: E/A
  • Release Tool/Test Probe: 15315247/J-35616-18 (BK)
  • Pins: 11, 20
  • Terminal/Tray: 7116-4031/11
  • Core/Insulation Crimp: C/A
  • Release Tool/Test Probe: 12094430/J-35616-40 (BU)
  • Pins: 12, 21
  • Terminal/Tray: 7116-4032/11
  • Core/Insulation Crimp: A/F
  • Release Tool/Test Probe: 12094430/J-35616-40 (BU)

Terminal Part Information

  • Pins: 1, 5, 7, 15, 16, 22-24
  • Terminal/Tray: 7114-4020/10
  • Core/Insulation Crimp: E/C
  • Release Tool/Test Probe: 15315247/J-35616-19 (BK)
  • Pin: 25
  • Terminal/Tray: 7114-4021/10
  • Core/Insulation Crimp: E/A
  • Release Tool/Test Probe: 15315247/J-35616-19 (BK)
  • Pins: 11, 20
  • Terminal/Tray: 7114-4031/11
  • Core/Insulation Crimp: C/A
  • Release Tool/Test Probe: 12094430/J-35616-41 (BU)
  • Pins: 12, 21
  • Terminal/Tray: 7114-4032/11
  • Core/Insulation Crimp: A/G
  • Release Tool/Test Probe: 12094430/J-35616-41 (BU)
  • Pin: 25
  • Terminal/Tray: 7114-4021/10
  • Core/Insulation Crimp: E/A
  • Release Tool/Test Probe: 15315247/J-35616-19 (BK)

X403 Rear Body Harness to the Body Harness

Pin

Wire Color

Circuit No.

Function

Pin

Wire Color

Circuit No.

Function

1

--

--

Not Used

1

--

--

Not Used

2

0.3 D-GN

2377

RR Middle Object Sensor Signal

2

0.3 D-GN

2377

RR Middle Object Sensor Signal

3-6

--

--

Not Used

3-6

--

--

Not Used

7

0.5 BN/WH

5077

Lamp Supply Voltage

7

0.5 BN/WH

5077

Lamp Supply Voltage

8

0.3 BN

309

Low Reference

8

0.3 BN

309

Low Reference

9

0.3 GY

2379

Object Sensor Low Reference

9

0.3 GY

2379

Object Sensor Low Reference

10

0.3 OG

2376

LR Middle Object Sensor Signal

10

0.3 OG

2376

LR Middle Object Sensor Signal

11

1.25 OG/BU

4340

Battery Positive Voltage

11

1.25 OG/BU

4340

Battery Positive Voltage

12

3 OG/WH

2040

Battery Positive Voltage

12

3 OG/WH

2040

Battery Positive Voltage

13

0.5 OG/YE

4540

Battery Positive Voltage

13

0.5 OG/YE

4540

Battery Positive Voltage

14-15

--

--

Not Used

14-15

--

--

Not Used

16

0.3 BK

1850

Ground

16

0.3 BK

1850

Ground

17

0.3 PK

5076

5-Volt Reference

17

0.3 PK

5076

5-Volt Reference

18

0.3 PU

2378

RR Corner Object Sensor Signal

18

0.3 PU

2378

RR Corner Object Sensor Signal

19

0.3 YE

2375

LR Corner Object Sensor Signal

19

0.3 YE

2375

LR Corner Object Sensor Signal

20

0.85 OG/BK

540

Battery Positive Voltage

20

0.85 OG/BK

540

Battery Positive Voltage

21

3 OG/GN

2840

Battery Positive Voltage

21

3 OG/GN

2840

Battery Positive Voltage

22

0.5 OG/WH

2340

Battery Positive Voltage

22

0.5 OG/WH

2340

Battery Positive Voltage

23

0.85 BN/WH

5075

Rear Compartment Lid Release Actuator

23

0.85 BN/WH

5075

Rear Compartment Lid Release Actuator

24

0.3 OG/BU

2440

Battery Positive Voltage

24

0.3 OG/BU

2440

Battery Positive Voltage

25

0.3 WH/GN

56

Battery Current Signal

25

0.3 WH/GN

56

Battery Current Signal

26

0.3 D-BU

2374

Object Sensor Supply Voltage

26

0.3 D-BU

2374

Object Sensor Supply Voltage

X404 Body Harness to the Rear Body Harness


Object Number: 1989550  Size: CH

Object Number: 1989547  Size: CH

Connector Part Information

  • OEM: 7283-1128
  • Service: See Catalog
  • Description: 12-Way F (WH)

Connector Part Information

  • OEM: 7282-1128
  • Service: See Catalog
  • Description: 12-Way M 090 II Series (WH)

Terminal Part Information

  • Pin: 1
  • Terminal/Tray: 7116-4021/10
  • Core/Insulation Crimp: 2/A
  • Release Tool/Test Probe: 15315247/J-35616-19 (BK)
  • Pins: 2-8
  • Terminal/Tray: 7116-4021/10
  • Core/Insulation Crimp: E/A
  • Release Tool/Test Probe: 15315247/J-35616-19 (BK)
  • Pins: 11, 12
  • Terminal/Tray: 7116-4020/10
  • Core/Insulation Crimp: E/C
  • Release Tool/Test Probe: 15315247/J-35616-19 (BK)

Terminal Part Information

  • Pin: 1
  • Terminal/Tray: 7114-4021/10
  • Core/Insulation Crimp: 2/A
  • Release Tool/Test Probe: 15315247/J-35616-19 (BK)
  • Pins: 2-3, 5, 6, 8
  • Terminal/Tray: 7114-4021/10
  • Core/Insulation Crimp: E/A
  • Release Tool/Test Probe: 15315247/J-35616-19 (BK)
  • Pins: 4, 7, 11, 12
  • Terminal/Tray: 7114-4020/10
  • Core/Insulation Crimp: E/C
  • Release Tool/Test Probe: 15315247/J-35616-19 (BK)

X404 Body Harness to the Rear Body Harness

Pin

Wire Color

Circuit No.

Function

Pin

Wire Color

Circuit No.

Function

1

1.25 L-BU

20

Stop Lamp Supply Voltage

1

1.25 L-BU

20

Stop Lamp Supply Voltage

2

0.85 L-GN

24

Backup Lamp Supply Voltage

2

0.85 L-GN

24

Backup Lamp Supply Voltage

3

0.85 D-GN/WH

1335

Right Rear Turn Signal Lamp Supply Voltage

3

0.85 D-GN/WH

1335

Right Rear Turn Signal Lamp Supply Voltage

4

0.85 BN/WH

309

Lamp Supply Voltage

4

0.5 BN/WH

309

Lamp Supply Voltage

5

0.85 PU

709

Left Park Lamp Supply Voltage

5

0.85 PU

709

Left Park Lamp Supply Voltage

6

0.85 YE/BK

1334

Left Rear Turn Signal Lamp Supply Voltage

6

0.85 YE/BK

1334

Left Rear Turn Signal Lamp Supply Voltage

7

0.85 BK/WH

1851

Ground

7

0.3 BK/WH

1851

Ground

8

0.85 BK

1851

Ground

8

0.85 BK/WH

1850

Ground

9-10

--

--

Not Used

9-10

--

--

Not Used

11

0.3 OG/BK

744

Rear Compartment Lid Ajar Switch Signal

11

0.3 OG/BK

744

Rear Compartment Lid Ajar Switch Signal

12

0.5 D-BU

737

Rear Compartment Lamp Control

12

0.5 D-BU

737

Rear Compartment Lamp Control

X405 X405 Body Harness to the Rear Compartment Harness (F19)


Object Number: 1989556  Size: CH

Object Number: 1989552  Size: CH

Connector Part Information

  • OEM: 7283-1080
  • Service: See Catalog
  • Description: 8-Way F

Connector Part Information

  • OEM: 7282-1080
  • Service: See Catalog
  • Description: 8-Way M

Terminal Part Information

  • Terminal/Tray: See Terminal Repair Kit
  • Core/Insulation Crimp: See Terminal Repair Kit
  • Release Tool/Test Probe: See Terminal Repair Kit

Terminal Part Information

  • Terminal/Tray: See Terminal Repair Kit
  • Core/Insulation Crimp: See Terminal Repair Kit
  • Release Tool/Test Probe: See Terminal Repair Kit

X405 X405 Body Harness to the Rear Compartment Harness (F19)

Pin

Wire Color

Circuit No.

Function

Pin

Wire Color

Circuit No.

Function

1

0.3 OG

2376

LR Middle Object Sensor Signal

1

0.3 OG

2376

LR Middle Object Sensor Signal

2

0.3 YE

2375

LR Corner Object Sensor Signal

2

0.3 YE

2375

LR Corner Object Sensor Signal

3

0.5 BN/WH

309

Lamp Supply Voltage

3

0.5 BN/WH

309

Lamp Supply Voltage

4

0.3 GY

2379

Object Sensor Low Reference

4

0.3 GY

2379

Object Sensor Low Reference

5

0.3 PU

2378

RR Corner Object Sensor Signal

5

0.3 PU

2378

RR Corner Object Sensor Signal

6

0.3 D-BU

2374

Object Sensor Supply Voltage

6

0.3 D-BU

2374

Object Sensor Supply Voltage

7

0.3 D-GN

2377

RR Middle Object Sensor Signal

7

0.3 D-GN

2377

RR Middle Object Sensor Signal

8

0.3 BK

1850

Ground

8

0.3 BK

1850

Ground

X405 Body Harness to the Rear Compartment Harness (F69 without T79)


Object Number: 1989378  Size: CH

Object Number: 1989374  Size: CH

Connector Part Information

  • OEM: 7283-1068
  • Service: See Catalog
  • Description: 6-Way F

Connector Part Information

  • OEM: 7282-1068
  • Service: See Catalog
  • Description: 6-Way M

Terminal Part Information

  • Terminal/Tray: See Terminal Repair Kit
  • Core/Insulation Crimp: See Terminal Repair Kit
  • Release Tool/Test Probe: See Terminal Repair Kit

Terminal Part Information

  • Terminal/Tray: See Terminal Repair Kit
  • Core/Insulation Crimp: See Terminal Repair Kit
  • Release Tool/Test Probe: See Terminal Repair Kit

X405 Body Harness to the Rear Compartment Harness (F69 without T79)

Pin

Wire Color

Circuit No.

Function

Pin

Wire Color

Circuit No.

Function

1

0.3 OG

2376

LR Middle Object Sensor Signal

1

0.3 OG

2376

LR Middle Object Sensor Signal

2

0.3 YE

2375

LR Corner Object Sensor Signal

2

0.3 YE

2375

LR Corner Object Sensor Signal

3

0.3 D-BU

2374

Object Sensor Supply Voltage

3

0.3 D-BU

2374

Object Sensor Supply Voltage

4

0.3 GY

2379

Object Sensor Low Reference

4

0.3 GY

2379

Object Sensor Low Reference

5

0.3 PU

2378

RR Corner Object Sensor Signal

5

0.3 PU

2378

RR Corner Object Sensor Signal

6

0.3 D-GN

2377

RR Middle Object Sensor Signal

6

0.3 D-GN

2377

RR Middle Object Sensor Signal

X408 Battery Cable to the Body Harness


Object Number: 1989493  Size: CH

Object Number: 1989490  Size: CH

Connector Part Information

  • OEM: 7123-4123-30
  • Service: 88953301
  • Description: 2-Way F L Type (BK)

Connector Part Information

  • OEM: 7122-4123-30
  • Service: See Catalog
  • Description: 2-Way M 58 L-Type (BK)

Terminal Part Information

  • Terminal/Tray: See Terminal Repair Kit
  • Core/Insulation Crimp: See Terminal Repair Kit
  • Release Tool/Test Probe: See Terminal Repair Kit

Terminal Part Information

  • Terminal/Tray: 7114-3250/14
  • Core/Insulation Crimp: G/3
  • Release Tool/Test Probe: 12094430/J-35616-21 (RD)

X408 Battery Cable to the Body Harness

Pin

Wire Color

Circuit No.

Function

Pin

Wire Color

Circuit No.

Function

1

8 RD/BK

1042

Battery Positive Voltage

1

5 RD/BK

1042

Battery Positive Voltage

2

5 RD/BK

1242

Battery Positive Voltage

2

5 RD/BK

9242

Battery Positive Voltage

X412 Rear Body Harness to the Rear Body Harness


Object Number: 1989493  Size: CH

Object Number: 1989490  Size: CH

Connector Part Information

  • OEM: 7123-4129-90
  • Service:See Catalog
  • Description: 2-Way F (BU)

Connector Part Information

  • OEM: 7122-4129-90
  • Service: See Catalog
  • Description: 2-Way M (BU)

Terminal Part Information

  • Terminal/Tray: 7116-3250/10
  • Core/Insulation Crimp: G/3
  • Release Tool/Test Probe: 12094430/J-35616-22 (RD)

Terminal Part Information

  • Terminal/Tray: 7116-3250/10
  • Core/Insulation Crimp: G/3
  • Release Tool/Test Probe: 12094430/J-35616-22 (RD)

X412 Rear Body Harness to the Rear Body Harness

Pin

Wire Color

Circuit No.

Function

Pin

Wire Color

Circuit No.

Function

1

5 RD/BK

9242

Battery Positive Voltage

1

5 RD/BK

1242

Battery Positive Voltage

2

--

--

Not Used

2

--

--

Not Used

X413 Electronic Stability Control Harness to the Fuel Tank Harness (HSV)


Object Number: 1989560  Size: CH

Object Number: 1989558  Size: CH

Connector Part Information

  • OEM: 7123-7923-30
  • Service: See Catalog
  • Description: 12-Way F

Connector Part Information

  • OEM: 7222-7933-30
  • Service: See Catalog
  • Description: 12-Way M

Terminal Part Information

  • Terminal/Tray: See Terminal Repair Kit
  • Core/Insulation Crimp: See Terminal Repair Kit
  • Release Tool/Test Probe: See Terminal Repair Kit

Terminal Part Information

  • Terminal/Tray: See Terminal Repair Kit
  • Core/Insulation Crimp: See Terminal Repair Kit
  • Release Tool/Test Probe: See Terminal Repair Kit

X413 Electronic Stability Control Harness to the Fuel Tank Harness (HSV)

Pin

Wire Color

Circuit No.

Function

Pin

Wire Color

Circuit No.

Function

1

0.35 GY/BU

1208

Left Rear Suspension Position Sensor Voltage Reference

1

0.35 GY/BU

1208

Left Rear Suspension Position Sensor Voltage Reference

2

0.35 GY

1210

Left Rear Suspension Position Sensor Signal

2

0.35 GY

1210

Left Rear Suspension Position Sensor Signal

3

0.35 GY/BK

1209

Left Rear Suspension Position Sensor Low Reference

3

0.35 GY/BK

1209

Left Rear Suspension Position Sensor Low Reference

4

0.75 WH/BK

1115

Left Rear Damper Low Reference

4

0.75 WH/BK

1115

Left Rear Damper Low Reference

5

0.75 WH/RD

1114

Left Rear Damper Control

5

0.75 WH/RD

1114

Left Rear Damper Control

6

0.35 BN/WH

1214

Right Rear Suspension Position Sensor Voltage Reference

6

0.35 BN/WH

1214

Right Rear Suspension Position Sensor Voltage Reference

7

0.35 BN

1216

Right Rear Suspension Position Sensor Signal

7

0.35 BN

1216

Right Rear Suspension Position Sensor Signal

8

0.35 BN/BK

1215

Right Rear Suspension Position Sensor Low Reference

8

0.35 BN/BK

1215

Right Rear Suspension Position Sensor Low Reference

9

0.75 L-GN/BK

1119

Right Rear Damper Low Reference

9

0.75 L-GN/BK

1119

Right Rear Damper Low Reference

10

0.75 L-GN/RD

1118

Right Rear Damper Control

10

0.75 L-GN/RD

1118

Right Rear Damper Control

11-12

--

--

Not Used

11-12

--

--

Not Used

X415 (HSV) (Pigtail?)


Object Number: 1989566  Size: CH

Object Number: 1989563  Size: CH

Connector Part Information

  • OEM:
  • Service: See Catalog
  • Description: 2-Way F

Connector Part Information

  • OEM:
  • Service: See Catalog
  • Description: 2-Way M

Terminal Part Information

  • Terminal/Tray: See Terminal Repair Kit
  • Core/Insulation Crimp: See Terminal Repair Kit
  • Release Tool/Test Probe: See Terminal Repair Kit

Terminal Part Information

  • Terminal/Tray: See Terminal Repair Kit
  • Core/Insulation Crimp: See Terminal Repair Kit
  • Release Tool/Test Probe: See Terminal Repair Kit

X415 (HSV) (Pigtail?)

Pin

Wire Color

Circuit No.

Function

Pin

Wire Color

Circuit No.

Function

A

0.75 WH/RD

1118

Right Rear Damper Control

A

0.75 L-GN/RD

1118

Right Rear Damper Control

B

0.75 WH/BK

1119

Right Rear Damper Low Reference

B

0.75 L-GN/BK

1119

Right Rear Damper Low Reference

X416 (HSV) (Pigtail?)


Object Number: 1989566  Size: CH

Object Number: 1989563  Size: CH

Connector Part Information

  • OEM:
  • Service: See Catalog
  • Description: 2-Way F

Connector Part Information

  • OEM:
  • Service: See Catalog
  • Description: 2-Way M

Terminal Part Information

  • Terminal/Tray: See Terminal Repair Kit
  • Core/Insulation Crimp: See Terminal Repair Kit
  • Release Tool/Test Probe: See Terminal Repair Kit

Terminal Part Information

  • Terminal/Tray: See Terminal Repair Kit
  • Core/Insulation Crimp: See Terminal Repair Kit
  • Release Tool/Test Probe: See Terminal Repair Kit

X416 (HSV) (Pigtail?)

Pin

Wire Color

Circuit No.

Function

Pin

Wire Color

Circuit No.

Function

A

0.75 WH/RD

1114

Left Rear Damper Control

A

0.75 WH/RD

1114

Left Rear Damper Control

B

0.75 WH/BK

1115

Left Rear Damper Low Reference

B

0.75 WH/BK

1115

Left Rear Damper Low Reference

X433 Rear Fascia Harness to the License Lamp Harness (WM)


Object Number: 1989482  Size: CH

Object Number: 1989479  Size: CH

Connector Part Information

  • OEM: 7283-7420-40
  • Service: See Catalog
  • Description: 2-Way F (GY)

Connector Part Information

  • OEM: 7282-7420-40
  • Service: See Catalog
  • Description: 2-Way M 090 II Series Sealed (GY)

Terminal Part Information

  • Terminal/Tray: See Terminal Repair Kit
  • Core/Insulation Crimp: See Terminal Repair Kit
  • Release Tool/Test Probe: See Terminal Repair Kit

Terminal Part Information

  • Terminal/Tray: See Terminal Repair Kit
  • Core/Insulation Crimp: See Terminal Repair Kit
  • Release Tool/Test Probe: See Terminal Repair Kit

X433 Rear Fascia Harness to the License Lamp Harness (WM)

Pin

Wire Color

Circuit No.

Function

Pin

Wire Color

Circuit No.

Function

1

0.5 BK

1850

Ground

1

0.5 BK

1850

Ground

2

0.5 BN/WH

309

Lamp Supply Voltage

2

0.5 BN/WH

309

Lamp Supply Voltage

X450 Rear Body Harness to the Right Rear Tail Lamp Assembly


Object Number: 1989315  Size: CH

Object Number: 1989645  Size: CH

Connector Part Information

  • OEM: 7283-0637
  • Service: See Catalog
  • Description: 6-Way F 090 Series (WH)

Connector Part Information

  • OEM: 936268-1
  • Service: See Catalog
  • Description: 6-Way M (WH)

Terminal Part Information

  • Terminal/Tray: See Terminal Repair Kit
  • Core/Insulation Crimp: See Terminal Repair Kit
  • Release Tool/Test Probe: See Terminal Repair Kit

Terminal Part Information

  • Terminal/Tray: See Terminal Repair Kit
  • Core/Insulation Crimp: See Terminal Repair Kit
  • Release Tool/Test Probe: See Terminal Repair Kit

X450 Rear Body Harness to the Right Rear Tail Lamp Assembly

Pin

Wire Color

Circuit No.

Function

Pin

Wire Color

Circuit No.

Function

1

0.85 BK/WH

1851

Ground

1

0.85 BK/WH

1851

Ground

2

0.85 BK

1850

Ground

2

0.85 BK

1850

Ground

3

0.85 BN/WH

709

Right Park Lamp Supply Voltage

3

0.85 BN/WH

709

Right Park Lamp Supply Voltage

4

0.85 L-BU

20

Stop Lamp Supply Voltage

4

0.85 L-BU

20

Stop Lamp Supply Voltage

5

0.85 L-GN

24

Backup Lamp Supply Voltage

5

0.85 L-GN

24

Backup Lamp Supply Voltage

6

0.85 D-GN/WH

1334

Right Rear Turn Signal Lamp Supply Voltage

6

0.85 D-GN/WH

1334

Right Rear Turn Signal Lamp Supply Voltage

X451 Rear Body Harness to the Left Rear Tail Lamp Assembly


Object Number: 1989315  Size: CH

Object Number: 1989645  Size: CH

Connector Part Information

  • OEM: 7283-0637
  • Service: See Catalog
  • Description: 6-Way F 090 Series (WH)

Connector Part Information

  • OEM: 936268-1
  • Service: See Catalog
  • Description: 6-Way M (WH)

Terminal Part Information

  • Terminal/Tray: See Terminal Repair Kit
  • Core/Insulation Crimp: See Terminal Repair Kit
  • Release Tool/Test Probe: See Terminal Repair Kit

Terminal Part Information

  • Terminal/Tray: See Terminal Repair Kit
  • Core/Insulation Crimp: See Terminal Repair Kit
  • Release Tool/Test Probe: See Terminal Repair Kit

X451 Rear Body Harness to the Left Rear Tail Lamp Assembly

Pin

Wire Color

Circuit No.

Function

Pin

Wire Color

Circuit No.

Function

1

0.3 BK/WH

1851

Ground

1

0.3 BK/WH

1851

Ground

2

0.85 BK

1850

Ground

2

0.85 BK

1850

Ground

3

0.85 PU

309

Left Park Lamp Supply Voltage

3

0.85 PU

309

Left Park Lamp Supply Voltage

4

0.85 L-BU

20

Stop Lamp Supply Voltage

4

0.85 L-BU

20

Stop Lamp Supply Voltage

5

0.85 L-GN

24

Backup Lamp Supply Voltage

5

0.85 L-GN

24

Backup Lamp Supply Voltage

6

0.85 YE/BK

1335

Left Rear Turn Signal Lamp Supply Voltage

6

0.85 YE/BK

1335

Left Rear Turn Signal Lamp Supply Voltage

X500 Body Harness to the Left Front Door Harness


Object Number: 1989356  Size: CH

Object Number: 1989353  Size: CH

Connector Part Information

  • OEM: 7283-1168
  • Service: See Catalog
  • Description: 16-Way F (WH)

Connector Part Information

  • OEM: 7282-1168
  • Service: See Catalog
  • Description: 16-Way M 090 II Series (WH)

Terminal Part Information

  • Pins: 1, 2, 5, 6, 9, 11, 12, 15
  • Terminal/Tray: 7116-4020/11
  • Core/Insulation Crimp: E/C
  • Release Tool/Test Probe: 15315247/J-35616-19 (BK)
  • Pins: 4, 10
  • Terminal/Tray: 7114-4021/10
  • Core/Insulation Crimp: 2/A
  • Release Tool/Test Probe: 15315247/J-35616-19 (BK)
  • Pin: 7
  • Terminal/Tray: 7114-4030/11
  • Core/Insulation Crimp: E/A
  • Release Tool/Test Probe: 12094430/J-35616-41 (BU)
  • Pins: 8, 14
  • Terminal/Tray: 7114-4032/11
  • Core/Insulation Crimp: 4/B
  • Release Tool/Test Probe: 12094430/J-35616-41 (BU)

Terminal Part Information

  • Pins: 1, 2, 5, 6, 9, 11, 12, 15
  • Terminal/Tray: 7114-4020/10
  • Core/Insulation Crimp: E/C
  • Release Tool/Test Probe: 15315247/J-35616-19 (BK)
  • Pins: 4, 10
  • Terminal/Tray: 7114-4021/10
  • Core/Insulation Crimp: E/A
  • Release Tool/Test Probe: 15315247/J-35616-19 (BK)
  • Pin: 7
  • Terminal/Tray: 7114-4030/11
  • Core/Insulation Crimp: E/A
  • Release Tool/Test Probe: 12094430/J-35616-41 (BU)
  • Pins: 8, 14
  • Terminal/Tray: 7114-4032/11
  • Core/Insulation Crimp: 4/B
  • Release Tool/Test Probe: 12094430/J-35616-41 (BU)

X500 Body Harness to the Left Front Door Harness

Pin

Wire Color

Circuit No.

Function

Pin

Wire Color

Circuit No.

Function

1

0.5 WH

7391

Power Window Switch Right and Up

1

0.5 WH

7391

Power Window Switch Right and Up

0.5 D-GN

1301

Rap (X) Fuse Supply Voltage (WNB)

0.5 D-GN

1301

Rap (X) Fuse Supply Voltage (WNB)

2

0.3 BN/WH

746

Passenger Door Ajar Switch Signal

2

0.3 BN/WH

746

Passenger Door Ajar Switch Signal

3

--

--

Not Used

3

--

--

Not Used

4

0.75 BN/RD

294

Driver Door Lock Actuator Unlock Control

4

0.75 BN/RD

294

Driver Door Lock Actuator Unlock Control

5

0.5 WH/BK

81

Power Window Master Switch Left Front Up Signal

5

0.5 WH/BK

81

Power Window Master Switch Left Front Up Signal

0.5 BN/RD

1300

Power Window Master Switch Left Front Up Signal (WNB)

0.5 BN/RD

1300

Power Window Master Switch Left Front Up Signal (WNB)

6

0.5 BN

201

Left Front Speaker Output (+) (UW5)

6

0.5 BN

201

Left Front Speaker Output (+) (UW5)

0.5 TN

201

Left Front Speaker Output (+) (without UW5)

0.5 TN

201

Left Front Speaker Output (+) (without UW5)

7

0.5 BK

2050

Ground

7

0.5 BK

2050

Ground

8

2 D-BU

164

Power Window Motor Left Front Up Control

8

2 D-BU

164

Power Window Motor Left Front Up Control

9

--

--

Not Used

9

--

--

Not Used

10

0.75 D-GN/WH

295

Door Lock Actuator Lock Control

10

0.75 D-GN/WH

295

Door Lock Actuator Lock Control

11

0.5 L-GN/BK

89

Power Window Master Switch Left Front Down Signal (without A45)

11

0.5 L-GN/BK

89

Power Window Master Switch Left Front Down Signal (without A45)

0.5 GY/BU

1136

Power Window Master Switch Left Front Down Signal (WNB)

0.5 GY/BU

1136

Power Window Master Switch Left Front Down Signal (WNB)

0.5 PK/WH

889

Memory Mirror Voltage (A45)

0.5 PK/WH

889

Memory Mirror Voltage (A45)

12

0.5 GY

118

Left Front Speaker Output (-)

12

0.5 GY

118

Left Front Speaker Output (-)

13

0.5 RD/WH

1540

Battery Positive Voltage

13

0.5 RD/WH

1540

Battery Positive Voltage

14

2 BN/OG

165

Power Window Motor Left Front Down Control

14

2 BN/OG

165

Power Window Motor Left Front Down Control

15-16

--

--

Not Used

15-16

--

--

Not Used

X600 Body Harness to the Right Front Door Harness


Object Number: 1989356  Size: CH

Object Number: 1989353  Size: CH

Connector Part Information

  • OEM: 7283-1168
  • Service: See Catalog
  • Description: 16-Way F 090 II Series (WH)

Connector Part Information

  • OEM: 7282-1168
  • Service: See Catalog
  • Description: 16-Way M (WH)

Terminal Part Information

  • Pins: 1, 2, 5, 6, 11, 12
  • Terminal/Tray: 7116-4020/11
  • Core/Insulation Crimp: E/C
  • Release Tool/Test Probe: 15315247/J-35616-18 (BK)
  • Pins: 4, 10
  • Terminal/Tray: 7116-4021/11
  • Core/Insulation Crimp: 2/A
  • Release Tool/Test Probe: 15315247/J-35616-18 (BK)
  • Pin: 7
  • Terminal/Tray: 7116-4031/11
  • Core/Insulation Crimp: C/E/A
  • Release Tool/Test Probe: 12094430/J-35616-40 (BU)
  • Pins: 8, 14
  • Terminal/Tray: 7116-4032/11
  • Core/Insulation Crimp: 4/B
  • Release Tool/Test Probe: 12094430/J-35616-40 (BU)

Terminal Part Information

  • Pins: 1, 2, 5, 6, 11, 12
  • Terminal/Tray: 7114-4020/10
  • Core/Insulation Crimp: E/C
  • Release Tool/Test Probe: 15315247/J-35616-19 (BK)
  • Pins: 4, 10
  • Terminal/Tray: 7114-4021/10
  • Core/Insulation Crimp: E/A
  • Release Tool/Test Probe: 15315247/J-35616-19 (BK)
  • Pin: 7
  • Terminal/Tray: 7114-4031/11
  • Core/Insulation Crimp: E/A
  • Release Tool/Test Probe: 12094430/J-35616-41 (BU)
  • Pins: 8, 14
  • Terminal/Tray: 7114-4032/11
  • Core/Insulation Crimp: 4/B
  • Release Tool/Test Probe: 12094430/J-35616-41 (BU)

X600 Body Harness to the Right Front Door Harness

Pin

Wire Color

Circuit No.

Function

Pin

Wire Color

Circuit No.

Function

1

7391

Power Window Switch Right and Up (without A45)

1

7391

Power Window Switch Right and Up (without A45)

0.5 WH

2851

Memory Mirror Ground (A45)

0.5 WH

2851

Memory Mirror Ground (A45)

0.5 D-GN

1301

Rap (X) Fuse Supply Voltage

0.5 D-GN

1301

Rap (X) Fuse Supply Voltage

2

0.3 GY/BK

745

Right Front Door Ajar Switch Signal

2

0.3 GY/BK

745

Right Front Door Ajar Switch Signal

3

--

--

Not Used

3

--

--

Not Used

4

0.75 BN/RD

694

Driver Door Lock Actuator Unlock Control

4

0.75 BN/RD

694

Driver Door Lock Actuator Unlock Control

5

0.5 OG/WH

881

Power Window Master Switch Right Front Up Signal

5

0.5 OG/WH

881

Power Window Master Switch Right Front Up Signal

0.5 L-BU

166

Power Window Master Switch Right Front Up Signal (WNB)

0.5 L-BU

166

Power Window Master Switch Right Front Up Signal (WNB)

6

0.5 L-GN/BK

200

Right Front Speaker Output (+) (UW5)

6

0.5 L-GN/BK

200

Right Front Speaker Output (+) (UW5)

0.5 L-GN

200

Right Front Speaker Output (+) (without UW5)

0.5 L-GN

200

Right Front Speaker Output (+) (without UW5)

7

0.5 BK

1350

Ground

7

0.5 BK

1350

Ground

8

2 BU/WH

666

Power Window Motor Right Front Up Control

8

2 BU/WH

666

Power Window Motor Right Front Up Control

9

0.3 PK/BK

780

Driver Door Lock Switch Lock Signal

9

0.3 PK/BK

780

Driver Door Lock Switch Lock Signal

10

0.75 D-GN/WH

295

Door Lock Actuator Lock Control

10

0.75 D-GN/WH

295

Door Lock Actuator Lock Control

11

0.5 PU/WH

889

Power Window Master Switch Right Front Down Signal (without A45)

11

0.5 PU/WH

889

Power Window Master Switch Right Front Down Signal (without A45)

0.5 PK/WH

6839

Memory Mirror Voltage (A45)

0.5 PK/WH

6839

Memory Mirror Voltage (A45)

0.5 D-GN/WH

167

Power Window Master Switch Right Front Down Signal (WNB)

0.5 D-GN/WH

167

Power Window Master Switch Right Front Down Signal (WNB)

12

0.5 D-GN

117

Right Front Speaker Output (-)

12

0.5 D-GN

117

Right Front Speaker Output (-)

13

0.5 RD/WH

1540

Battery Positive Voltage

13

0.5 RD/WH

1540

Battery Positive Voltage

14

2 BN

667

Power Window Motor Right Front Down Control

14

2 BN

667

Power Window Motor Right Front Down Control

15

0.3 PK

781

Driver Door Lock Switch Unlock Signal

15

0.3 PK

781

Driver Door Lock Switch Unlock Signal

16

--

--

Not Used

16

--

--

Not Used

X700 Body Harness to the Left Rear Door Harness


Object Number: 1989356  Size: CH

Object Number: 1989353  Size: CH

Connector Part Information

  • OEM: 7283-1168
  • Service: See Catalog
  • Description: 16-Way F 090 II Series (WH)

Connector Part Information

  • OEM: 7282-1168
  • Service: See Catalog
  • Description: 16-Way M 090 II Series (WH)

Terminal Part Information

  • Pins: 2, 6, 12
  • Terminal/Tray: 7116-4020/11
  • Core/Insulation Crimp: E/C
  • Release Tool/Test Probe: 15315247/J-35616-18 (BK)
  • Pins: 4, 10
  • Terminal/Tray: 7116-4021/11
  • Core/Insulation Crimp: 2/A
  • Release Tool/Test Probe: 15315247/J-35616-18 (BK)
  • Pin: 7
  • Terminal/Tray: 7116-4031/11
  • Core/Insulation Crimp: C/E/A
  • Release Tool/Test Probe: 12094430/J-35616-40 (BU)
  • Pins: 8, 13, 14
  • Terminal/Tray: 7116-4032/11
  • Core/Insulation Crimp: 4/B
  • Release Tool/Test Probe: 12094430/J-35616-40 (BU)

Terminal Part Information

  • Pins: 2, 6, 12
  • Terminal/Tray: 7114-4020/10
  • Core/Insulation Crimp: E/C
  • Release Tool/Test Probe: 15315247/J-35616-19 (BK)
  • Pins: 4, 10
  • Terminal/Tray: 7114-4021/10
  • Core/Insulation Crimp: E/A
  • Release Tool/Test Probe: 15315247/J-35616-19 (BK)
  • Pins: 7
  • Terminal/Tray: 7114-4031/11
  • Core/Insulation Crimp: E/A
  • Release Tool/Test Probe: 12094430/J-35616-41 (BU)
  • Pins: 8, 13, 14
  • Terminal/Tray: 7114-4032/11
  • Core/Insulation Crimp: 4/B
  • Release Tool/Test Probe: 12094430/J-35616-41 (BU)

X700 Body Harness to the Left Rear Door Harness

Pin

Wire Color

Circuit No.

Function

Pin

Wire Color

Circuit No.

Function

1

--

--

Not Used

1

--

--

Not Used

2

0.5 BN/WH

746

Right Front Door Ajar Switch Signal

2

0.5 BN/WH

746

Right Front Door Ajar Switch Signal

3

--

--

Not Used

3

--

--

Not Used

4

1.25 BN/RD

294

Driver Door Lock Actuator Unlock Control

4

0.75 BN/RD

294

Driver Door Lock Actuator Unlock Control

5

--

--

Not Used

5

--

--

Not Used

6

0.5 BN

199

Left Rear Speaker Output (+)

6

0.5 BN

199

Left Rear Speaker Output (+)

7

0.5 BK

2050

Ground

7

0.5 BK

2050

Ground

8

2 D-GN

168

Power Window Master Switch Left Rear Up Signal

8

2 D-GN

168

Power Window Master Switch Left Rear Up Signal

9

--

--

Not Used

9

--

--

Not Used

10

1.25 D-GN/WH

295

Door Lock Actuator Lock Control

10

0.75 D-GN/WH

295

Door Lock Actuator Lock Control

11

0.5 D-BU/WH

149

Courtesy Lamp Supply Voltage

11

0.5 D-BU/WH

149

Courtesy Lamp Supply Voltage

12

0.5 YE/RD

116

Left Rear Speaker Output (-)

12

0.5 YE/RD

116

Left Rear Speaker Output (-)

13

2 D-BU

1307

Power Window Master Switch Lockout Control

13

2 D-BU

1307

Power Window Master Switch Lockout Control

14

2 PU

169

Power Window Master Switch Left Rear Down Signal

14

2 PU

169

Power Window Master Switch Left Rear Down Signal

15-16

--

--

Not Used

15-16

--

--

Not Used

X800 Body Harness to the Right Rear Door Harness


Object Number: 1989356  Size: CH

Object Number: 1989353  Size: CH

Connector Part Information

  • OEM: 7283-1168
  • Service: See Catalog
  • Description: 16-Way F (WH)

Connector Part Information

  • OEM: 7282-1168
  • Service: See Catalog
  • Description: 16-Way M (WH)

Terminal Part Information

  • Pins: 2, 6, 12
  • Terminal/Tray: 7116-4020/11
  • Core/Insulation Crimp: E/C
  • Release Tool/Test Probe: 15315247/J-35616-18 (BK)
  • Pins: 4, 10
  • Terminal/Tray: 7116-4021/11
  • Core/Insulation Crimp: 2/A
  • Release Tool/Test Probe: 15315247/J-35616-18 (BK)
  • Pin: 7
  • Terminal/Tray: 7116-4031/11
  • Core/Insulation Crimp: C/E/A
  • Release Tool/Test Probe: 12094430/J-35616-40 (BU)
  • Pins: 8, 13, 14
  • Terminal/Tray: 7116-4032/11
  • Core/Insulation Crimp: 4/B
  • Release Tool/Test Probe: 12094430/J-35616-40 (BU)

Terminal Part Information

  • Pins: 4, 10
  • Terminal/Tray: 7116-4021/11
  • Core/Insulation Crimp: 2/A
  • Release Tool/Test Probe: 15315247/J-35616-18 (BK)
  • Pin: 7
  • Terminal/Tray: 7116-4031/11
  • Core/Insulation Crimp: C/E/A
  • Release Tool/Test Probe: 12094430/J-35616-40 (BU)
  • Pins: 8, 13, 14
  • Terminal/Tray: 7116-4032/11
  • Core/Insulation Crimp: 4/B
  • Release Tool/Test Probe: 12094430/J-35616-40 (BU)

X800 Body Harness to the Right Rear Door Harness

Pin

Wire Color

Circuit No.

Function

Pin

Wire Color

Circuit No.

Function

1

--

--

Not Used

1

--

--

Not Used

2

0.3 BN/WH

746

Passenger Door Ajar Switch Control

2

0.3 BN/WH

746

Right Front Door Ajar Switch Signal

3

--

--

Not Used

3

--

--

Not Used

4

1.25 BN/RD

294

Driver Door Lock Actuator Unlock Control

4

0.75 BN/RD

294

Driver Door Lock Actuator Unlock Control

5

--

--

Not Used

5

--

--

Not Used

6

0.5 D-BU

46

Right Rear Speaker Output (+)

6

0.5 D-BU

46

Base: Right Rear Speaker Output (+)

7

0.5 BK

1350

Ground

7

0.5 BK

1350

Ground

8

2 L-GN

170

Power Window Master Switch Right Rear Up Signal

8

2 L-GN

170

Power Window Master Switch Right Rear Up Signal

9

--

--

Not Used

9

--

--

Not Used

10

1.25 D-GN/WH

295

Door Lock Actuator Lock Control

10

0.75 D-GN/WH

295

Door Lock Actuator Lock Control

11

0.5 D-BU/WH

149

Courtesy Lamp Supply Voltage

11

0.5 D-BU/WH

149

Courtesy Lamp Supply Voltage

12

0.5 L-BU

115

Right Rear Speaker Output (-)

12

0.5 L-BU

115

Right Rear Speaker Output (-)

13

2 D-BU

1307

Power Window Master Switch Lockout Control

13

2 D-BU

1307

Power Window Master Switch Lockout Control

14

2 PU/WH

171

Power Window Master Switch Right Rear Down Signal

14

2 PU

171

Power Window Master Switch Right Rear Down Signal

15-16

--

--

Not Used

15-16

--

--

Not Used