GM Service Manual Online
For 1990-2009 cars only

Removal Procedure

  1. Cycle the sunroof window to the vent position in order to ease in the removal of the sunshade panel.
  2. Remove the headliner. Refer to Headlining Trim Panel Replacement.
  3. Remove the sunroof module. Refer to Sunroof Module Assembly Replacement.

  4. Object Number: 1939021  Size: SH
  5. Remove the sunshade stop rubber to sunroof module retaining screw (2). Repeat for the opposite side.
  6. Remove the sunshade stop rubber (1) from the sunroof module by sliding the sunshade stop rubber to the rear of the sunroof module. Repeat for the opposite side.

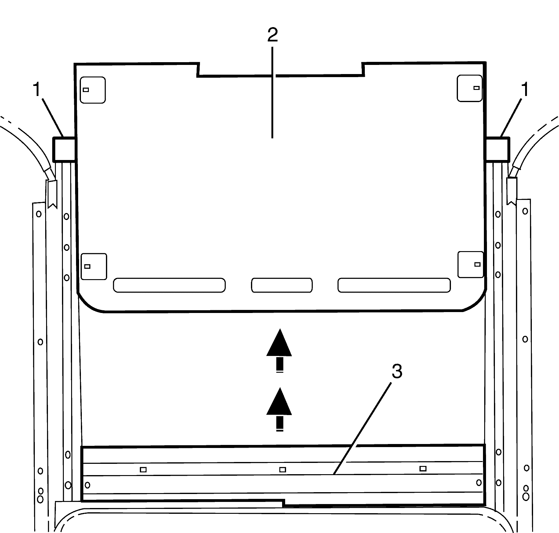
  7. Object Number: 1939083  Size: SH
  8. Remove the end caps (1) from the sunroof rail.
  9. Carefully remove the sunshade panel (2) by sliding the sunshade panel towards the rear of the sunroof.
  10. Important: Do not apply excessive pressure when arching the sunshade panel, failure to comply may result in damage to the sunshade panel.

  11. Remove the sunshade panel (1) from the sunroof module (3).

Installation Procedure


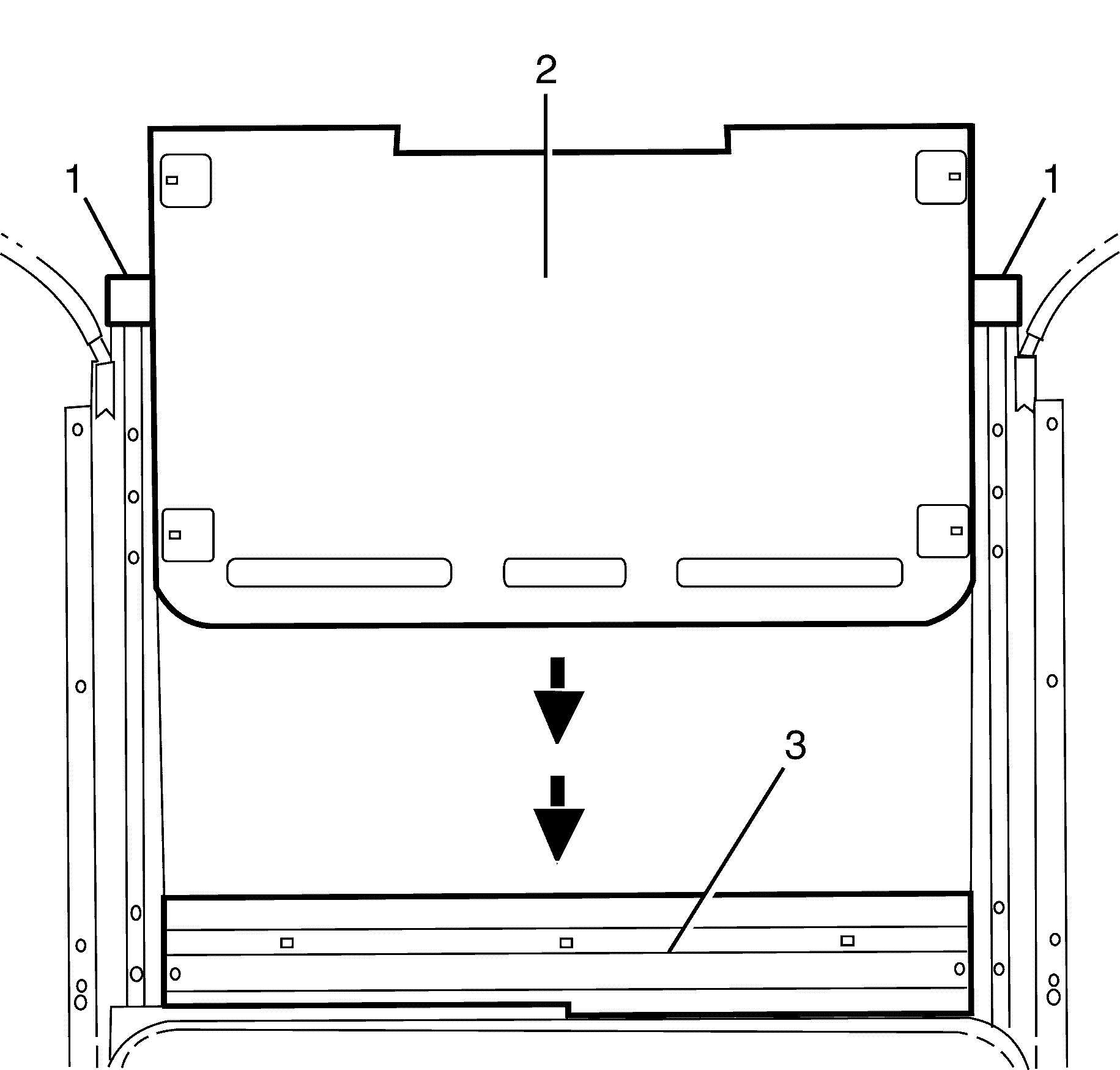
    Object Number: 1939091  Size: SH
  1. Position front edge of the sunshade panel (2) to the track.
  2. Important: Do not apply excessive pressure to the sunshade panel, failure to comply may result in damage to the sunshade panel.

  3. Carefully install the sunshade panel (2) by sliding the sunshade panel toward to the front of the sunroof module (3).
  4. Notice: Refer to Fastener Notice in the Preface section.

  5. Install the sunroof end caps (1) to the sunroof rail.
  6. Tighten
    Tighten the screw to 1 N·m (9 lb in).

  7. Slide the sunshade panel forward and rearward to make sure free operation is present.

  8. Object Number: 1939021  Size: SH
  9. Install the sunshade stop rubber (1) to the sunroof module. Repeat for the opposite side.
  10. Install the sunshade stop rubber to sunroof module retaining screw (2). Repeat for the opposite side.
  11. Tighten
    Tighten the screws to 1 N·m (9 lb in).

  12. Install the sunroof module. Refer to Sunroof Module Assembly Replacement.
  13. Install the headliner. Refer to Headlining Trim Panel Replacement.