GM Service Manual Online
For 1990-2009 cars only

Removal Procedure

    Caution: Refer to Battery Disconnect Caution in the Preface section.

  1. Disconnect the battery ground cable from the battery. Refer to Battery Negative Cable Disconnection and Connection .
  2. Caution: Refer to SIR Caution in the Preface section.

  3. Disable the SIR system. Refer to SIR Disabling and Enabling in SIR.
  4. Remove the front seat. Refer to Front Seat Replacement - Bucket .
  5. Remove the outer trim panel. Refer to Seat Cushion Outer Trim Panel Replacement .
  6. If required, remove the seat-belt buckle. Refer to Front Seat Belt Replacement .
  7. As required, detach the seat-belt pretensioner wiring harness connector.

  8. Object Number: 1943545  Size: SH
  9. Remove the four seat adjuster retaining nuts (2) attaching the seat adjuster assembly (1) to the seat cushion frame.
  10. Remove the seat adjuster assembly (1).

  11. Object Number: 1943621  Size: SH
  12. As required, detach the electrical wiring harness connectors (1).

Installation Procedure

  1. Install the seat adjuster assembly onto the seat cushion frame.
  2. Notice: Refer to Fastener Notice in the Preface section.


    Object Number: 1943545  Size: SH
  3. Install the four seat adjuster retaining nuts (2) attaching the seat adjuster assembly (1) to the seat cushion frame.
  4. Tighten
    Tighten the retaining nuts to 42  N·m (31 lb ft).


    Object Number: 1943638  Size: SH
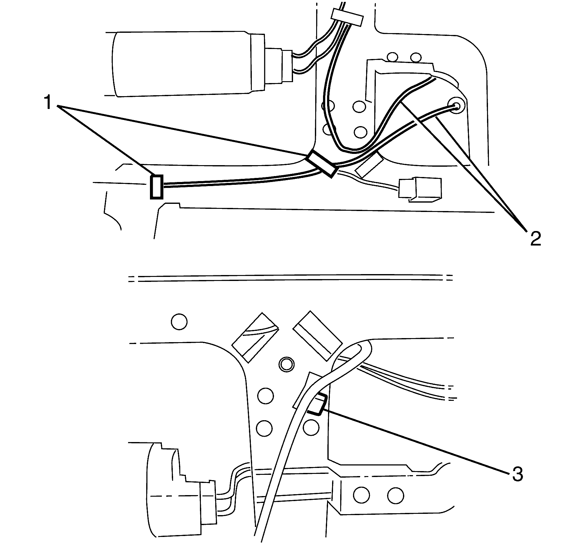
  5. Ensure seat-belt pretensioner wiring harness is routed as follows:
  6. • Route pretensioner cable under cable tray tabs (1)
    • Direct pretensioner cable through cable tray gap (2)
    • Clip to under side of cable tray in the top hole (3)
  7. As required, attach the seat-belt pretensioner wiring harness connector.

  8. Object Number: 1943621  Size: SH
  9. As required, attach the electrical wiring harness connectors (1).
  10. If required, install the seat-belt buckle. Refer to Front Seat Belt Replacement .
  11. Install the outer trim panel. Refer to Seat Cushion Outer Trim Panel Replacement .
  12. Install the front seat. Refer to Front Seat Replacement - Bucket .
  13. Caution: Refer to SIR Caution in the Preface section.

  14. Enable the SIR system. Refer to SIR Disabling and Enabling in SIR.
  15. Connect the battery ground cable to the battery. Refer to Battery Negative Cable Disconnection and Connection .
  16. Test the seat for correct mechanical and electrical operation.