Important: DO NOT force the evaporator core into the HVAC module assembly. Damage to the thermistor can occur.
Important: Ensure that all of the temperature and mode doors align to their corresponding slots within the HVAC module assembly.
DO NOT force the HVAC module assembly case halves together. Install NEW tough seal every time case is split.Notice: Refer to Fastener Notice in the Preface section.
Tighten
Tighten the screws to 1 N·m (8 lb in).
Tighten
Tighten the screw to 1 N·m (8 lb in).
Caution: Refer to Safety Glasses Caution in the Preface section.
Important: Unclip the TX valve retaining upper plastic cover (1) and remove by lifting upwards.
Important: Unclip the air inlet assembly (3) and carefully tilt downwards past the TX valve (2)
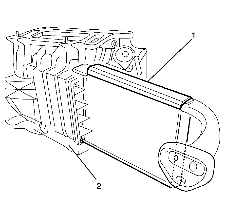
Important: Gently grasp the evaporator (1) pipes and slowly withdraw the evaporator from the HVAC module assembly (2).
Important: Install the evaporator core (1) by gently sliding into HVAC module assembly housing (2).
Notice: Refer to Fastener Notice in the Preface section.
Tighten
Tighten the screws to 1 N·m (8 lb
in.)
Tighten
Tighten the screws to 1 N·m (8 lb
in.)
Important: Make sure all the clips on the thermal expansion (TX) valve retaining upper plastic cover (1) are engaged to avoid an induced rattle condition.