GM Service Manual Online
For 1990-2009 cars only

Rear Side Door Trim Panel Replacement SWB

Removal Procedure


    Object Number: 1940020  Size: SH

    Important: Pry the inside door handle to door retaining screw cover (3) using a suitable tool.

  1. Remove the inside door handle to door retaining screw cover (3) from the door trim panel (1).
  2. Remove the inside door handle to door retaining screw (2).

  3. Object Number: 1940016  Size: SH

    Important: Screw locations for type A door trim panel.

  4. Remove the door trim panel to door retaining screws (1).

  5. Object Number: 1940014  Size: SH

    Important: Screw locations for type B door trim panel.

  6. Remove the door trim panel to door retaining screws (1).

  7. Object Number: 1940018  Size: SH

    Important: Screw locations for type C door trim panel.

  8. Remove the door trim panel to door retaining screws (1).
  9. Pry the top of the door trim panel to release the inner belt seal clips.
  10. Important: Firmly pull on the armrest handle to release the door trim panel to door retaining clips.

  11. Remove the door trim panel (1) from the door to allow access to door handle cable, door lock cable and courtesy light electrical connectors (if fitted).

  12. Object Number: 1939929  Size: SH

    Important: The door handle and lock cables slide out and lift up to remove from the door trim panel.

  13. Disconnect the inside door handle cable (1) and door lock cable (2) from the door trim panel.

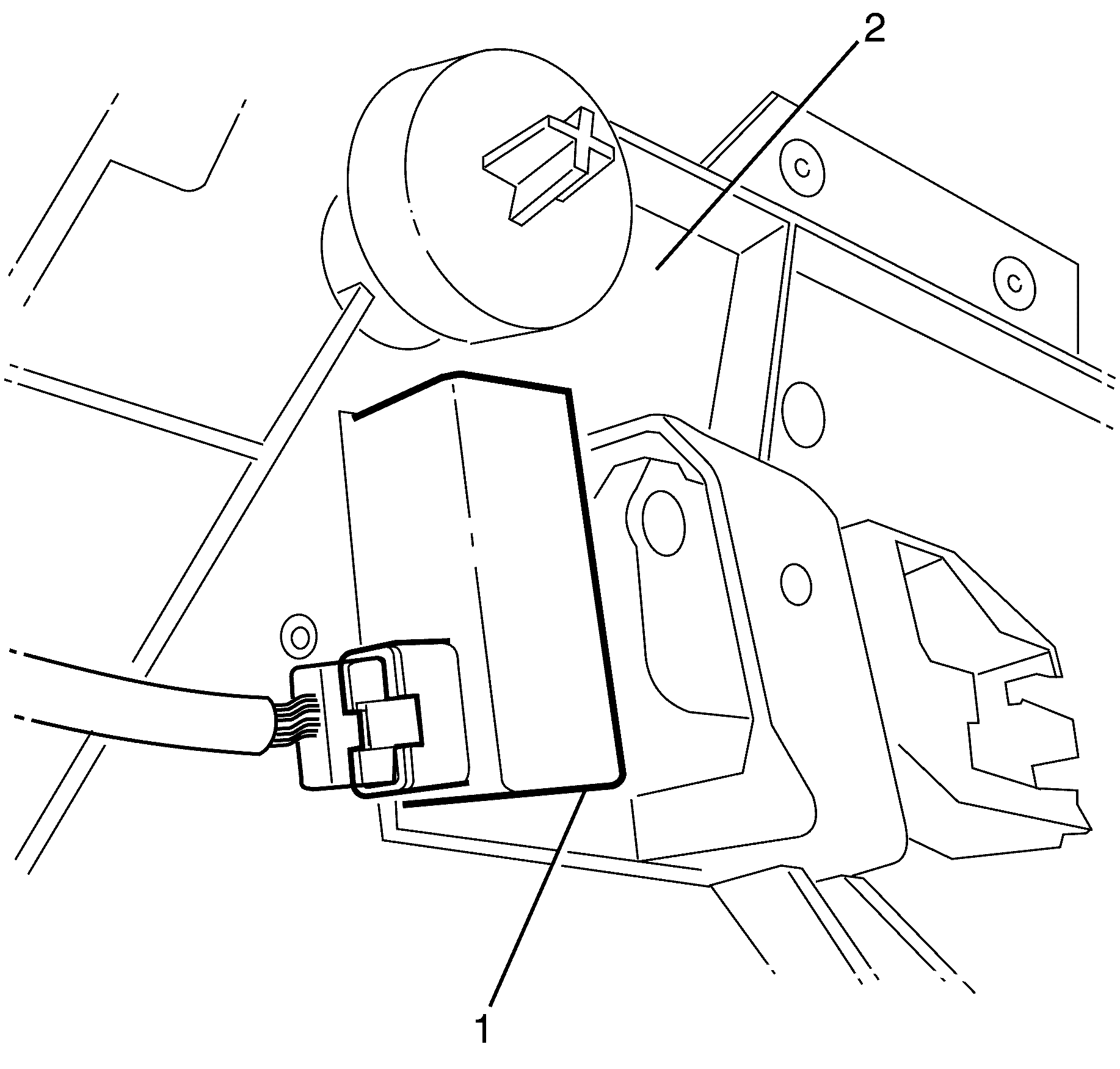
  14. Object Number: 1940023  Size: SH
  15. Disconnect the courtesy light electrical connectors (1) from the door trim panel (2) (if fitted).

  16. Object Number: 1940024  Size: SH

    Important: Pull the window switch (1) from the door trim panel (2) to release the retaining clips.

  17. Remove the window switch (1) from the door trim panel (1).
  18. Remove the door trim panel (2) from the door.

Installation Procedure

    Important: Green retaining clips are along the front edge and white retaining clips are along the back edge.

  1. Make sure that all of the retaining clips are on the door trim panel and not still attached to the door sheetmetal.
  2. Important: Do not fully install the door trim panel at this stage. The inside door handle cable, door lock cable, window switch and courtesy light electrical connector (if fitted) have to be attached first.

  3. Position the door trim panel to the door.

  4. Object Number: 1940024  Size: SH

    Important: Firmly push the window switch (1) to the door trim panel (2) to install.

  5. Install the window switch (1) to the door trim panel (2).

  6. Object Number: 1940023  Size: SH
  7. Connect the courtesy light electrical connectors (1) to the door trim panel (2) (if fitted).

  8. Object Number: 1939929  Size: SH

    Important: The door handle and lock cables slide down and in to the door trim panel to install.

  9. Connect the inside door handle cable (2) and door lock cable (1) to the door trim panel.

  10. Object Number: 1940026  Size: SH

    Important: Datum pins (1, 2) align the door trim panel to the door.

    Important: Apply pressure around the door trim panel (3) to secure the retainers to the door.

  11. Position the door trim panel (3) to the door.
  12. Notice: Refer to Fastener Notice in the Preface section.


    Object Number: 1940016  Size: SH

    Important: Screw locations for type A door trim panel.

  13. Install the door trim panel to door retaining screws (1).
  14. Tighten
    Tighten the screws to 3 N-m (27 lb in).

    Notice: Refer to Fastener Notice in the Preface section.


    Object Number: 1940014  Size: SH

    Important: Screw locations for type B door trim panel.

  15. Install the door trim panel to door retaining screws (1).
  16. Tighten
    Tighten the screws to 3 N-m (27 lb in).

    Notice: Refer to Fastener Notice in the Preface section.


    Object Number: 1940018  Size: SH

    Important: Screw locations for type C door trim panel.

  17. Install the door trim panel to door retaining screws (1).
  18. Tighten
    Tighten the screws to 3 N-m (27 lb in).

    Notice: Refer to Fastener Notice in the Preface section.


    Object Number: 1940020  Size: SH
  19. Install the inside door handle to door retaining screw (2).
  20. Tighten
    Tighten the screws to 3 N-m (27 lb in).

  21. Install the inside door handle to door retaining screw cover (3) to the door trim panel (1).

Rear Side Door Trim Panel Replacement LWB

Removal Procedure


    Object Number: 1940020  Size: SH

    Important: Pry the inside door handle to door retaining screw cover (1) using a suitable tool.

  1. Remove the inside door handle to door retaining screw cover (1) from the door trim panel (3).
  2. Remove the inside door handle to door retaining screw (2).

  3. Object Number: 1940021  Size: SH

    Important: Firmly pull on the armrest handle to release the door trim panel to door retaining clips.

  4. Remove the door trim panel to door retaining screws (1).
  5. Remove the door trim panel from the door to allow access to door handle cable, door lock cable, window switch and courtesy light electrical connectors.

  6. Object Number: 1939929  Size: SH

    Important: The door handle and lock cables slide out and lift up to remove from the door trim panel.

  7. Disconnect the inside door handle cable (1) and door lock cable (2) from the door trim panel.

  8. Object Number: 1940023  Size: SH
  9. Disconnect the courtesy light electrical connectors (1) from the door trim panel (2).

  10. Object Number: 1940024  Size: SH

    Important: Pull the window switch (1) from the door trim panel (2) to release the retaining clips.

  11. Remove the window switch (1) from the door trim panel (1).
  12. Remove the door trim panel from the door.

Installation Procedure

    Important: Green retaining clips are along the front edge and white retaining clips are along the back edge.

  1. Make sure that all of the retaining clips are on the door trim panel and not still attached to the door sheetmetal.
  2. Important: Do not fully install the door trim panel at this stage. The inside door handle cable, door lock cable, window switch electrical connector and courtesy light electrical connector have to be attached first.

  3. Position the door trim panel to the door.

  4. Object Number: 1940024  Size: SH

    Important: Firmly push the window switch (1) to the door trim panel (2) to install.

  5. Install the window switch (1) to the door trim panel (2).

  6. Object Number: 1940023  Size: SH
  7. Connect the courtesy light electrical connectors (1) to the door trim panel (2).

  8. Object Number: 1939929  Size: SH

    Important: The door handle and lock cables slide down and in to the door trim panel to install.

  9. Connect the inside door handle cable (2) and door lock cable (1) to the door trim panel.

  10. Object Number: 1940026  Size: SH

    Important: Datum pins (1, 2) align the door trim panel to the door.

    Important: Apply pressure around the door trim panel (3) to secure the retainers to the door.

  11. Position the door trim panel (3) to the door.
  12. Notice: Refer to Fastener Notice in the Preface section.


    Object Number: 1940021  Size: SH
  13. Install the door trim panel to door retaining screws (1).
  14. Tighten
    Tighten the screws to 3 N·m(27 lb in).


    Object Number: 1940020  Size: SH
  15. Install the inside door handle to door retaining screw (2).
  16. Install the inside door handle to door retaining screw cover (3) to the door trim panel (1).