GM Service Manual Online
For 1990-2009 cars only

Tools Required

    • J 21426 Installer.
    • J-22912-01 Press Plates.
    • J 22610 Keystone Pliers.
    • J 5590 Bearing and Seal Driver.

Removal Procedure

    Caution: Refer to Safety Glasses Caution in the Preface section.

    Caution: Refer to Vehicle Lifting Caution in the Preface section.

  1. Raise and support the vehicle. Refer to Lifting and Jacking the Vehicle .
  2. Remove the propeller shaft from the vehicle. Refer to Propeller Shaft Replacement .
  3. Notice: Refer to General Repair Instructions in the Preface section.


    Object Number: 1946932  Size: SH

    Important: Correct alignment during assembly is critical in order to maintain correct balance.

    Important: The propeller shaft splines are not keyed, therefore, alignment marks are necessary for assembly.

  4. Mark the position of the propeller shaft rear section (1) in relation to the propeller shaft front section (2).

  5. Object Number: 1946935  Size: SH

    Important: The dust boot clamp is a single use part and must be discarded after use.

  6. Remove the dust boot to propeller shaft front section clamp (2).
  7. Discard the dust boot clamp.

  8. Detach the dust boot (1) from the propeller shaft (3).

  9. Object Number: 1946937  Size: SH
  10. Separate the propeller shaft rear section (1) from the propeller shaft front section (2).

  11. Object Number: 1946939  Size: SH

    Important: The spline retention O-ring (2) is a single use part and must be discarded after use.

  12. Remove the spline retention O-ring (2) from the propeller shaft (1).
  13. Discard the spline retention O-ring.

    Important: The dust boot (3) is a single use part and must be discarded after use.

  14. Remove the dust boot (3) from the propeller shaft (1).
  15. Discard the dust boot.

    Important: The centre bearing slinger (4) is a single use part and must be discarded after use.

  16. Remove the centre bearing slinger (4) from the propeller shaft (1).
  17. Discard the centre bearing slinger.


    Object Number: 1946943  Size: SH

    Important: The circlip (3) is a single use part and must be discarded after use.

  18. Remove the propeller shaft (2) to centre bearing (1) retaining circlip (3).
  19. Discard the circlip.


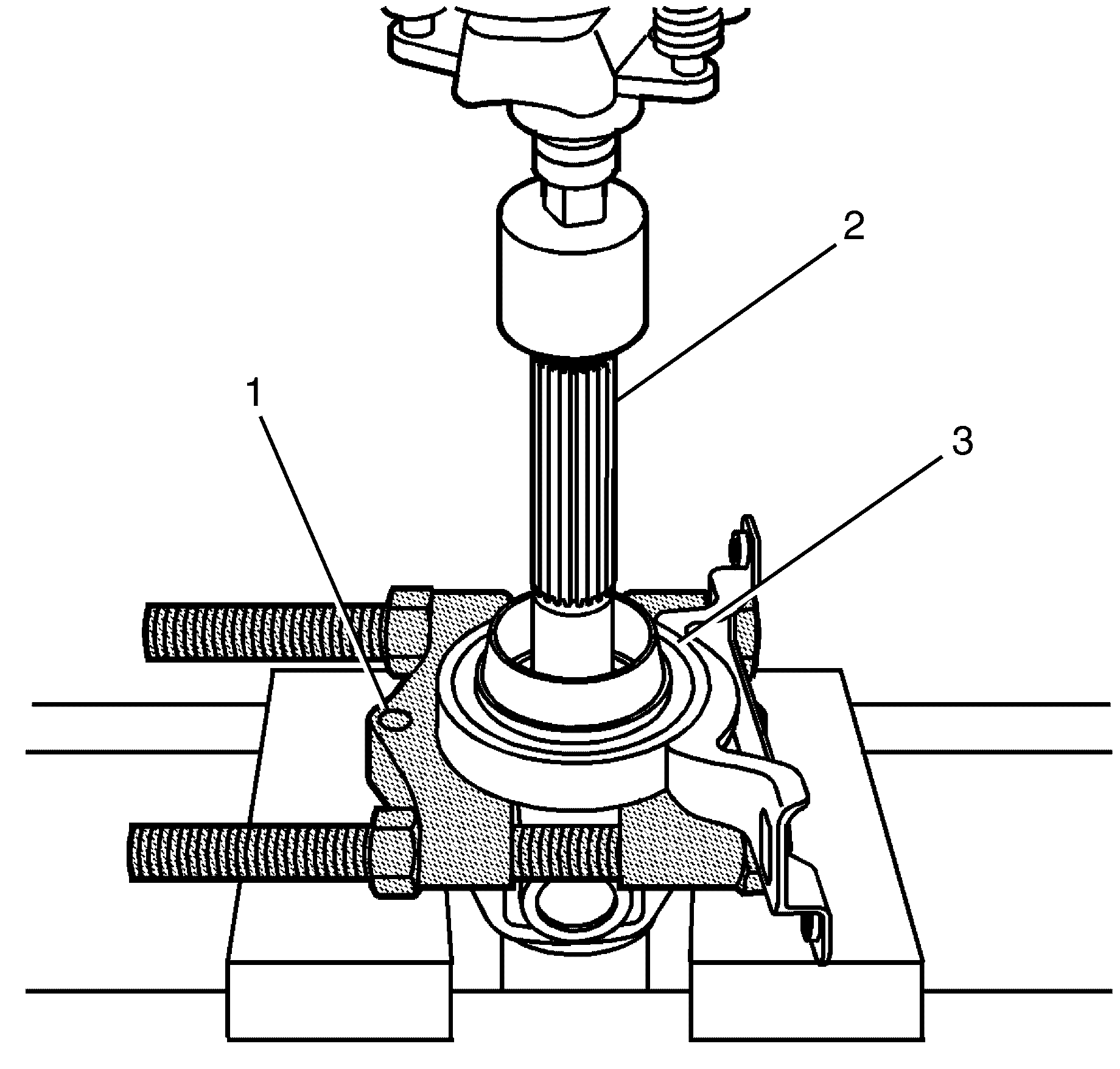
    Object Number: 1946944  Size: SH

    Important: Observe the orientation and depth of the centre bearing (3) in relation to the propeller shaft (2).

    Important: Install the J-22912-01 (1) to the rear propeller shaft (2) behind the centre bearing (3). Place the rear propeller shaft (2) in a suitable press and remove the centre bearing (3).

  20. Remove the centre bearing (3) from the propeller shaft (2).

Clean and Inspect


    Object Number: 1946947  Size: SH
  1. Clean the grease from the front propeller shaft spline (2) and rear propeller shaft spline (3).
  2. Check the front propeller shaft spline (2) and rear propeller shaft spline (3) for damage and/or wear.
  3. Remove any corrosion or debris from the bearing area (1).

Installation Procedure


    Object Number: 1946949  Size: SH

    Important: Use a suitable press to install the centre bearing (1) with J 5590 Bearing and Seal Driver (3) and adaptor (4) until it seats and the circlip groove is visible.

  1. Install the centre bearing (1) to the propeller shaft (2).

  2. Object Number: 1946943  Size: SH
  3. Install the propeller shaft (2) to centre bearing (1) NEW retaining circlip (3).

  4. Object Number: 1946950  Size: SH

    Important:  Install the centre bearing slinger (1) with J 21426  (3) until it seats fully onto the centre bearing (1).

  5. Install the NEW centre bearing slinger (2).

  6. Object Number: 1946952  Size: SH

    Important: Lubricate the propeller shaft splines (1) with 1-2 grams of molybdenum disulphide grease. Refer to Adhesives, Fluids, Lubricants, and Sealers .

  7. Lubricate the propeller shaft splines (1).
  8. Important: The NEW dust boot clamp (3) must not to be fully tightened at this stage.

  9. Install the NEW dust boot (2) and NEW dust boot clamp (3) to propeller shaft rear section (1). Do not fully tighten the dust boot clamp.
  10. Important: The O-ring must be located into the groove on the spline.

  11. Install the NEW spline sealing O-ring (4) to the propeller shaft (1).

  12. Object Number: 1946932  Size: SH

    Important: Correct alignment during assembly is critical in order to maintain correct balance.

    Important: Align the marks on the rear propeller shaft (1) and the front propeller shaft (2) made prior to ensure correct assembly balance.

  13. Connect the propeller shaft rear section (1) to the propeller shaft front section (2).
  14. Attach the NEW dust boot (3) to the propeller shaft front section (2).

  15. Object Number: 1946954  Size: SH
  16. Tighten the NEW dust boot clamp (1) using J 22610 keystone pliers (2).
  17. Install the propeller shaft to the vehicle. Refer to Propeller Shaft Replacement .
  18. Remove the safety stands.
  19. Lower the vehicle to the ground.