GM Service Manual Online
For 1990-2009 cars only

Special Tools

    • EN-46843
    • 7370
    • 7371
    • EN-48536

Removal Procedure

  1. Ignition OFF.
  2. Caution: Refer to Battery Disconnect Caution in the Preface section.

  3. Disconnect the battery negative cable. Refer to Battery Negative Cable Disconnection and Connection.
  4. Caution: Refer to Gasoline/Gasoline Vapors Caution in the Preface section.

  5. Drain the fuel tank into a suitable container. Refer to Fuel Tank Draining.
  6. Caution: Refer to Vehicle Lifting Caution in the Preface section.

    Caution: Refer to Safety Glasses Caution in the Preface section.

  7. Raise and support the vehicle. Refer to Lifting and Jacking the Vehicle.
  8. Remove the right rear wheel. Refer to Tire and Wheel Removal and Installation.
  9. Remove the exhaust system for access. Refer to Exhaust System Replacement.
  10. Remove the propeller shaft. Refer to Propeller Shaft Replacement.
  11. Remove the park brake cables. Refer to Parking Brake Rear Cable Replacement.

  12. Object Number: 1949829  Size: SH

    Important: Squeezes the collar of the EVAP canister hose connector (1) to release the connector.

  13. Disconnect the filler vent tube connector (1) from the fuel tank assembly.

  14. Object Number: 2194792  Size: SH
  15. Remove the retaining hose clamp (1) from the fuel filler hose (2).
  16. Remove the retaining hose clamp (3) from the fuel filler hose (2).
  17. Remove the fuel filler hose (2) from the vehicle.

  18. Object Number: 1949815  Size: SH
  19. Disconnect the fuel feed line connector (1) using 7371 .
  20. Disconnect the EVAP line (2). Refer to Plastic Collar Quick Connect Fitting Service.

  21. Object Number: 1949816  Size: SH
  22. Disconnect the fuel tank electrical connector (1) from the chassis electrical harness.

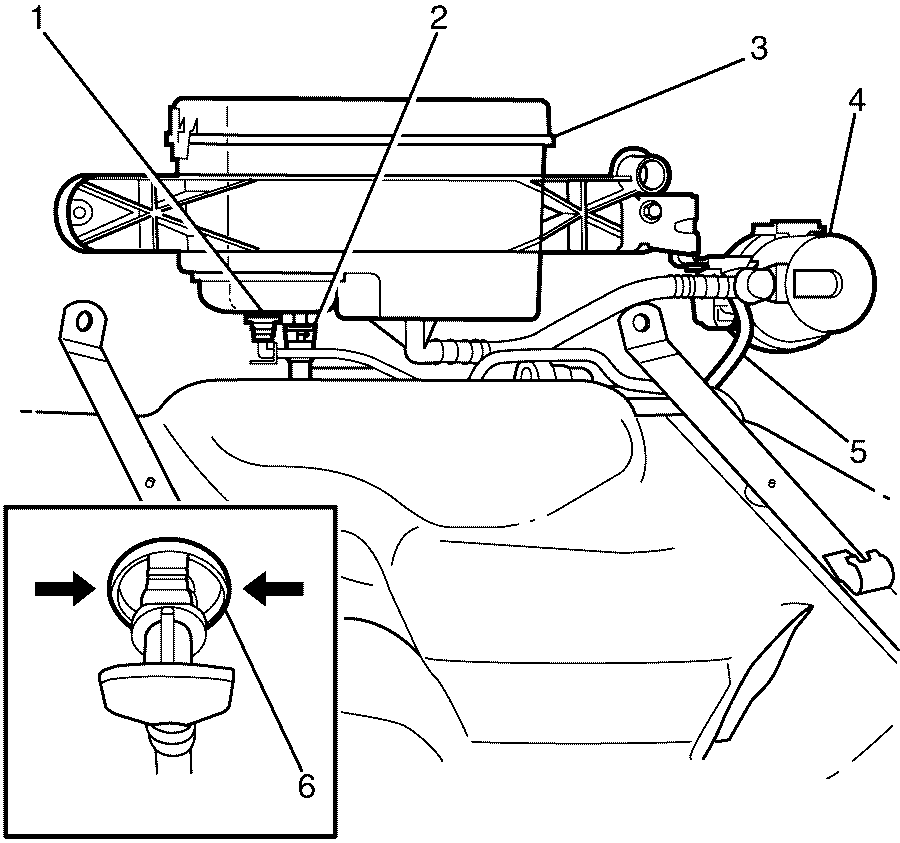
  23. Object Number: 2172065  Size: SH
  24. Support the rear frame assembly (1) using a suitable tool (2).

  25. Object Number: 1949819  Size: SH
  26. Remove the rear frame to chassis retaining bolts (1) and discard.
  27. Remove the rear frame to chassis retaining bolts (2) and discard.

  28. Object Number: 2178933  Size: SH

    Important: Make sure that the bolts (2) extends 50mm (2 in) from the rear frame.

  29. Install the bolts (2) of EN-48536 to the rear frame mounts (1).
  30. Important: When lowering the rear frame do not to damage the rear brake hoses.

  31. Lower the rear frame onto the bolts (2) of EN-48536 .

  32. Object Number: 2194793  Size: SH

    Important: Squeezes the collar (6) of the EVAP canister hose connector to release the connector (1).

  33. Detach the EVAP canister hose connector (1) from the EVAP canister (3).
  34. Detach the EVAP canister hose connector (2) from the EVAP canister (3). Refer to Plastic Collar Quick Connect Fitting Service.
  35. Disconnect the electrical connector (5) from the EVAP canister vent solenoid (4).

  36. Object Number: 1949817  Size: SH

    Important: Take care not to damage the following components when lowering the fuel tank assembly.

       • The fuel tank assembly wiring harness.
       • The fuel feed pipe.
       • The EVAP pipes.

    Important: Support the fuel tank assembly with a suitable tool before removing the fuel tank assembly straps to chassis retaining bolts (1)

  37. Remove the fuel tank strap to chassis retaining bolts (1).
  38. With the aid of an assistant, carefully manoeuvre the fuel tank assembly from the vehicle.
  39. Remove the following components if replacing the fuel tank:
  40. • The primary fuel tank module--Refer to Primary Fuel Tank Module Replacement.
    • The secondary fuel tank module--Refer to Secondary Fuel Tank Module Replacement.
    • The fuel tank pressure sensor. Refer to Fuel Tank Pressure Sensor Replacement.
    • The fuel tank assembly electrical harness.
    • The fuel tank EVAP pipes.

Installation Procedure

  1. If the fuel tank was replaced, install the following components:
  2. • The primary fuel tank module--Refer to Primary Fuel Tank Module Replacement.
    • The secondary fuel tank module--Refer to Secondary Fuel Tank Module Replacement.
    • The fuel tank pressure sensor. Refer to Fuel Tank Pressure Sensor Replacement.
    • The fuel tank assembly electrical harness.
    • The fuel tank EVAP pipes.

    Object Number: 1949817  Size: SH

    Important: Take care not to damage the following components when installing the fuel tank assembly to the vehicle:

       • The fuel tank assembly wiring harness.
       • The fuel feed pipe.
       • The EVAP pipes.

    Important: Support the fuel tank assembly with a suitable tool while installing the fuel tank assembly straps to chassis retaining bolts (1).

  3. With the aid of an assistant, carefully manoeuvre and install the fuel tank assembly to the vehicle.
  4. Notice: Refer to Fastener Notice in the Preface section.

  5. Install the fuel tank assembly strap to chassis retaining bolts (1).
  6. Tighten
    Tighten the fuel tank strap bolts to 20 N·m (15 lb ft)


    Object Number: 2194793  Size: SH

    Important: Listen for an audible click to confirm correct installation.

  7. Attach the EVAP canister hose connector (1) to the EVAP canister (3).
  8. Attach the EVAP canister hose connector (2) to the EVAP canister (3). Refer to Plastic Collar Quick Connect Fitting Service.
  9. Connect the electrical connector (5) to the EVAP canister vent solenoid (4).

  10. Object Number: 2172065  Size: SH
  11. Raise and support the rear frame assembly (1) into its position using a suitable tool (2).

  12. Object Number: 2178933  Size: SH
  13. Remove the bolts (2) of EN-48536 from the rear frame mounts (1).

  14. Object Number: 1949819  Size: SH

    Important: Using a suitable tool clean the threaded holes of the rear frame to chassis retaining bolts.

  15. Install the NEW rear frame to chassis retaining bolts (2).
  16. Do not fully tighten at this stage.

  17. Install the NEW rear frame to chassis retaining bolts (1).
  18. Do not fully tighten at this stage.

  19. Tighten the NEW rear frame to chassis retaining bolts (1) and (2) to:
  20. First Pass
    Tighten the bolts to 65 N·m (48 lb ft)

    Final Pass
    Tighten the bolts a further 125 degrees.


    Object Number: 1949816  Size: SH
  21. Connect the fuel tank assembly electrical connector (1) to the chassis electrical harness.

  22. Object Number: 1949815  Size: SH

    Important: Listen for an audible click to confirm correct installation.

  23. Connect the EVAP line (2) to the EVAP chassis pipe. Refer to Plastic Collar Quick Connect Fitting Service.
  24. Connect the fuel feed line (1) to the chassis fuel feed pipe.

  25. Object Number: 2194792  Size: SH
  26. Install the fuel filler hose (2) to the vehicle.
  27. Install the retaining hose clamp (1) to the fuel filler hose (2).
  28. Tighten
    Tighten the fuel filler hose to 4 N·m (35 lb in).

  29. Install the retaining hose clamp (3) to the fuel filler hose (2).
  30. Tighten
    Tighten the fuel filler hose to 4 N·m (35 lb in).


    Object Number: 1949829  Size: SH

    Important: Listen for an audible click to confirm correct installation.

  31. Connect the filler vent tube connector (1) to the fuel tank assembly.
  32. Install the park brake cables. Refer to Parking Brake Rear Cable Replacement.
  33. Install the propeller shaft. Refer to Propeller Shaft Replacement.
  34. Install the exhaust system. Refer to Exhaust System Replacement.
  35. Install the right rear wheel. Refer to Tire and Wheel Removal and Installation.
  36. Lower the vehicle to the ground.
  37. Fill the fuel tank with the drained fuel.
  38. Connect the battery negative cable. Refer to Battery Negative Cable Disconnection and Connection.
  39. Inspect for fuel leaks using the following procedure:
  40. • Turn ON the ignition, with the engine OFF for 2 seconds.
    • Turn OFF the ignition, for 10 seconds.
    • Turn ON the ignition, with the engine OFF.
    • Inspect for leaks.