GM Service Manual Online
For 1990-2009 cars only

Removal Procedure

    Caution: Refer to Safety Glasses Caution in the Preface section.

    Caution: Refer to Vehicle Lifting Caution in the Preface section.

  1. Raise and support the vehicle. Refer to Lifting and Jacking the Vehicle.
  2. Caution: Refer to Exhaust Service Caution in the Preface section.

  3. Remove the right rear muffler assembly. Refer to Exhaust Muffler Replacement - Right Side.

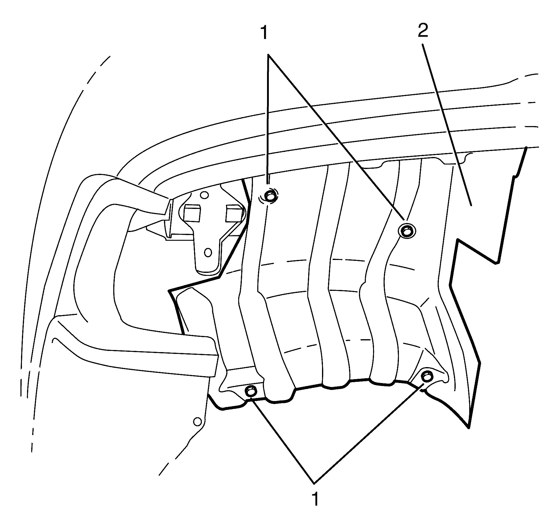
  4. Object Number: 1949700  Size: SH
  5. Remove the right exhaust muffler heat shield to body retaining bolts (1).
  6. Remove the right exhaust muffler heat shield (2).

Installation Procedure


    Object Number: 1949700  Size: SH
  1. Position the right exhaust muffler heat shield (2) to the vehicle.
  2. Notice: Refer to Fastener Notice in the Preface section.

  3. Install the right exhaust muffler heat shield to body retaining bolts (1).
  4. Tighten
    Tighten the bolts to 4 N·m (35 lb in).

  5. Install the right rear muffler assembly. Refer to Exhaust Muffler Replacement - Right Side.
  6. Lower the vehicle to the ground.