GM Service Manual Online
For 1990-2009 cars only

Cigar Lighter Receptacle or 12-Volt Accessory Power Receptacle Replacement SWBLHD

Instrument Panel

Tools Required

J 42059 Cigar Lighter Socket Remover

Removal Procedure

    Caution: Refer to Battery Disconnect Caution in the Preface section.

  1. Disconnect the negative battery cable. Refer to Battery Negative Cable Disconnection and Connection.

  2. Object Number: 1958051  Size: SH
  3. With any accessories removed, place the T receptacle of J 42059 into one of the retaining tabs (1). Angle the other side into the opposite retaining tab. Pull the power accessory receptacle straight out.

  4. Object Number: 1958049  Size: SH
  5. Disconnect the power accessory receptacle electrical connector (1).

  6. Object Number: 1958050  Size: SH
  7. Remove the bezel (1).

Installation Procedure


    Object Number: 1958050  Size: SH
  1. Install the bezel (1).

  2. Object Number: 1958049  Size: SH
  3. Connect the power accessory receptacle electrical connector (1).
  4. Install the accessory power receptacle to the receptacle bezel.
  5. Connect the negative battery cable. Refer to Battery Negative Cable Disconnection and Connection.

Centre Console -- Rear

Tools Required

J 42059 J 42059 Cigar Lighter Socket Remover

Removal Procedure

    Caution: Refer to Battery Disconnect Caution in the Preface section.

  1. Disconnect the negative battery cable. Refer to Battery Negative Cable Disconnection and Connection.

  2. Object Number: 1958051  Size: SH
  3. With any accessories removed, place the T receptacle of J 42059 into one of the retaining tabs (1). Angle the other side into the opposite retaining tab. Pull the power accessory receptacle straight out.

  4. Object Number: 1958052  Size: SH
  5. Disconnect the power accessory receptacle electrical connector (1).

  6. Object Number: 1958053  Size: SH
  7. Remove the bezel (1).

Installation Procedure


    Object Number: 1958053  Size: SH
  1. Install the bezel (1).

  2. Object Number: 1958052  Size: SH
  3. Connect the power accessory receptacle electrical connector (1).
  4. Install the accessory power receptacle to the receptacle bezel.
  5. Connect the negative battery cable. Refer to Battery Negative Cable Disconnection and Connection.

Centre Console

Tools Required

J 42059 J 42059 Cigar Lighter Socket Remover

Removal Procedure

    Caution: Refer to Battery Disconnect Caution in the Preface section.

  1. Disconnect the negative battery cable. Refer to Battery Negative Cable Disconnection and Connection.

  2. Object Number: 1958051  Size: SH
  3. Place the T receptacle of J 42059 into one of the retaining tabs (1). Angle the other side into the opposite retaining tab. Pull the power accessory receptacle straight out.

  4. Object Number: 1958043  Size: SH
  5. Disconnect the power accessory receptacle electrical connector (1).

  6. Object Number: 1958044  Size: SH
  7. Remove the bezel (1) and the cover (2).

Installation Procedure


    Object Number: 1958044  Size: SH
  1. Install the cover (2) and the bezel (1).

  2. Object Number: 1958043  Size: SH
  3. Connect the power accessory receptacle electrical connector (1).
  4. Install the accessory power receptacle to the receptacle bezel.
  5. Connect the negative battery cable. Refer to Battery Negative Cable Disconnection and Connection.

Cigar Lighter Receptacle or 12-Volt Accessory Power Receptacle Replacement LWBLHD

Instrument Panel

Tools Required

J 42059 Cigar Lighter Socket Remover

Removal Procedure

    Caution: Refer to Battery Disconnect Caution in the Preface section.

  1. Disconnect the negative battery cable. Refer to Battery Negative Cable Disconnection and Connection.

  2. Object Number: 1958051  Size: SH
  3. With any accessories removed, place the T receptacle of J 42059 into one of the retaining tabs (1). Angle the other side into the opposite retaining tab. Pull the power accessory receptacle straight out.

  4. Object Number: 1958049  Size: SH
  5. Disconnect the power accessory receptacle electrical connector (1).

  6. Object Number: 1958050  Size: SH
  7. Remove the bezel (1).

Installation Procedure


    Object Number: 1958050  Size: SH
  1. Install the bezel (1).

  2. Object Number: 1958049  Size: SH
  3. Connect the power accessory receptacle electrical connector (1).
  4. Install the accessory power receptacle to the receptacle bezel.
  5. Connect the negative battery cable. Refer to Battery Negative Cable Disconnection and Connection.

Centre Console -- Rear

Tools Required

J 42059 J 42059 Cigar Lighter Socket Remover

Removal Procedure

    Caution: Refer to Battery Disconnect Caution in the Preface section.

  1. Disconnect the negative battery cable. Refer to Battery Negative Cable Disconnection and Connection.

  2. Object Number: 1958051  Size: SH
  3. With any accessories removed, place the T receptacle of J 42059 into one of the retaining tabs (1). Angle the other side into the opposite retaining tab. Pull the power accessory receptacle straight out.

  4. Object Number: 1958052  Size: SH
  5. Disconnect the power accessory receptacle electrical connector (1).

  6. Object Number: 1958053  Size: SH
  7. Remove the bezel (1).

Installation Procedure


    Object Number: 1958053  Size: SH
  1. Install the bezel (1).

  2. Object Number: 1958052  Size: SH
  3. Connect the power accessory receptacle electrical connector (1).
  4. Install the accessory power receptacle to the receptacle bezel.
  5. Connect the negative battery cable. Refer to Battery Negative Cable Disconnection and Connection.

Centre Console

Tools Required

J 42059 Cigar Lighter Socket Remover

Removal Procedure

    Caution: Refer to Battery Disconnect Caution in the Preface section.

  1. Disconnect the negative battery cable. Refer to Battery Negative Cable Disconnection and Connection.

  2. Object Number: 1958051  Size: SH
  3. Place the T receptacle of J 42059 into one of the retaining tabs (1). Angle the other side into the opposite retaining tab. Pull the power accessory receptacle straight out.

  4. Object Number: 1958043  Size: SH
  5. Disconnect the power accessory receptacle electrical connector (1).

  6. Object Number: 1958044  Size: SH
  7. Remove the bezel (1) and the cover (2).

Installation Procedure


    Object Number: 1958044  Size: SH
  1. Install the cover (2) and the bezel (1).

  2. Object Number: 1958043  Size: SH
  3. Connect the power accessory receptacle electrical connector (1).
  4. Install the accessory power receptacle to the receptacle bezel.
  5. Connect the negative battery cable. Refer to Battery Negative Cable Disconnection and Connection.

Rear Compartment

Tools Required

J 42059 Cigar Lighter Socket Remover

Removal Procedure

    Caution: Refer to Battery Disconnect Caution in the Preface section.

  1. Disconnect the negative battery cable. Refer to Battery Negative Cable Disconnection and Connection.

  2. Object Number: 1958051  Size: SH
  3. Place the T receptacle of J 42059 into one of the retaining tabs (1). Angle the other side into the opposite retaining tab. Pull the power accessory receptacle straight out.

  4. Object Number: 1958047  Size: SH
  5. Disconnect the power accessory receptacle electrical connector (1).

  6. Object Number: 1958048  Size: SH
  7. Remove the cover (1) and the bezel(2).

Installation Procedure


    Object Number: 1958048  Size: SH
  1. Install the cover (2) and the bezel (1).

  2. Object Number: 1958047  Size: SH
  3. Connect the power accessory receptacle electrical connector (1).
  4. Install the accessory power receptacle to the receptacle bezel.
  5. Connect the negative battery cable. Refer to Battery Negative Cable Disconnection and Connection.

Cigar Lighter Receptacle or 12-Volt Accessory Power Receptacle Replacement LWBRHD

Centre Console

Tools Required

J 42059 Cigar Lighter Socket Remover

Removal Procedure

    Caution: Refer to Battery Disconnect Caution in the Preface section.

  1. Disconnect the negative battery cable. Refer to Battery Negative Cable Disconnection and Connection.

  2. Object Number: 1958051  Size: SH
  3. With any accessories removed, place the T receptacle of J 42059 into one of the retaining tabs (1). Angle the other side into the opposite retaining tab. Pull the power accessory receptacle straight out.

  4. Object Number: 1958043  Size: SH
  5. Disconnect the power accessory receptacle electrical connector (1).

  6. Object Number: 1958044  Size: SH
  7. Remove the bezel (1) and the cover (2).

Installation Procedure


    Object Number: 1958044  Size: SH
  1. Install the cover (2) and the bezel (1).

  2. Object Number: 1958043  Size: SH
  3. Connect the power accessory receptacle electrical connector (1).
  4. Install the accessory power receptacle to the receptacle bezel.
  5. Connect the negative battery cable. Refer to Battery Negative Cable Disconnection and Connection.

Rear Compartment

Tools Required

J 42059 J 42059 Cigar Lighter Socket Remover

Removal Procedure

    Caution: Refer to Battery Disconnect Caution in the Preface section.

  1. Disconnect the negative battery cable. Refer to Battery Negative Cable Disconnection and Connection.

  2. Object Number: 1958051  Size: SH
  3. Place the T receptacle of J 42059 into one of the retaining tabs (1). Angle the other side into the opposite retaining tab. Pull the power accessory receptacle straight out.

  4. Object Number: 1958047  Size: SH
  5. Disconnect the power accessory receptacle electrical connector (1).

  6. Object Number: 1958048  Size: SH
  7. Remove the cover (1) and the bezel(2).

Installation Procedure


    Object Number: 1958048  Size: SH
  1. Install the cover (2) and the bezel (1).

  2. Object Number: 1958047  Size: SH
  3. Connect the power accessory receptacle electrical connector (1).
  4. Install the accessory power receptacle to the receptacle bezel.
  5. Connect the negative battery cable. Refer to Battery Negative Cable Disconnection and Connection.

Cigar Lighter Receptacle or 12-Volt Accessory Power Receptacle Replacement Sportwagon

Centre Console

Tools Required

J 42059 Cigar Lighter Socket Remover

Removal Procedure

    Caution: Refer to Battery Disconnect Caution in the Preface section.

  1. Disconnect the negative battery cable. Refer to Battery Negative Cable Disconnection and Connection.

  2. Object Number: 1958051  Size: SH
  3. Release the accessory power receptacle by placing special tool J 42059 onto the accessory power receptacle retaining tab (1). Angle the other side of the tool onto the opposite accessory power receptacle retaining tab.

  4. Object Number: 1958043  Size: SH
  5. Detach the accessory power receptacle from the accessory power receptacle bezel.
  6. Disconnect the accessory power receptacle electrical connector (1).
  7. Remove the accessory power receptacle from the accessory power receptacle bezel.

  8. Object Number: 1958044  Size: SH
  9. Remove the accessory power receptacle bezel (1) and the accessory power receptacle cover (2) from the front floor console.

Installation Procedure


    Object Number: 1958044  Size: SH
  1. Install the accessory power receptacle cover (2) and the accessory power receptacle bezel (1) to the front floor console.

  2. Object Number: 1958043  Size: SH
  3. Connect the accessory power receptacle electrical connector (1).
  4. Install the accessory power receptacle to the accessory power receptacle bezel.
  5. Connect the negative battery cable. Refer to Battery Negative Cable Disconnection and Connection.

Rear Compartment

Tools Required

J 42059 Cigar Lighter Socket Remover

Removal Procedure

    Caution: Refer to Battery Disconnect Caution in the Preface section.

  1. Disconnect the negative battery cable. Refer to Battery Negative Cable Disconnection and Connection.

  2. Object Number: 1958051  Size: SH
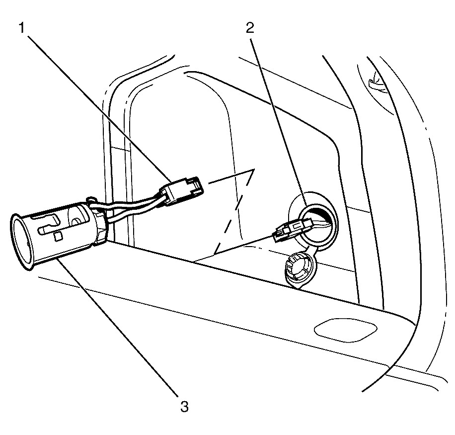
  3. Release the accessory power receptacle by placing special tool J 42059 onto the accessory power receptacle retaining tab (1). Angle the other side of the tool onto the opposite power receptacle retaining tab.

  4. Object Number: 2116404  Size: SH
  5. Detach the accessory power receptacle (3) from the accessory power receptacle bezel (2).
  6. Disconnect the accessory power receptacle electrical connector (1).
  7. Remove the accessory power receptacle (3).

  8. Object Number: 2116405  Size: SH
  9. Remove the accessory power receptacle bezel (1) and the accessory power receptacle cover (2) from the quarter inner trim finish panel (3).

Installation Procedure


    Object Number: 2116405  Size: SH
  1. Install the accessory power receptacle bezel (1) and the accessory power receptacle cover (2) to the quarter inner trim finish panel (3)

  2. Object Number: 2116404  Size: SH
  3. Connect the accessory power receptacle electrical connector (1).
  4. Install the accessory power receptacle (3) to the receptacle bezel (2).
  5. Connect the negative battery cable. Refer to Battery Negative Cable Disconnection and Connection.