GM Service Manual Online
For 1990-2009 cars only

Removal Procedure

    Caution: Refer to Safety Glasses Caution in the Preface section.

  1. Disconnect the negative battery cable. Refer to Battery Negative Cable Disconnection and Connection.
  2. Remove the closeout/insulator panel. Refer to Instrument Panel Insulator Panel Replacement - Right Side.
  3. Remove the knee bolster. Refer to Knee Bolster Replacement.
  4. Remove the hinge pillar trim panel. Refer to Body Hinge Pillar Trim Panel Replacement.

  5. Object Number: 1939871  Size: SH
  6. Disconnect the door module electrical connector (1).

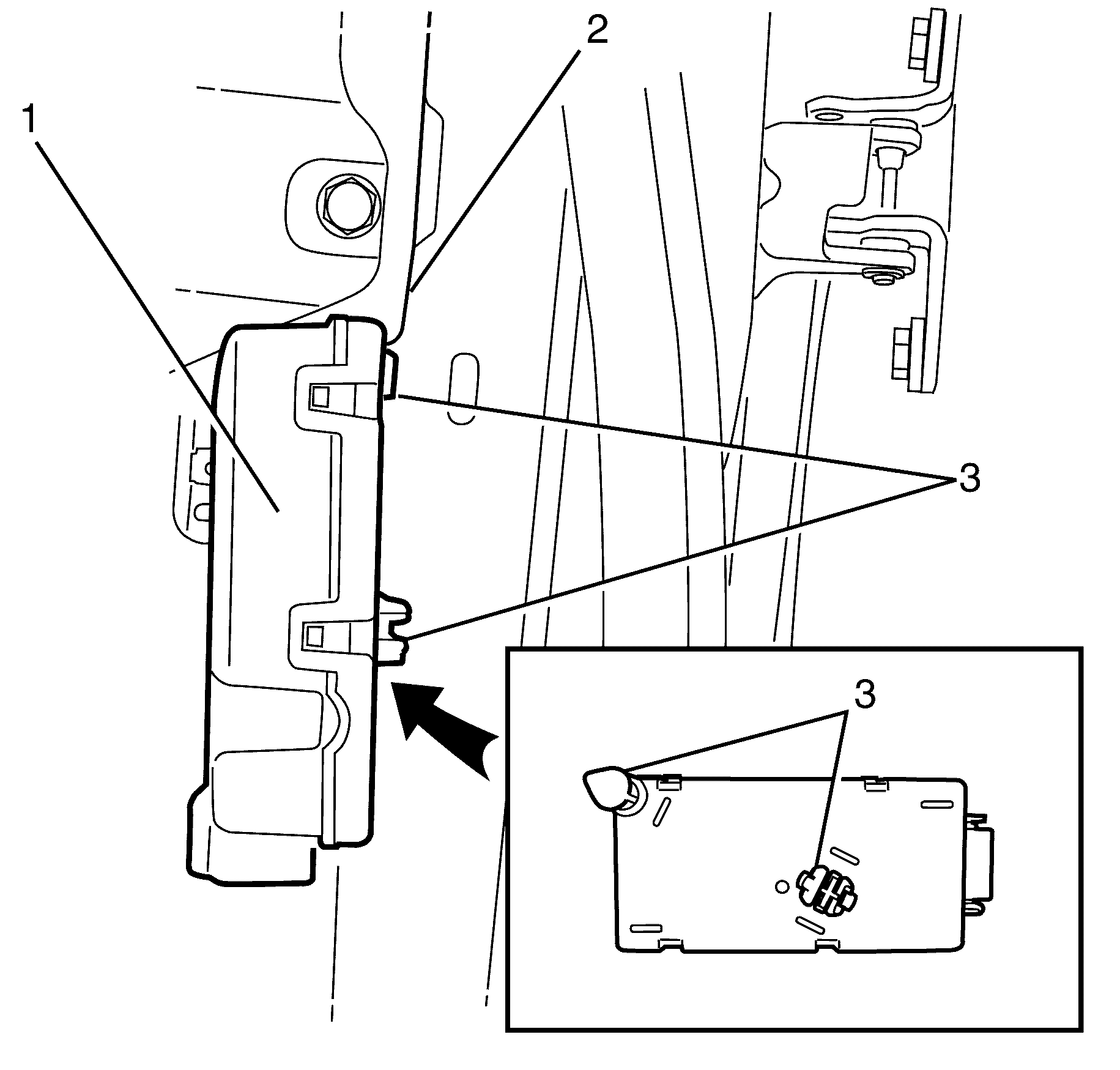
  7. Object Number: 1939874  Size: SH

    Important: The door module is located on the right side just under the instrument panel attached to the body.

    Important: Pry the door module (1) with a suitable flat bladed tool then manoeuvre to release top locating retainer (3).

  8. Pry the door module (1) with a suitable flat bladed tool to release the retainers (3).
  9. Remove the door module (1) from the vehicle (2).

Installation Procedure


    Object Number: 1939874  Size: SH
  1. Position the door module (1) to the vehicle (2).
  2. Important: Locate the top retainer first then press to engage the lower retainer.

  3. Install the door module (1) and push to secure the retainers (3).

  4. Object Number: 1939871  Size: SH
  5. Connect the door module electrical connector (1).
  6. Install the hinge pillar trim panel. Refer to Body Hinge Pillar Trim Panel Replacement.
  7. Install the knee bolster. Refer to Knee Bolster Replacement.
  8. Install the closeout/insulator panel. Refer to Instrument Panel Insulator Panel Replacement - Right Side.
  9. Connect the negative battery cable. Refer to Battery Negative Cable Disconnection and Connection.
  10. If re-programming is required. Refer to Control Module References.