GM Service Manual Online
For 1990-2009 cars only

Window Systems Component Views SWB

Figure 1:

Front Door Window Component View


Object Number: 2007731  Size: MF
(1)Front Door Frame
(2)Inner Window Weather Seal
(3)Inner Sealing Strip
(4)Mirror Trim Panel
(5)Window Channel
(6)Front Window Regulator
(7)Sealing Strip Belt Inner
(8)Sealing Strip Belt Outer
Figure 2:

Windshield and Body Side Glass Component Views


Object Number: 2007789  Size: LF
(1)Rear Door Window Glass
(2)Datum Pin
(3)Foam Spacer
(4)Rearview Mirror Boss
(5)Rain Sensor Boss (If Fitted)
(6)Windshield
(7)VIN Viewing Area
(8)Front Door Window Glass
(9)Rear Door Stationary Window Glass
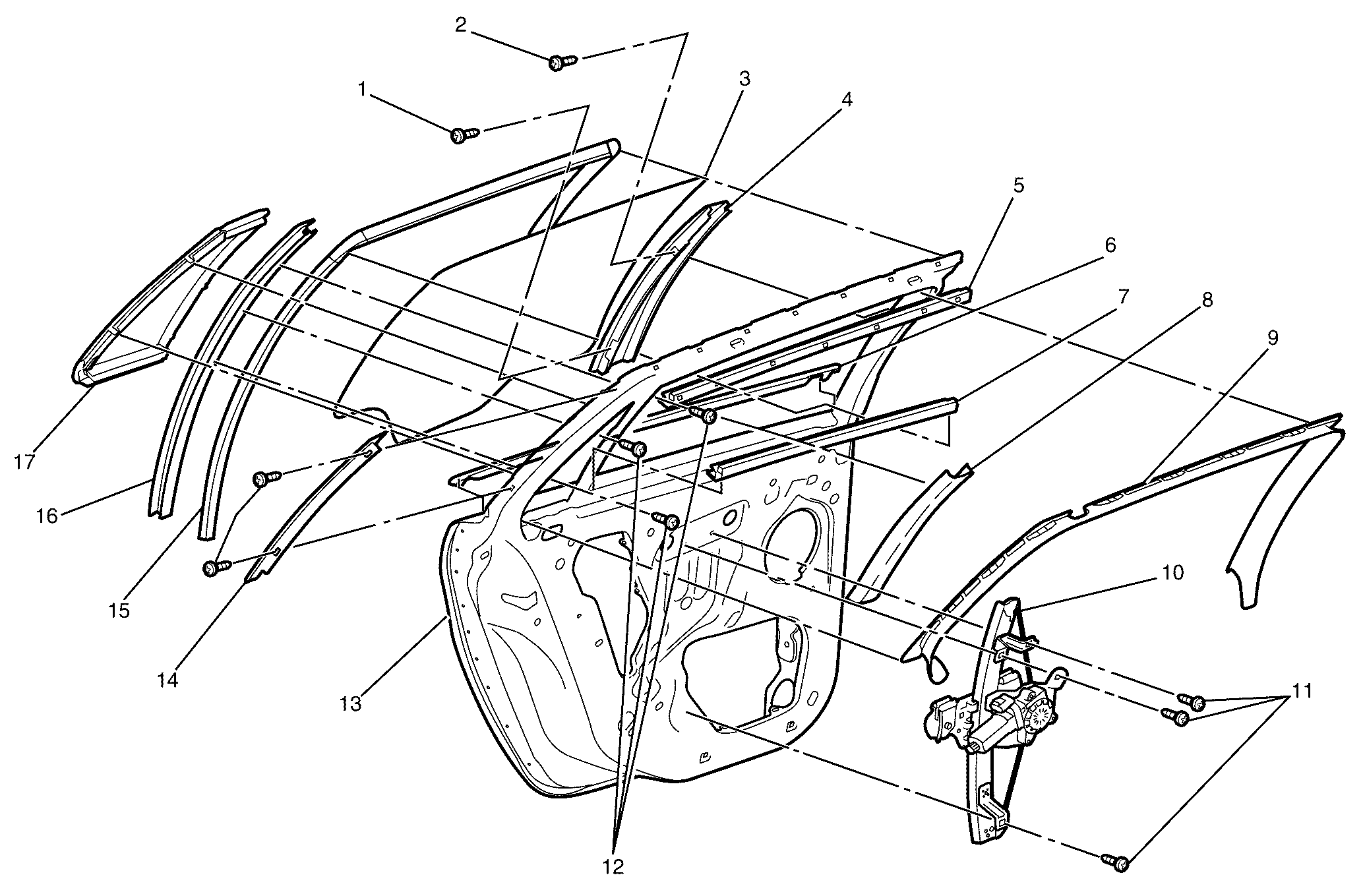
Figure 3:

Rear Door Window Component Views


Object Number: 2007792  Size: MF
(1)Sealing Strip Belt Outer
(2)Rear Door Frame
(3)Sealing Strip Belt Inner
(4)Rear Window Regulator
(5)Inner Window Weather Seal
(6)Window/Division Channel Trim Panel
(7)Window/Division Channel
(8)Outer Window Weather Seal

Window Systems Component Views LWB

Figure 1:

Front Door Window Component View


Object Number: 2007731  Size: MF
(1)Front Door Frame
(2)Inner Window Weather Seal
(3)Inner Sealing Strip
(4)Mirror Trim Panel
(5)Window Channel
(6)Front Window Regulator
(7)Sealing Strip Belt Inner
(8)Sealing Strip Belt Outer
Figure 2:

Windshield and Body Side Glass Component Views


Object Number: 2007734  Size: LF
(1)Rear Door Window Glass
(2)Datum Pin
(3)Foam Spacer
(4)Rearview Mirror Boss
(5)Rain Sensor Boss (If Fitted)
(6)Windshield
(7)VIN Viewing Area
(8)Front Door Window Glass
(9)Rear Door Stationary Window Glass
Figure 3:

Rear Door Window Component Views


Object Number: 2007735  Size: MF
(1)Sealing Strip Belt Outer
(2)Rear Door Frame
(3)Sealing Strip Belt Inner
(4)Rear Window Regulator
(5)Inner Window Weather Seal
(6)Window/Division Channel Trim Panel
(7)Window/Division Channel
(8)Outer Window Weather Seal

Window Systems Component Views Sportwagon

Figure 1:

Front Door Window Component View


Object Number: 2007731  Size: MF
(1)Front Door Frame
(2)Inner Window Weather Seal
(3)Inner Sealing Strip
(4)Mirror Trim Panel
(5)Window Channel
(6)Front Window Regulator
(7)Sealing Strip Belt Inner
(8)Sealing Strip Belt Outer
Figure 2:

Rear Door Window Component View


Object Number: 2100385  Size: MF
(1)Rear Door Frame
(2)Rear Door Frame Applique (Rear)
(3)Screw -- Rear Door Frame Applique (Rear) to Rear Door Frame
(4)Outer Window Weather Seal
(5)Window/Division Channel
(6)Rear Side Door Window (Fixed)
(7)Rear Side Door Window (Moving)
(8)Rear Door Frame Applique
(9)Screw -- Rear Door Frame Applique to Rear Door Frame
(10)Sealing Strip Belt Outer
(11)Sealing Strip Belt Inner
(12)Window/Division Channel Trim Panel
(13)Inner Window Weather Seal
(14)Rear Window Regulator
(15)Screw -- Rear Window Regulator to Rear Door Frame
Figure 3:

Windshield and Body Side Glass Component View


Object Number: 2055063  Size: LF
(1)Body Side Stationary Window Glass
(2)Rear Door Window Glass
(3)Datum Pin
(4)Foam Spacer
(5)Rearview Mirror Boss
(6)Rain Sensor Boss (If Fitted)
(7)Datum Pin
(8)Windshield Pillar Garnish Molding
(9)Windshield
(10)VIN Viewing Area
(11)Foam Spacer
(12)Windshield Pillar Garnish Molding
(13)Front Door Window Glass
(14)Rear Door Stationary Window Glass
Figure 4:

Liftgate Window Component View


Object Number: 2055066  Size: MF
(1)Datum Pins
(2)Defogger Electrical Connectors
(3)Foam Spacers