GM Service Manual Online
For 1990-2009 cars only

Windshield Washer Hose Replacement Sedan

Removal Procedure (Up to 01 Sept 2007)

  1. Remove the radiator assembly. Refer to Radiator Replacement .

  2. Object Number: 1939985  Size: SH

    Important: Take care not to pierce the washer hose. Use a suitable cap to cap off the washer motor after removing the hose to prevent spillage.

  3. Use a suitable tool to separate the windshield washer hose (1) from the washer pump (2).

  4. Object Number: 1939980  Size: SH
  5. Detach the washer hose (2) from the radiator air intake baffle (1).

  6. Object Number: 1939983  Size: SH
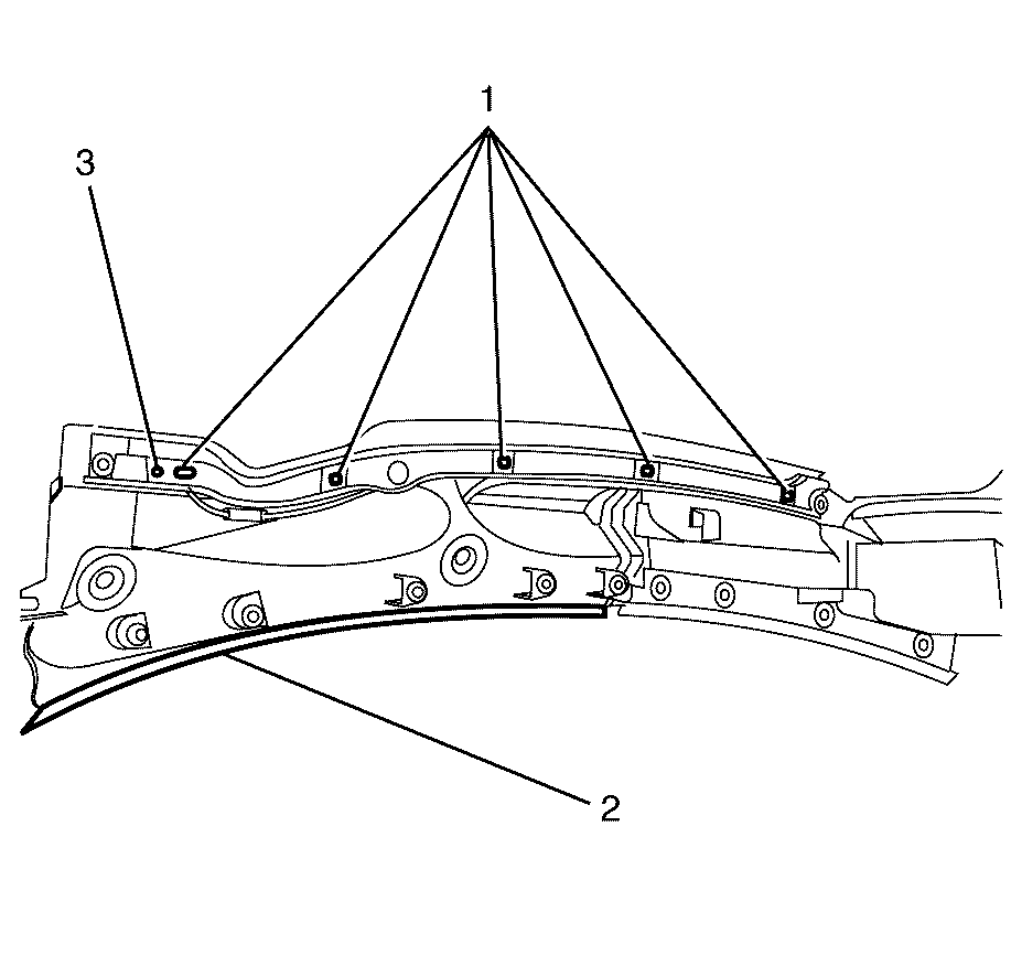
  7. Detach the washer hose (3) from the fender retaining clip (2).
  8. Disconnect the washer hose (3) from the washer hose connection (1).
  9. Remove the windshield washer hose (3).

Installation Procedure (Up to 01 Sept 2007)


    Object Number: 1939983  Size: SH
  1. Attach the washer hose (3) to the washer hose connection (1).
  2. Attach the washer hose (3) to the fender clip (2).

  3. Object Number: 1939980  Size: SH
  4. Route the washer hose (2) through the radiator air intake baffle (1).

  5. Object Number: 1939987  Size: SH
  6. Install the washer hose (1) onto the washer pump (2).
  7. Install the radiator assembly. Refer to Radiator Replacement .
  8. Test the washer pump for correct operation.

Removal Procedure (From 01 Sept 2007)

  1. Remove the radiator assembly. Refer to Radiator Replacement .

  2. Object Number: 1939985  Size: SH

    Important: Take care not to pierce the washer hose. Use a suitable cap to cap off the washer motor after removing the hose to prevent spillage.

  3. Use a suitable tool to separate the windshield washer hose (1) from the washer pump (2).

  4. Object Number: 1939980  Size: SH
  5. Detach the washer hose (2) from the radiator air intake baffle (1).

  6. Object Number: 2015995  Size: SH
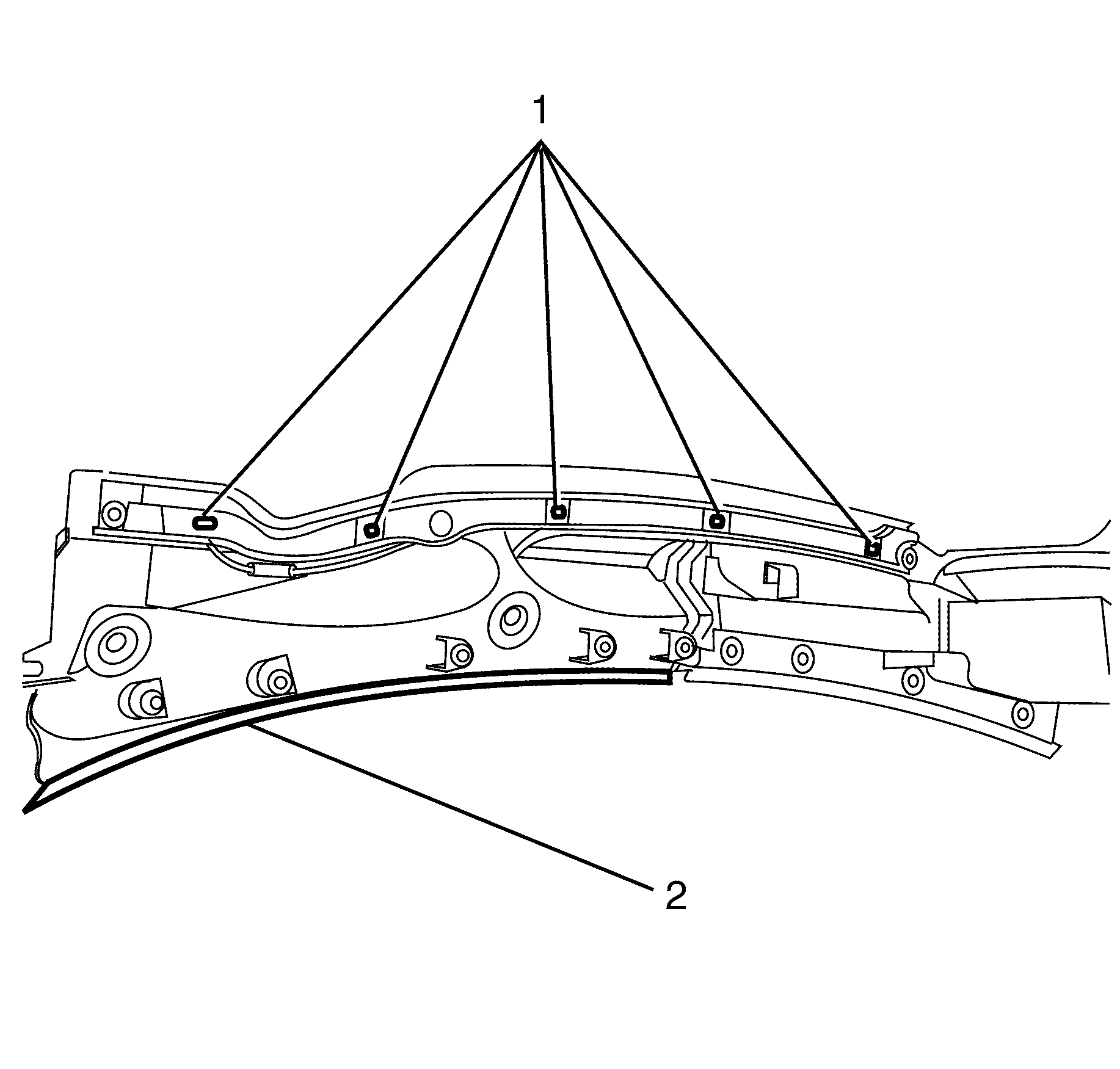
  7. Detach the washer hose (1) from the fender retaining clips (2).

  8. Object Number: 2015994  Size: SH
  9. Disconnect the washer hose (2) from the washer hose connection (1).
  10. Remove the windshield washer hose (2).

Installation Procedure (From 01 Sept 2007)


    Object Number: 2015994  Size: SH
  1. Attach the washer hose (2) to the washer hose connection (1).

  2. Object Number: 2015995  Size: SH
  3. Attach the washer hose (1) to the fender retaining clips (2).

  4. Object Number: 1939980  Size: SH
  5. Route the washer hose (2) through the radiator air intake baffle (1).

  6. Object Number: 1939987  Size: SH
  7. Install the washer hose (1) onto the washer pump (2).
  8. Install the radiator assembly. Refer to Radiator Replacement .
  9. Test the washer pump for correct operation.

Removal Procedure (Air Inlet Grill Hose)

  1. Remove the wiper arms. Refer to Windshield Wiper Arm Replacement .
  2. Remove the air inlet grille. Refer to Air Inlet Grille Panel Replacement .

  3. Object Number: 1939988  Size: SH
  4. Remove the retaining torx screws (1) from the air inlet grille brace.
  5. Remove the air inlet grille brace from the air inlet grille.

  6. Object Number: 1939990  Size: SH
  7. Detach and remove the air inlet grille hose (1) from the air inlet grille (2).

Installation Procedure


    Object Number: 1939990  Size: SH
  1. Attach the air inlet grille hose (1) to the air inlet grille (2).

  2. Object Number: 1939988  Size: SH
  3. Install the air inlet grille brace (2) to the air inlet grille
  4. Notice: Refer to Fastener Notice in the Preface section.

  5. Install the air inlet grille brace (2) to the air inlet grille retaining torx screws (1).
  6. Tighten
    Tighten the torx screws to (2.0  N·m (18 lb in).

  7. Install the air inlet grille. Refer to Air Inlet Grille Panel Replacement .
  8. Install the wiper arms. Refer to Windshield Wiper Arm Replacement .

Windshield Washer Hose Replacement Sportwagon

Removal Procedure - Washer Pump to Front Fender Connector

  1. Remove the radiator grille. Refer to Radiator Grille Replacement.

  2. Object Number: 1949752  Size: SH
  3. Raise the securing lock (3) from the radiator support bracket (2) by 10 mm on both sides.
  4. Remove the radiator support bracket (2) from the radiator slide pin assembly (1) on both sides.

  5. Object Number: 2084227  Size: SH

    Important: Care must be taken when tilting the radiator assembly (2) away from the front end panel (1), as excessive force may damage the radiator assembly (2).

  6. Tilt the radiator assembly (2) away from the front end panel (1).
  7. Insert a suitable holding device between the front end panel (1) and the radiator assembly (2).

  8. Object Number: 2126742  Size: SH
  9. Place a suitable container under the windshield washer pump (2).
  10. Important: Take care not to damage the condenser cooling fins when removing the windshield washer hose (1) from the windshield washer pump (3).

  11. Disconnect the windshield washer hose (1) from the windshield washer pump (3).
  12. Detach the windshield washer hose (1) from the solvent container (2).

  13. Object Number: 2136317  Size: SH
  14. Mark the location of the windshield washer hose to solvent container overflow hose retaining tape (4) to the solvent container overflow hose (3).
  15. Remove the windshield washer hose to solvent container overflow hose retaining tape (4).
  16. Mark the location of the rear window washer hose to windshield washer hose retaining tape (5) to the rear window washer hose (6).
  17. Remove the rear window washer hose to windshield washer hose retaining tape (5).
  18. Mark the location of the windshield washer hose retaining clip (7) to the windshield washer hose (2).
  19. Detach the windshield washer hose (2) from the windshield washer hose retaining clip (7).
  20. Disconnect the windshield washer hose (2) from the windshield washer hose front fender connector (1).
  21. Remove the windshield washer hose (2).
  22. Using the original windshield washer hose retaining clip reference mark as a guide, mark the position of the windshield washer hose retaining clip to the NEW windshield washer hose.

Installation Procedure - Washer Pump to Front Fender Connector

    Important: When installing the windshield washer hose make sure it follows the original hose routing.


    Object Number: 2136317  Size: SH
  1. Connect the windshield washer hose (2) to the windshield washer hose front fender connector (1).
  2. Attach the windshield washer hose (2) to the windshield washer hose retaining clip (7).
  3. Attach the rear window washer hose (6) to the marked location on the windshield washer hose (2) with adhesive tape (5).
  4. Attach the solvent container overflow hose (3) to the marked location on the windshield washer hose (2) with adhesive tape (4).

  5. Object Number: 2126742  Size: SH

    Important: Take care not to damage the condenser cooling fins when installing the rear window washer hose (1) to the rear window washer pump (2).

  6. Attach the windshield washer hose (1) to the solvent container (2).
  7. Connect the windshield washer hose (1) to the windshield washer pump (3).

  8. Object Number: 2084227  Size: SH
  9. Remove the holding device between the radiator assembly (2) and front end panel (1).
  10. Position the radiator assembly (2) towards the front end panel (1) to its original position.

  11. Object Number: 1949779  Size: SH
  12. Install the radiator support bracket (2) to the radiator slide pin assembly (1) on both sides.
  13. Push the securing lock (3) into the radiator support bracket (2) making sure it is correctly seated on both sides.
  14. Install the radiator grille. Refer to Radiator Grille Replacement.
  15. Fill the washer fluid container with solvent.
  16. Check the operation of the windshield washer and make sure there are no solvent leaks.

Removal Procedure - Front Fender Connector to Air Inlet Grill Connector


    Object Number: 2126743  Size: SH
  1. Detach the windshield washer hose (3) from the front fender retaining clips (2).
  2. Disconnect the windshield washer hose (3) from the windshield washer hose front fender connector (1).
  3. Disconnect the windshield washer hose (3) from the windshield washer hose air inlet grill hose connector (4).
  4. Remove the windshield washer hose (3).

Installation Procedure - Front Fender Connector to Air Inlet Grill Connector


    Object Number: 2126743  Size: SH
  1. Connect the windshield washer hose (3) to the windshield washer hose air inlet grill hose connector (4).
  2. Connect the windshield washer hose (3) to the windshield washer hose front fender connector (1).
  3. Attach the windshield washer hose (3) to the fender retaining clips (2).
  4. Check the operation of the windshield washers and make sure there are no solvent leaks.

Removal Procedure - Air Inlet Grill Hose

  1. Remove the windshield wiper arms. Refer to Windshield Wiper Arm Replacement.
  2. Remove the air inlet grille. Refer to Air Inlet Grille Panel Replacement.

  3. Object Number: 2126746  Size: SH
  4. Remove the air inlet grille brace retaining screws (1) from air inlet grille brace (3).
  5. Remove the air inlet grille brace (3) from the air inlet grille (2).

  6. Object Number: 2126744  Size: SH
  7. Disconnect the windshield washer hose (3) from the windshield washer hose air inlet grille to wiper arm hose connectors (1).
  8. Remove the windshield washer hose (3).

Installation Procedure - Air Inlet Grill Hose


    Object Number: 2126744  Size: SH
  1. Connect the windshield washer hose (3) to the windshield washer hose air inlet grille to wiper arm hose connectors (1).

  2. Object Number: 2126746  Size: SH
  3. Install the air inlet grille brace (3) to the air inlet grille (2).
  4. Notice: Refer to Fastener Notice in the Preface section.

  5. Install the air inlet grille brace retaining screws (1) to the air inlet grille brace (3).
  6. Tighten
    Tighten the screws to 2  N·m (18 lb in).

  7. Install the air inlet grille. Refer to Air Inlet Grille Panel Replacement.
  8. Install the wiper arms. Refer to Windshield Wiper Arm Replacement
  9. Check the operation of the windshield washers and make sure there are no solvent leaks.

Removal Procedure - Windshield Wiper Arm Hoses

  1. Remove the windshield wiper arm. Refer to Windshield Wiper Arm Replacement.

  2. Object Number: 2126747  Size: SH
  3. Detach the primary windshield washer hose (8) from the primary windshield washer hoses retaining clips (1).
  4. Disconnect and remove the primary windshield washer hose (8) from the primary windshield washer hoses to right and left washer nozzle hose connector (2).
  5. Disconnect the right windshield washer nozzle hose (3) from the primary windshield washer hoses to right and left washer nozzle hose connector (2).
  6. Disconnect and remove the right windshield washer nozzle hose (3) from the right windshield washer nozzle (4).
  7. Disconnect and remove the primary windshield washer hoses to right and left washer nozzle hose connector (2) from the left windshield washer nozzle hose (6).
  8. Disconnect the left windshield washer nozzle hose (6) from the left windshield washer nozzle (5).
  9. Thread and remove the left windshield washer nozzle hose (6) out of the windshield wiper arm tension spring (7).

Installation Procedure - Windshield Wiper Arm Hoses


    Object Number: 2126747  Size: SH
  1. Thread the left windshield washer nozzle hose (6) through the windshield wiper arm tension spring (7) to the left windshield washer nozzle (5).
  2. Connect the left windshield washer nozzle hose (6) to the left windshield washer nozzle (5).
  3. Connect the primary windshield washer hoses to right and left washer nozzle hose connector (2) to the left windshield washer nozzle hose (6).
  4. Connect the right windshield washer nozzle hose (3) to the right windshield washer nozzle (4).
  5. Connect the right windshield washer nozzle hose (3) to the primary windshield washer hoses to right and left washer nozzle hose connector (2).
  6. Connect the primary windshield washer hose (8) to the primary windshield washer hoses to right and left washer nozzle hose connector (2).
  7. Attach the primary windshield washer hose (8) to the primary windshield washer hoses retaining clips (1).
  8. Install the wiper arm. Refer to Windshield Wiper Arm Replacement
  9. Check the operation of the windshield washers and make sure there are no solvent leaks.