GM Service Manual Online
For 1990-2009 cars only

Headlamp Washer Pump Replacement LWB

Removal Procedure

  1. Remove the radiator assembly. Refer to Radiator Replacement.

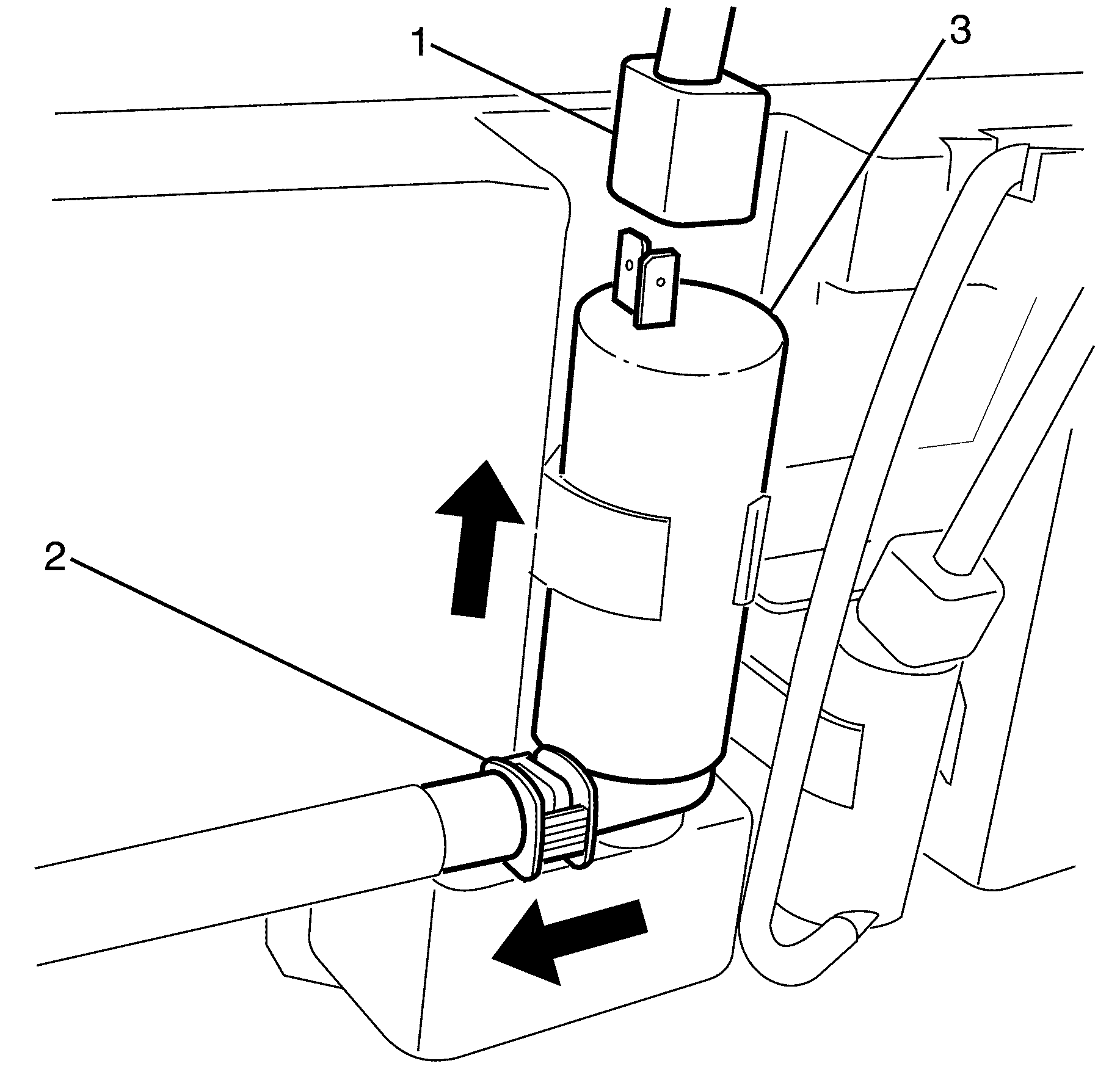
  2. Object Number: 1939998  Size: SH
  3. Disconnect the headlamp washer pump electrical connector (1).
  4. Disconnect the headlamp washer pump hose (2).
  5. Disconnect the headlamp washer pump hose (2), by applying pressure to each side of the connection and pulling it away from the washer pump (3).
  6. Remove the headlamp washer pump (3).

Installation Procedure


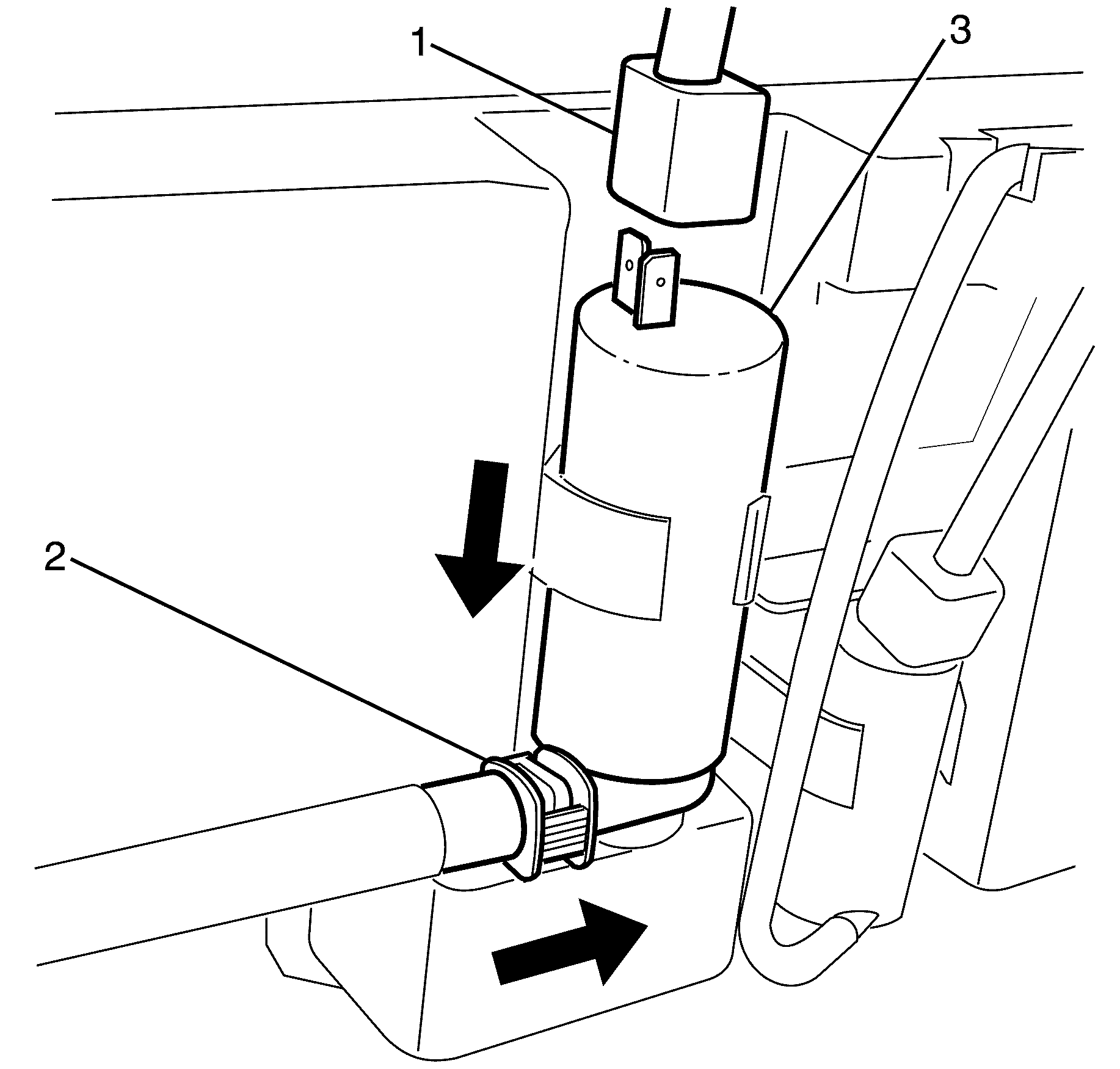
    Object Number: 1939999  Size: SH

    Important: Inspect the headlamp washer pump seal for damage due to perishing, replace as necessary.

  1. Install the headlamp washer pump (3).
  2. Connect the headlamp washer pump hose (2). Listen for an audible click to confirm fitting.
  3. Connect the headlamp washer pump electrical connector (1).
  4. Install the radiator assembly. Refer to Radiator Replacement.
  5. Operate headlamp washer pump for correct operation.