GM Service Manual Online
For 1990-2009 cars only

Removal Procedure

    Important: When a suitable hold open device is being removed or installed, provide alternate support to avoid the possibility of damage to the vehicle or personal injury.

  1. Install a suitable liftgate brace to the vehicle.
  2. Remove the rear compartment floor panel carpet. Refer to Rear Compartment Floor Panel Carpet Replacement.

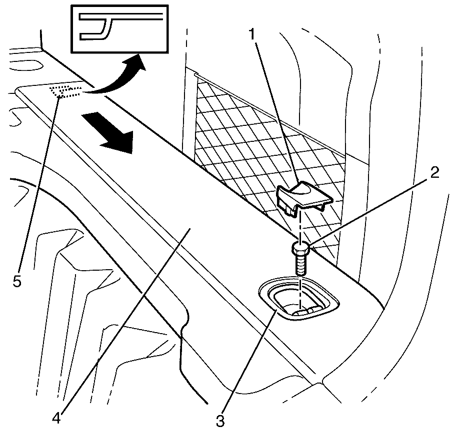
  3. Object Number: 2048187  Size: SH
  4. Remove the cargo tie down loop bolt cap (1) from the cargo tie down loop assembly (3).
  5. Remove the cargo tie down loop assembly to body retaining bolt (2).
  6. Important: Remove the load floor stationary panel by sliding rearward to release the tang (5).

  7. Remove the load floor stationary panel carpet (4) from the vehicle.
  8. Repeat for opposite side.

Installation Procedure


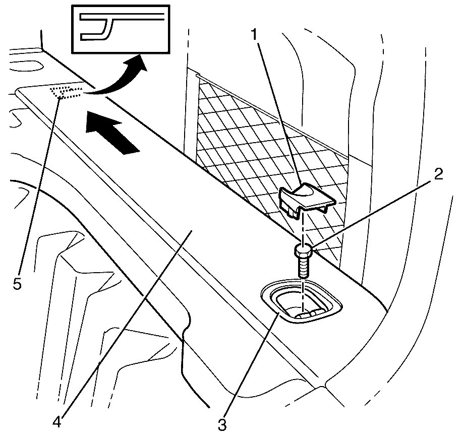
    Object Number: 2102693  Size: SH

    Important: Install the load floor stationary panel by sliding forward to engage the tang (5).

  1. Position the load floor stationary panel carpet (4) to the vehicle.
  2. Notice: Refer to Fastener Notice in the Preface section.

  3. Install the cargo tie down loop assembly to body retaining bolt (2).
  4. Tighten
    Tighten the bolt to 20 N·m (15 lb ft).

  5. Install the cargo tie down loop bolt cap (1) to the cargo tie down loop assembly (3).
  6. Repeat for opposite side.
  7. Install the rear compartment floor panel carpet. Refer to Rear Compartment Floor Panel Carpet Replacement.
  8. Important: When a suitable hold open device is being removed or installed, provide alternate support to avoid the possibility of damage to the vehicle or personal injury.

  9. Remove the suitable liftgate brace from the vehicle.