GM Service Manual Online
For 1990-2009 cars only

Removal Procedure

    Caution: Refer to Approved Equipment for Collision Repair Caution in the Preface section.

    Caution: Refer to Vehicle Lifting Caution in the Preface section.

    Caution: Refer to Safety Glasses Caution in the Preface section.

    Caution: Refer to Foam Sound Deadeners Caution in the Preface section.

    Caution: Refer to Battery Disconnect Caution in the Preface section.

    Important: 

       • Sectioning procedures have been developed to simplify the repair of the lower rails, as long as the damage rearward of the sectioning location can be repaired to factory specifications.
       • Failure to follow the instructions may lead to improper rail sectioning, which may compromise the structural integrity of the vehicle.

  1. Disable the SIR system. Refer to SIR Disabling and Enabling in SIR.
  2. Disconnect the negative battery cable. Refer to Battery Negative Cable Disconnection and Connection .
  3. Remove the engine assembly. Refer to Engine Replacement or Engine Replacement.
  4. Remove the negative cable from the engine bay. Refer to Battery Negative Cable Replacement .
  5. Remove the positive cable from the engine bay. Refer to Battery Positive Cable Replacement .
  6. Raise and support the vehicle. Refer to Lifting and Jacking the Vehicle .
  7. Remove the front wheels. Refer to Tire and Wheel Removal and Installation.
  8. Remove the front wheelhouse liner. Refer to Front Wheelhouse Liner Replacement .
  9. Remove the front wheel hub assembly. Refer to Front Wheel Bearing and Hub Replacement .
  10. Remove the front strut assembly. Refer to Strut Assembly Replacement .
  11. Lower the vehicle.
  12. Remove the brake lines. Refer to Brake Pipe Replacement.
  13. Remove the front fascia. Refer to Front Bumper Fascia Replacement.
  14. Remove the fender assembly. Refer to Front Fender Replacement.
  15. Remove the coolant reservoir. Refer to Coolant Recovery Reservoir Replacement.
  16. Remove the front end module. Refer to Front End Panel Module Carrier Assembly Replacement.
  17. Remove the air inlet grille. Refer to Air Inlet Grille Panel Replacement.
  18. Remove the plenum chamber. Refer to Air Inlet Assembly Replacement.
  19. Remove the relay box. Refer to Underhood Electrical Center or Junction Block Replacement.
  20. Remove the ABS unit. Refer to Brake Pressure Modulator Valve Assembly Replacement.
  21. Remove the brake master cylinder. Refer to Master Cylinder Replacement .
  22. Note the location and remove the sealers and anti-corrosion materials from the repair area, as necessary. Refer to Anti-Corrosion Treatment and Repair.

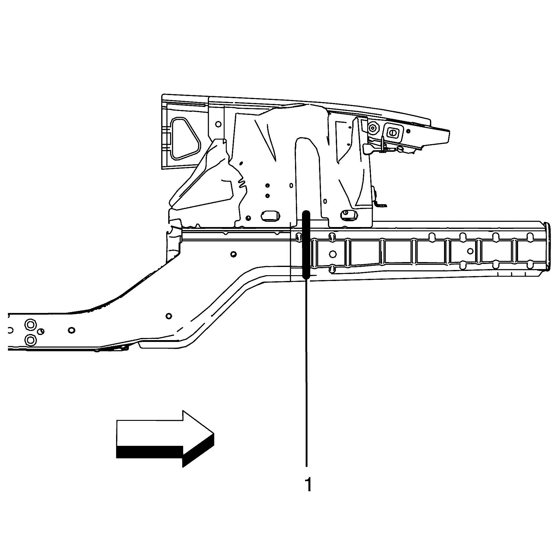
  23. Object Number: 1937503  Size: SH
  24. Locate, mark and drill out the front wheelhouse brace to front wheelhouse assembly spot welds (1).

  25. Object Number: 1937279  Size: SH
  26. Measure rearward from the datum hole to cut point 210 mm (8.27 in) (A).
  27. Using a suitable tool cut through the inner and outer rail at the measurement point.
  28. Remove the front section of the front chassis rail and discard.
  29. Discard the front section of the front chassis rail.


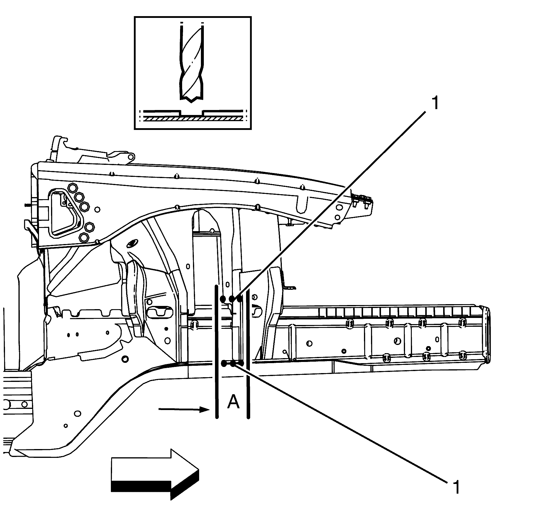
    Object Number: 1937495  Size: SH
  30. Measure rearward from the first cut point 50 mm (1.97 in) (A).
  31. Locate, mark and drill out the spot welds (1) from the outer front chassis rail to the inner front chassis rail within the measurement made.
  32. Important: Only cut the inner part of the front chassis rail to stagger the front chassis rail.

  33. Using a suitable tool cut along the second cut point (A) on the inner front chassis rail and discard.
  34. Discard the inner section of the front chassis rail.

Installation Procedure

    Important: Spot welding is the preferred method for attaching panels and should be used wherever possible. A plug weld should be performed where your spot welder is unable reach.

    Important: If the location of the original plug weld holes can not be determined, or if structural weld-thru adhesive is present, space the plug weld holes every 32 mm (1¼ in).

  1. Drill 8 mm (5/16 in) plug weld holes as necessary in the locations noted from the original assembly.
  2. Clean and prepare the mating surfaces of both parts of the front chassis rail.

  3. Object Number: 1937281  Size: SH
  4. In order to create the rail section service part, cut the full rail service part at 260 mm (10.24 in) (A) rearward from the datum hole.

  5. Object Number: 1937504  Size: SH
  6. Measure forward from the first cut point 50 mm (1.97 in) (A) on the outer front chassis rail.
  7. Locate, mark and drill out the spot welds (1) from the outer front chassis rail to the inner front chassis rail within the measurement made.
  8. Important: Only cut the outer part of the front chassis rail to stagger the front chassis rail.

  9. Cut along the second cut point (A) on the outer front chassis rail and discard.
  10. Discard the outer section of the front chassis rail.

  11. Clean and prepare the mating surfaces of both parts of the front chassis rail.

  12. Object Number: 1937289  Size: SH
  13. Position the front section of the front chassis rail to the remaining front chassis rail.
  14. Weld the top and bottom (1) edges of the front chassis rail.

  15. Object Number: 1937276  Size: SH
  16. Weld (1) the front wheelhouse brace to front wheelhouse assembly.

  17. Object Number: 1937291  Size: SH

    Important: Care must be taken to minimise the heat absorbed by the panel which could lead to panel distortion.

  18. Seam weld (1) the inner front portion of the chassis rail to the remaining front chassis rail.

  19. Object Number: 1937293  Size: SH
  20. Seam weld (1) the outer front portion of the chassis rail to the remaining front chassis rail.
  21. Clean and prepare all of the welded surfaces.
  22. Apply the sealers and anti-corrosion materials to the repair area, as necessary. Refer to Anti-Corrosion Treatment and Repair.
  23. Paint the repaired area. Refer to Basecoat/Clearcoat Paint Systems.
  24. Install the brake master cylinder. Refer to Master Cylinder Replacement .
  25. Install the ABS unit. Refer to Brake Pressure Modulator Valve Assembly Replacement.
  26. If re-programming is required. Refer to Control Module References .
  27. Install the relay box. Refer to Underhood Electrical Center or Junction Block Replacement.
  28. Install the plenum chamber. Refer to Air Inlet Assembly Replacement.
  29. Remove the air inlet grille. Refer to Air Inlet Grille Panel Replacement.
  30. Install the front end module. Refer to Front End Panel Module Carrier Assembly Replacement .
  31. Install the coolant reservoir. Refer to Coolant Recovery Reservoir Replacement .
  32. Install the fender assembly. Refer to Front Fender Replacement.
  33. Install the front fascia. Refer to Front Bumper Fascia Replacement.
  34. Install the brake lines. Refer to Brake Pipe Replacement.
  35. Raise and support the vehicle. Refer to Lifting and Jacking the Vehicle .
  36. Install the front strut assembly. Refer to Strut Assembly Replacement .
  37. Install the front wheel hub assembly. Refer to Front Wheel Bearing and Hub Replacement .
  38. Install the front wheel house liner. Refer to Front Wheelhouse Liner Replacement .
  39. Install the front wheels. Refer to Tire and Wheel Removal and Installation.
  40. Lower the vehicle.
  41. Install the negative cable from the engine bay. Refer to Battery Negative Cable Replacement .
  42. Install the positive cable from the engine bay. Refer to Battery Positive Cable Replacement .
  43. Install the engine assembly. Refer to Engine Replacement or Engine Replacement
  44. Connect the negative battery cable. Refer to Battery Negative Cable Disconnection and Connection .
  45. Enable the SIR system. Refer to SIR Disabling and Enabling.
  46. If re-programming is required. Refer to Control Module References .