GM Service Manual Online
For 1990-2009 cars only

Seat Belt Replacement - Center Rear LHD

Removal Procedure

  1. Remove the rear seat cushion. Refer to Rear Seat Cushion Replacement.
  2. Remove the rear seat back. Refer to Rear Seat Back Replacement.
  3. Remove the rear shelf trim panel. Refer to Rear Window Shelf Trim Panel Replacement.

  4. Object Number: 1959880  Size: SH
  5. Remove the rear seat centre belt anchor nut  (1) then remove the anchor mounting bracket  (2) from the vehicle.

  6. Object Number: 1996220  Size: SH
  7. Remove the rear seat centre belt noise block (1), the retractor bolt (2) and seat belt retractor (3).

Installation Procedure


    Object Number: 1996220  Size: SH
  1. Install the centre seat belt retractor (3) to the rear window shelf. Make sure the retainer tab engages the notch in the shelf, then install the retractor bolt (2) and seat belt retractor noise block (1).
  2. Important: Make Sure the retractor is parallel to vehicle centre line.

    Notice: Refer to Component Fastener Tightening Notice in the Preface section.

  3. Install the centre seat belt retractor fastener (2).
  4. Tighten
    Tighten the rear seat centre shoulder belt retractor fastener to 43 N·m (32 lb ft).


    Object Number: 1959880  Size: SH

    Important: Make Sure the centre belt anchor is parallel to vehicle centreline.

  5. Install the rear seat centre belt anchor nut  (1) then remove the anchor mounting bracket  (2) from the vehicle.
  6. Install the rear shelf trim panel. Refer to Rear Window Shelf Trim Panel Replacement.
  7. Install the rear seat back. Refer to Rear Seat Back Replacement.
  8. Install the rear seat cushion. Refer to Rear Seat Cushion Replacement.

Seat Belt Replacement - Center Rear RHD

Removal Procedure

  1. Remove the rear seat cushion. Refer to Rear Seat Cushion Replacement.
  2. Remove the rear seat back. Refer to Rear Seat Back Replacement.
  3. Remove the rear shelf trim panel. Refer to Rear Window Shelf Trim Panel Replacement.

  4. Object Number: 1959865  Size: SH
  5. Remove the rear seat centre belt anchor nut  (1).
  6. Remove the anchor mounting bracket  (2) from the vehicle.

  7. Object Number: 1996220  Size: SH
  8. Remove the rear seat centre belt noise block (1).
  9. Remove the retractor bolt (2).
  10. Remove the seat belt retractor (3).

Installation Procedure


    Object Number: 1996220  Size: SH

    Important: Make Sure the retractor is parallel to vehicle centre line.

  1. Install the centre seat belt retractor (3) to the rear window shelf. Make sure the retainer tab engages the notch in the shelf.
  2. Install the retractor bolt (2) and seat belt retractor noise block (1).
  3. Notice: Refer to Component Fastener Tightening Notice in the Preface section.

  4. Install the centre seat belt retractor fastener (2).
  5. Tighten
    Tighten the fastener to 43 N·m (32 lb ft).


    Object Number: 1959865  Size: SH

    Important: Make Sure the centre belt anchor is parallel to vehicle centreline.

  6. Install the rear seat centre belt anchor nut (1).
  7. Remove the anchor mounting bracket (2) from the vehicle.
  8. Install the rear shelf trim panel. Refer to Rear Window Shelf Trim Panel Replacement.
  9. Install the rear seat back. Refer to Rear Seat Back Replacement.
  10. Install the rear seat cushion. Refer to Rear Seat Cushion Replacement.

Seat Belt Replacement - Center Rear Sportwagon

Removal Procedure

  1. Remove the rear seat cushion. Refer to Rear Seat Cushion Replacement.
  2. Remove the right rear seat back assembly. Refer to Rear Split Folding Seat Back Replacement.
  3. Remove the right rear seat cover and pad. Refer to Rear Split Folding Seat Back Cushion Cover and Pad Replacement.

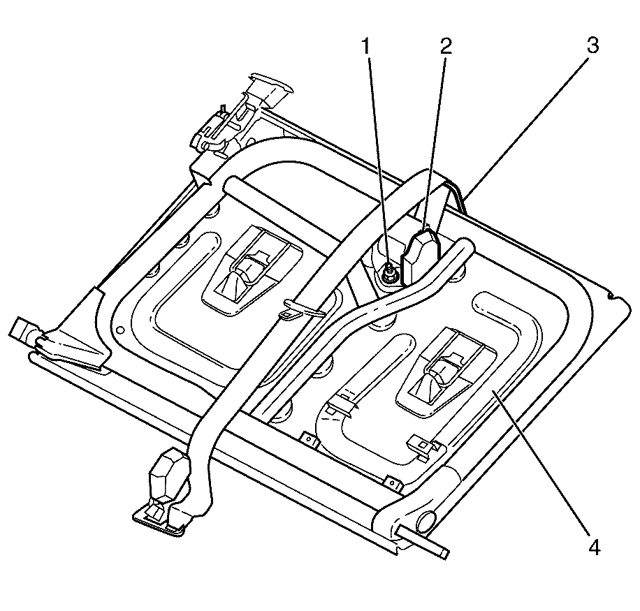
  4. Object Number: 2074316  Size: SH
  5. Remove the seat belt retractor to seat frame retaining nut (1).
  6. Detach the seat belt retractor (2) from the seat frame assembly (4).
  7. Thread the belt and buckle through the guide bracket (3) and remove the seat belt retractor (2).

Installation Procedure


    Object Number: 2075702  Size: SH
  1. Thread the belt and buckle through the guide bracket (3) and locate the seat belt retractor (2) to the seat frame assembly (4).
  2. Important: Make sure that the seat belt retractor dowel (6) locates into the seat frame assembly datum hole (5).

  3. Install the seat belt retractor (1) to the seat frame assembly (4).
  4. Notice: Refer to Fastener Notice in the Preface section.

    Important: A NEW nut must be used when installing the rear seat belt retractor (2).

  5. Tighten the seat belt retractor to seat frame retaining nut (1).
  6. Tighten
    Tighten the nut to 43  N·m (32 lb ft).

  7. Install the right rear seat cover and pad. Refer to Rear Split Folding Seat Back Cushion Cover and Pad Replacement.
  8. Install the right rear seat back assembly. Refer to Rear Split Folding Seat Back Replacement.
  9. Install the rear seat cushion. Refer to Rear Seat Cushion Replacement.