GM Service Manual Online
For 1990-2009 cars only

Removal Procedure - Left Side


    Object Number: 2047071  Size: SH

    Important: When a suitable hold open device is being removed or installed, provide alternate support to avoid the possibility of damage to the vehicle or personal injury.

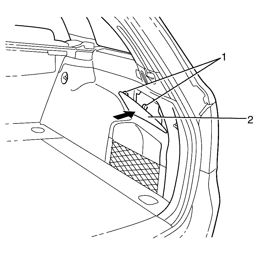
    Important: Push down on the centre of the rear compartment side trim panel access hole cover and pull on the top of the cover to release the upper retaining tangs.

  1. Install a suitable liftgate brace to the vehicle.
  2. Carefully disengage the rear compartment side trim panel access hole cover retaining tangs (1).
  3. Remove rear compartment side trim panel access hole cover (2) from the vehicle.

Installation Procedure - Left Side


    Object Number: 2047072  Size: SH

    Important: When a suitable hold open device is being removed or installed, provide alternate support to avoid the possibility of damage to the vehicle or personal injury.

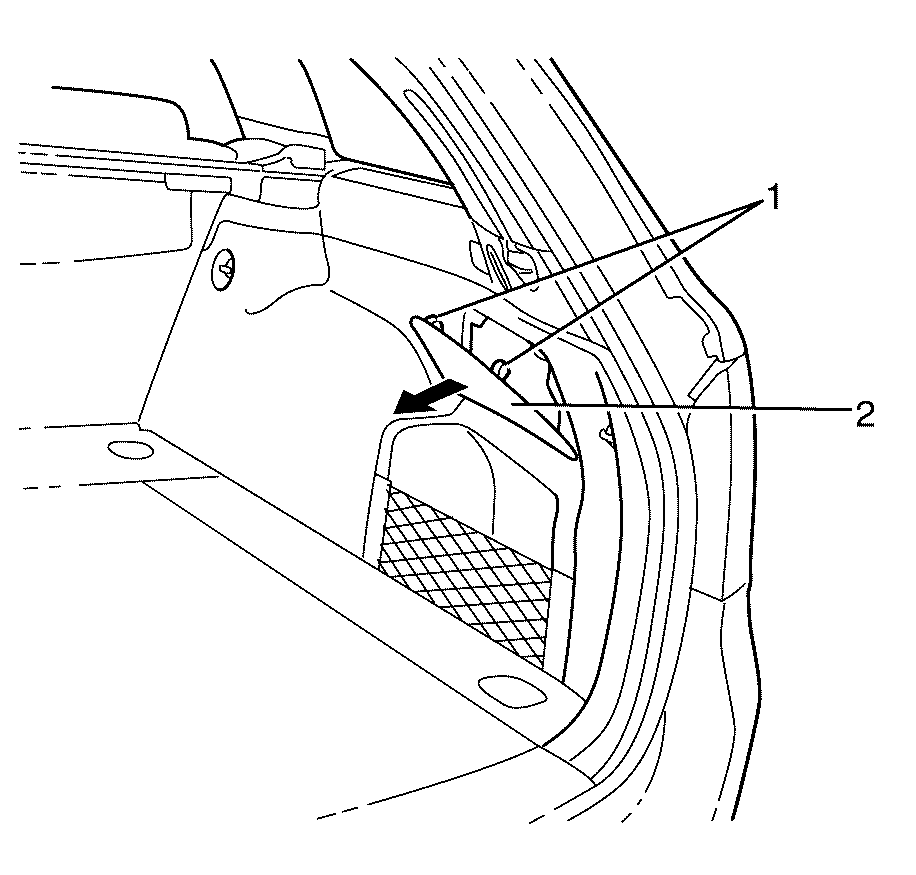
    Important: Insert the locating tabs on the bottom of the rear compartment side trim panel access hole cover then push the top of the rear compartment side trim panel access hole cover to engage the retaining tangs.

  1. Position the rear compartment side trim panel access hole cover (2) to the vehicle.
  2. Carefully engage the rear compartment side trim panel access hole cover retaining tangs (1). An audible click will confirm correct fitment.
  3. Remove the suitable liftgate brace from the vehicle.

Removal Procedure - Right Side


    Object Number: 2047357  Size: SH

    Important: When a suitable hold open device is being removed or installed, provide alternate support to avoid the possibility of damage to the vehicle or personal injury.

    Important: Push down on the centre of the tail lamp access cover trim panel and pull on the top of the tail lamp access cover trim panel to release the retaining tangs.

  1. Install a suitable liftgate brace to the vehicle.
  2. Carefully disengage the tail lamp access cover trim panel retaining tangs (1).
  3. Remove tail lamp access cover trim panel (2) from the vehicle.

Installation Procedure - Right Side


    Object Number: 2047358  Size: SH

    Important: When a suitable hold open device is being removed or installed, provide alternate support to avoid the possibility of damage to the vehicle or personal injury.

    Important: Insert the locating tabs on the bottom of the tail lamp access cover trim panel then push the top of the tail lamp access cover trim panel to engage the retaining tangs.

  1. Position the tail lamp access cover trim panel (2) to the vehicle.
  2. Carefully engage the tail lamp access cover trim panel retaining tangs (1). An audible click will confirm correct fitment.
  3. Remove the suitable liftgate brace from the vehicle.