GM Service Manual Online
For 1990-2009 cars only

Rocker Panel Rear Molding Replacement HSV Maloo

Removal Procedure

    Caution: Refer to Safety Glasses Caution in the Preface section.

    Caution: Refer to Vehicle Lifting Caution in the Preface section.


    Object Number: 2034908  Size: SH
  1. Raise and support the vehicle. Refer to Lifting and Jacking the Vehicle.
  2. Remove the rocker panel moulding. Refer to Rocker Panel Molding Replacement.
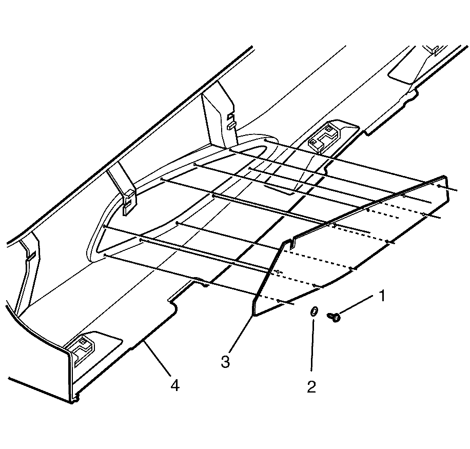
  3. Remove the rocker panel vent retaining screws (1) and washers (2).
  4. Using a suitable tool, separate the rocker panel vent (3) from the rocker panel moulding (4).

Installation Procedure


    Object Number: 2034535  Size: SH

    Important: All surfaces that are to have paint protection applied must be cleaned with a suitable alcoholic solution and be free of dust and imperfections, prior to applying paint protective decals.

  1. Apply the paint protection decal (1) to the external surface of the rocker panel moulding (2).
  2. Notice: Refer to Fastener Notice in the Preface section.


    Object Number: 2034908  Size: SH
  3. Install the rocker panel vent (3) onto the rocker panel moulding (4).
  4. Install the rocker panel vent retaining screws (1) and washers (2).
  5. Tighten
    Tighten the rocker panel vent retaining screws to 1 N·m (9 lb in).

  6. Install the rocker panel moulding. Refer to Rocker Panel Molding Replacement.
  7. Lower the vehicle. Refer to Lifting and Jacking the Vehicle.