GM Service Manual Online
For 1990-2009 cars only
Figure 1:

V8 Fender


Object Number: 1940093  Size: SH
(a)73 mm
(b)60 mm
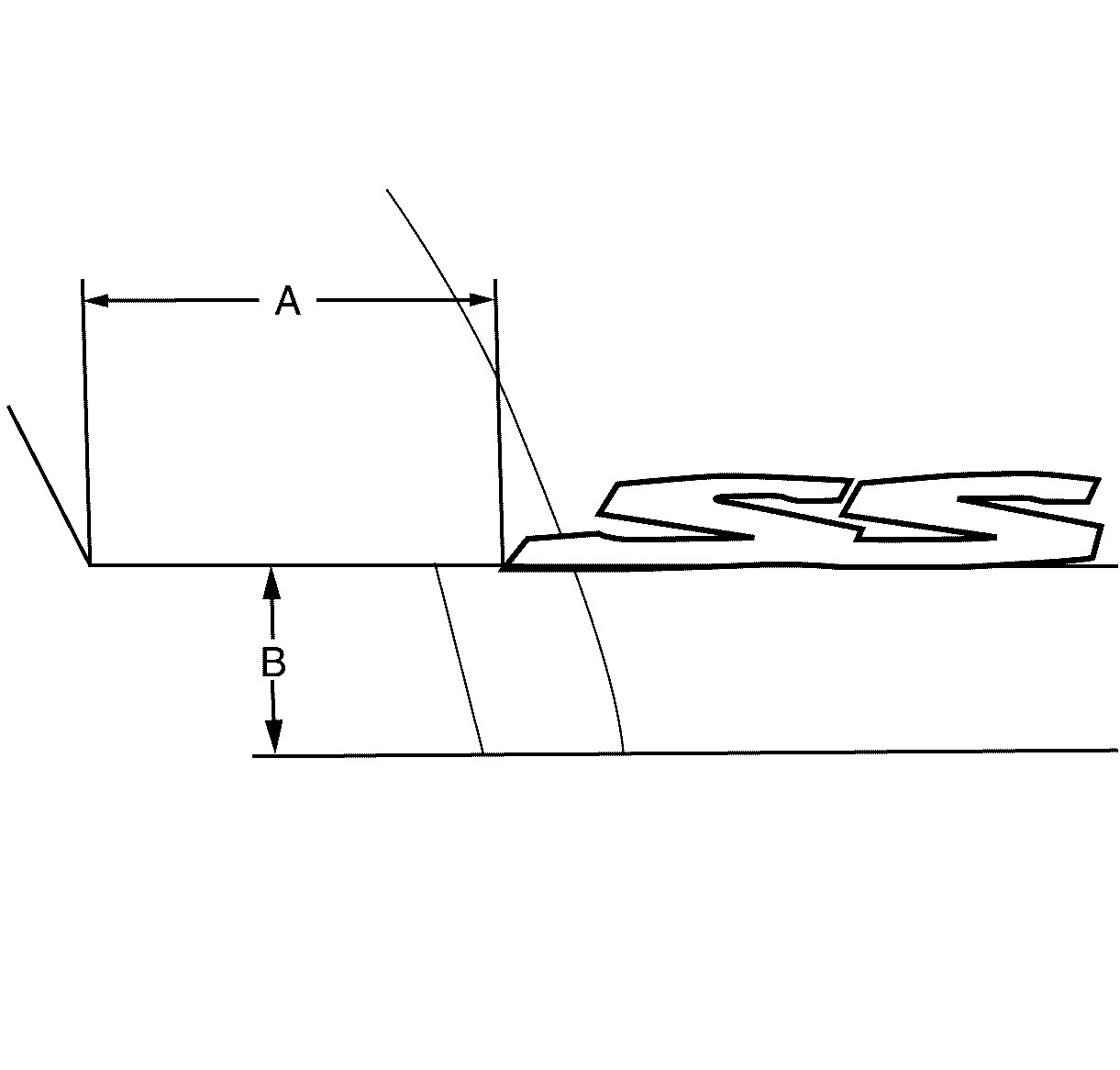
Figure 2:

SS Left Side


Object Number: 2017866  Size: SH
(a)68.2 mm
(b)157 mm
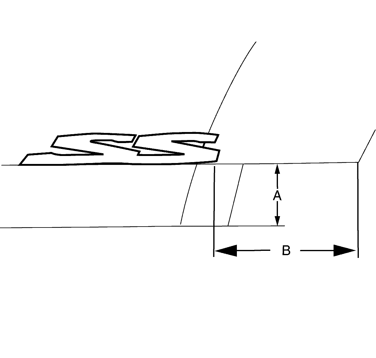
Figure 3:

SS Right Side


Object Number: 2017865  Size: SH
(a)152.5 mm
(b)67.1 mm
Figure 4:

Chevrolet Endgate


Object Number: 2017864  Size: SH
(a)69 mm
(b)40 mm
Figure 5:

V Flag Endgate


Object Number: 2017862  Size: SH
(a)40 mm
(b)92 mm
Figure 6:

SS Endgate


Object Number: 2017860  Size: SH
(a)40 mm
(b)59 mm
Figure 7:

SV6 Endgate


Object Number: 2017858  Size: SH
(a)200 mm
(b)40 mm
Figure 8:

S Endgate


Object Number: 2030299  Size: SH
(a)42 mm
(b)188 mm
Figure 9:

Endgate (60th Anniversary)


Object Number: 2141568  Size: SH
(a)210.5 mm
(b)56.4 mm
(c)141 mm
(d)166 mm