GM Service Manual Online
For 1990-2009 cars only

Removal Procedure


    Object Number: 2017388  Size: SH

    Important: Pull the bows (2) downwards to detach the soft tonneau cover (1) from the vehicle. Then pull the bows (2) upwards to remove

  1. Detach the soft tonneau cover (1) from the vehicle.

  2. Object Number: 2017876  Size: SH

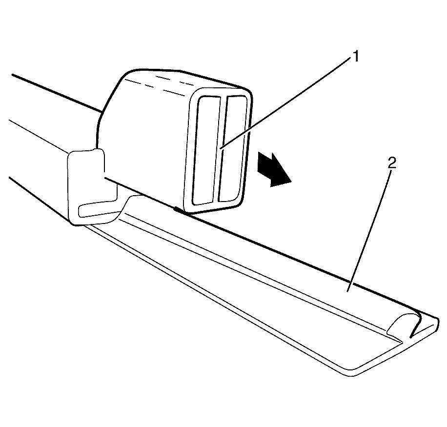
    Important: Pull the edge of the soft tonneau cover (2) upwards to detach the soft tonneau cover (1) from the vehicle.

  3. Detach the soft tonneau cover (1) from the vehicle (2).

  4. Object Number: 2017892  Size: SH
  5. Detach the soft tonneau cover magnetic strip (1) from the front of the cargo area (2).

  6. Object Number: 2017890  Size: SH

    Important:  Remove the front bow assembly (1) by sliding toward the front of the vehicle and rotating the front bow assembly (1) anticlockwise. Repeat for opposite side, if required.

    Important: Lifting one side at a time remove the soft tonneau cover assembly (3) from the soft tonneau cover bracket (2).

  7. Remove the front bow assembly (1) from the soft tonneau cover bracket (2).

  8. Object Number: 2017888  Size: SH

    Important: Take care when folding over the soft tonneau cover not to cause damage to the vehicle. If encountering difficulty, remove the soft tonneau cover assembly from the vehicle.

  9. Fold the front of the soft tonneau cover (2) over to expose the front bow assembly (1).

  10. Object Number: 2017886  Size: SH

    Important: Remove the front bow assembly (1) from the soft tonneau cover by sliding the front bow assembly (1) off the soft tonneau cover locking strip (2).

  11. Remove the front bow assembly (1) from the soft tonneau cover locking strip (2).

  12. Object Number: 2017884  Size: SH

    Important: The front bow endcaps (1) are retained by glue

    Important: Remove the front bow endcaps (1) by pulling with a suitable pair of pliers.

  13. Remove the front bow endcaps (1).

Installation Procedure


    Object Number: 2017882  Size: SH
  1. Apply Loctite® 406 glue or equivalent to the front bow endcap (1).

  2. Object Number: 2017880  Size: SH

    Important: Make sure there is no gap between the front bow endcap (1) and the front bow (2).

    Important: Repeats Steps 1 and 2 for opposite side, if required.

  3. Install the front bow endcap (1) to the front bow (2).

  4. Object Number: 2017878  Size: SH

    Important: Install the front bow assembly (1) to the soft tonneau cover by sliding the front bow assembly (1) onto the soft tonneau cover locking strip (2).

  5. Install the front bow assembly (1) to the soft tonneau cover locking strip (2).

  6. Object Number: 2034876  Size: SH

    Important: Install the soft tonneau cover assembly (3) to the vehicle one side at a time, positioning into the soft tonneau cover bracket (2).

    Important: Install the front bow assembly (1) to the soft tonneau cover bracket (2) by rotating the front bow assembly (1) clockwise and sliding the toward the rear of the vehicle.

  7. Install the front bow assembly (1) to the soft tonneau cover bracket.

  8. Object Number: 2017892  Size: SH

    Important: The front edge of the soft tonneau cover has a magnetic strip, ensure it is seated down correctly.

  9. Attach the soft tonneau cover magnetic strip (1) to the front of the cargo area (2).

  10. Object Number: 2034888  Size: SH

    Important: Use the bows (2) to pull the soft tonneau cover’s plastic strip over the slot provided around the top edge of the load area.

  11. Attach the soft tonneau cover (1) to the vehicle.

  12. Object Number: 2017876  Size: SH

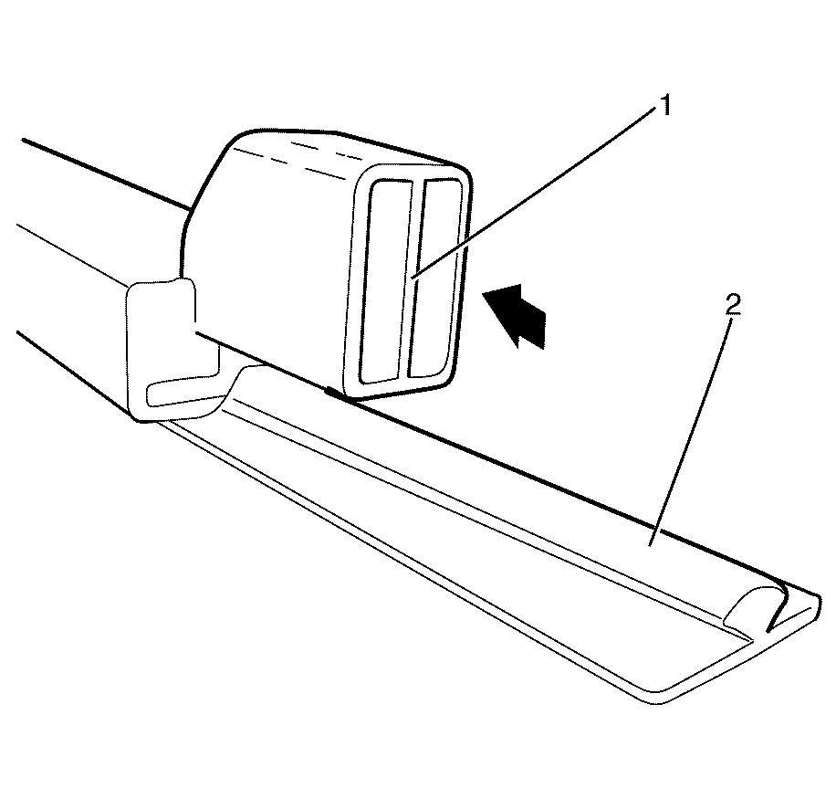
    Important: Push down the edge of the soft tonneau cover (2) with your hands to smooth the rear strip into place along the slot.

  13. Attach the soft tonneau cover (1) to the vehicle.