Important: When a suitable hold open device is being removed or installed, provide alternate support to avoid the possibility of damage to the vehicle or personal injury.
Important: Take care when passing the endgate liner over the endgate latch. Failure to do so may deform the endgate liner (1).
Important: Carefully lift the endgate liner (1) to remove from the endgate (2).
Important: Take care when passing the endgate liner over the endgate latch failure to do so may deform the endgate liner.
Notice: Refer to Fastener Notice in the Preface section.
Tighten
Tighten the screws to 1.5 N·m (13 lb in).
Tighten
Tighten the screws to 1.5 N·m (13 lb in).
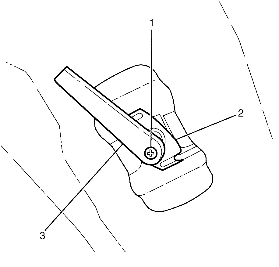
Tighten
Tighten the screw to 7 N·m (62 lb in).