GM Service Manual Online
For 1990-2009 cars only

Removal Procedure


    Object Number: 1959875  Size: SH
  1. Move the seat all the way forward towards the front of the vehicle, to gain access to the seat belt.
  2. Remove the front seat rail trim cover. Refer to Front Seat Replacement - Bucket.
  3. Remove the door sill plate. Refer to Door Sill Plate Replacement.

  4. Object Number: 1959860  Size: SH
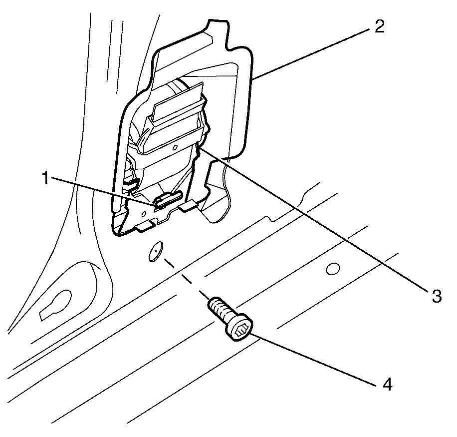
  5. Remove the front seat belt lower anchor bolt cover (2).
  6. Remove the front seat belt lower anchor assembly (1).
  7. Remove the lower centre pillar trim plate. Refer to Center Pillar Lower Trim Panel Replacement.
  8. Remove the front side door trim panel. Refer to Front Side Door Trim Panel Replacement.
  9. Remove the upper centre pillar trim panel. Refer to Center Pillar Upper Trim Panel Replacement.

  10. Object Number: 1959862  Size: SH
  11. Remove the intermediate seat belt guide screws (2).
  12. Remove the intermediate seat belt guide (1).

  13. Object Number: 2029041  Size: SH
  14. Remove the front seat belt upper guide bolt assembly (1).

  15. Object Number: 2029042  Size: SH
  16. Remove the front seat belt retractor bolt (4).
  17. Lift the retractor (3) in a upwards direction.
  18. Tilt the retractor on a 30 degree angle making sure that the locking tab (1) is clear.
  19. Remove the dust cover (2) from the centre pillar (if required).

Installation Procedure


    Object Number: 2029042  Size: SH
  1. Install the front seat belt dust cover (2) to the vehicle (if removed).
  2. Notice: Refer to Fastener Notice in the Preface section.

  3. Install the front seat belt retractor (3) to the vehicle.
  4. Make sure that the locking tab (1) is seated correctly.
  5. Secure the retractor  (3) with the bolt (4).
  6. Tighten
    Tighten the bolt (4) to 43 N·m (32 lb ft).


    Object Number: 2029041  Size: SH
  7. Install the front seat belt upper guide assembly (1).
  8. Tighten
    Tighten the front seat belt upper guide bolt (2) to  43 N·m (32 lb ft).


    Object Number: 1959862  Size: SH
  9. Install the intermediate seat belt guide (1) to the vehicle. Secure the guide with the screws (2).
  10. Tighten
    Tighten the intermediate seat belt guide screws (2) to 3 N·m (27 lb in).

  11. Install the upper centre pillar trim panel. Refer to Center Pillar Upper Trim Panel Replacement.
  12. Install the front side door trim panel. Refer to Front Side Door Trim Panel Replacement.
  13. Install the lower centre panel trim panel. Refer to Center Pillar Lower Trim Panel Replacement.

  14. Object Number: 1959860  Size: SH
  15. Install the front seat belt lower anchor bolt assembly (1).
  16. Tighten
    Tighten the front seat belt lower anchor bolt (1) to 43 N·m (32 lb ft).

  17. Install the front seat belt lower anchor bolt trim cover (2).
  18. Install the door sill plate. Refer to Door Sill Plate Replacement.
  19. Install the front seat rail trim cover. Refer to Front Seat Replacement - Bucket.
  20. Move the front seat back to original position.