GM Service Manual Online
For 1990-2009 cars only

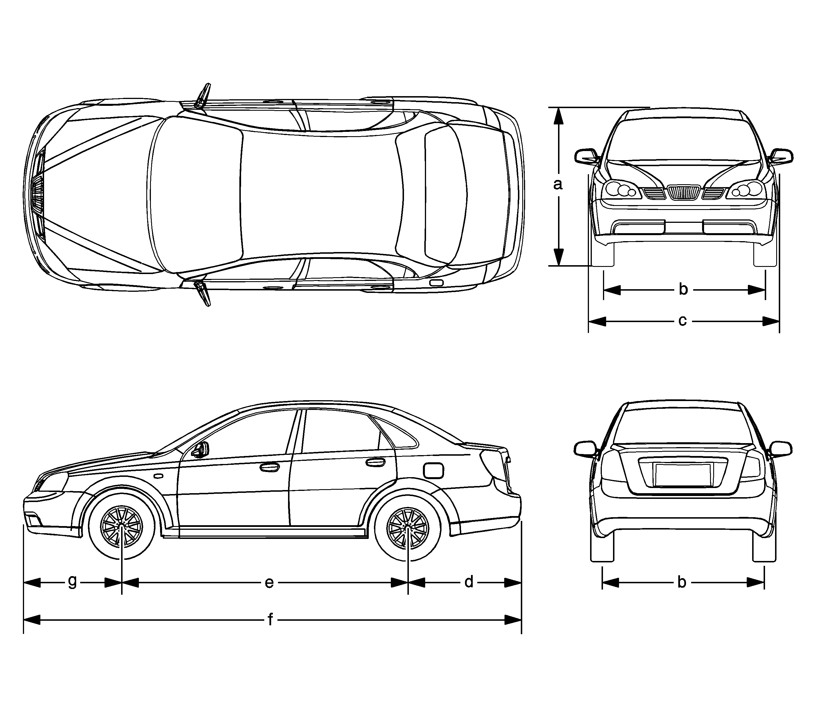
Object Number: 1343732  Size: LF

Caution: To avoid personal injury when exposed to welding flashes or to galvanized (Zinc Oxide) metal toxic fumes while grinding/cutting on any type of metal or sheet molded compound, you must work in a properly ventilated area, wearing an approved respirator, eye protection , earplugs, welding gloves, and protective clothing.

Unibody vehicles are composed of a single unit by welding together pressed parts made of steel panels. Each panel is stamped and welded to the other panels in order to form a structure. The unibody structure has the strength and the durability to perform as a body and as a frame.

Following a collision, visually inspect the entire vehicle for damage. In a collision, damage may spread beyond the point of impact.

Application

Specification

Metric

English

Overall length (f)

  • 4-door notchback

4515 mm

177.8 in

  • 5-door hatchback

4295 mm

169.1 in

  • Wagon

4580 mm

180.3 in

Front overhang (g)

  • 4-door notchback

885 mm

34.8 in

  • 5-door hatchback

902 mm

35.5 in

  • Wagon

900 mm

35.4 in

Rear overhang (d)

  • 4-door notchback

1015 mm

40.0 in

  • 5-door hatchback

793 mm

31.2 in

  • Wagon

1080 mm

42.5 in

Overall width (c)

  • All body styles

1725 mm

67.9 in

Overall height (a)

  • 4-door notchback and 5-door hatchback

1445 mm

56.9 in

  • Wagon without a roof rack

1460 mm

57.5 in

  • Wagon with a roof rack

1500 mm

59.1 in

Minimum ground clearance

  • All body styles

160 mm

6.3 in

Wheelbase (e)

  • All body styles

2600 mm

102.4 in

Front and rear track (b)

  • All body styles

1480 mm

58.3 in