GM Service Manual Online
For 1990-2009 cars only
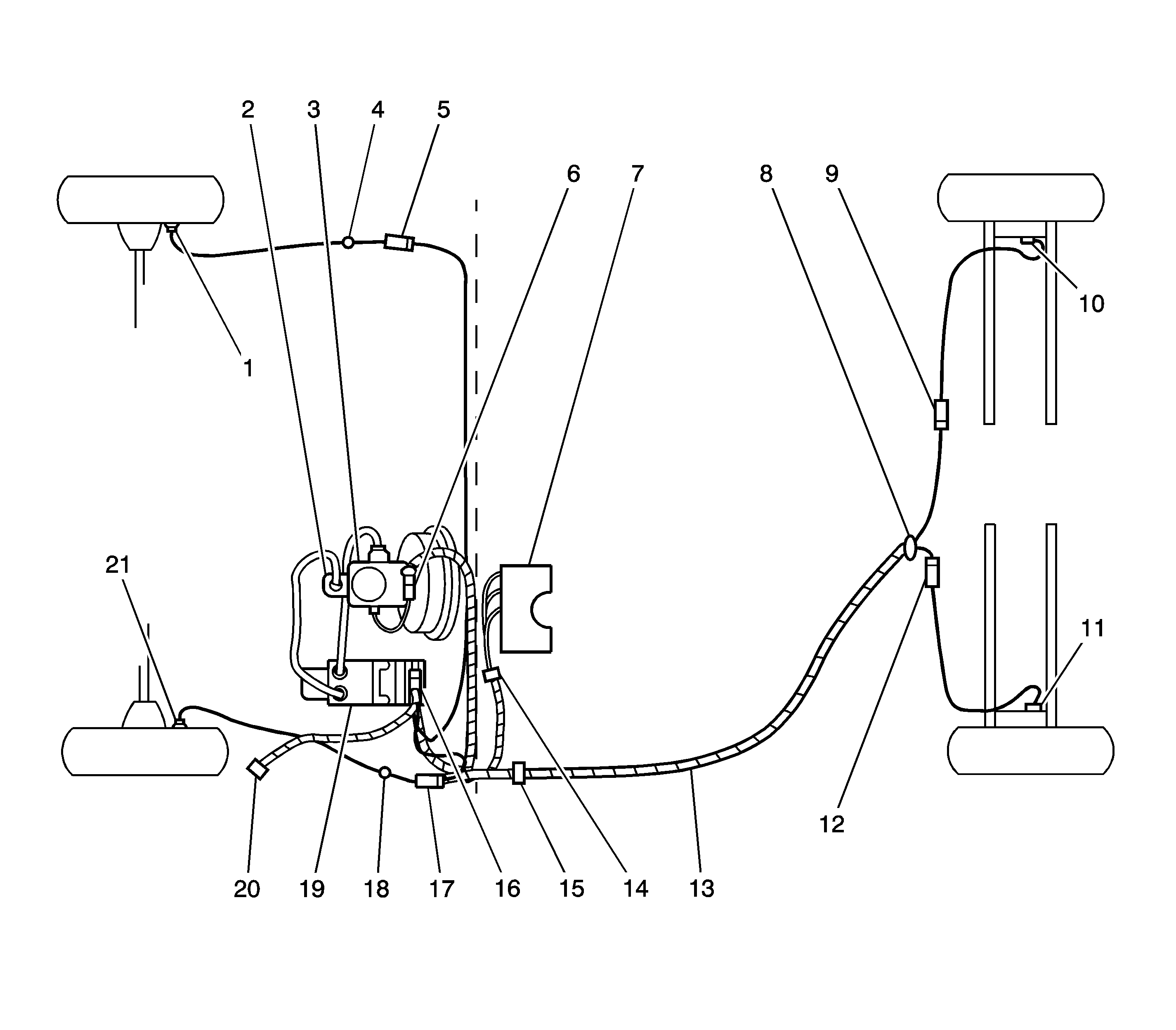
Figure 1:

Harness Routing


Object Number: 1291773  Size: LF
(1)Right Front Wheel Speed Sensor
(2)Brake Master Cylinder
(3)Master Cylinder Reservoir
(4)Grommet
(5)Right Front Wheel Speed Sensor Connector
(6)Brake Fluid Level Switch Connector
(7)Instrument Cluster
(8)Connector C901
(9)Right Rear Wheel Speed Sensor Connector
(10)Right Rear Wheel Speed Sensor
(11)Left Rear Wheel Speed Sensor
(12)Left Rear Wheel Speed Sensor Connector
(13)Body Wiring Harness
(14)Connector C202
(15)Connectors C110
(16)EBCM Connector
(17)Left Front Speed Sensor Connector
(18)Grommet
(19)Hydraulic Modulator with Attached EBCM
(20)Connector C107
(21)Left Front Wheel Speed Sensor
Figure 2:

Electronic Brake Control Module (EBCM)


Object Number: 1480695  Size: MF
(1)Electronic Brake Control Module (EBCM)
(2)Oil Feeding Connector
Figure 3:

Wheel Speed Sensor (WSS)


Object Number: 1480697  Size: MF
(1)Wheel Speed Sensor (WSS) - Left Front Shown, Right Similar
(2)Wheel Speed Sensor (WSS) - Left Rear Shown, Right Similar