GM Service Manual Online
For 1990-2009 cars only
Table 1: Electronic Brake Control Module (EBCM)
Table 2: Oil Feeding Connector
Table 3: Wheel Speed Sensor (WSS) - Left Front
Table 4: Wheel Speed Sensor (WSS) - Left Front (North America)
Table 5: Wheel Speed Sensor (WSS) - Left Rear
Table 6: Wheel Speed Sensor (WSS) - Right Front
Table 7: Wheel Speed Sensor (WSS) - Right Front (North America)
Table 8: Wheel Speed Sensor (WSS) - Right Rear

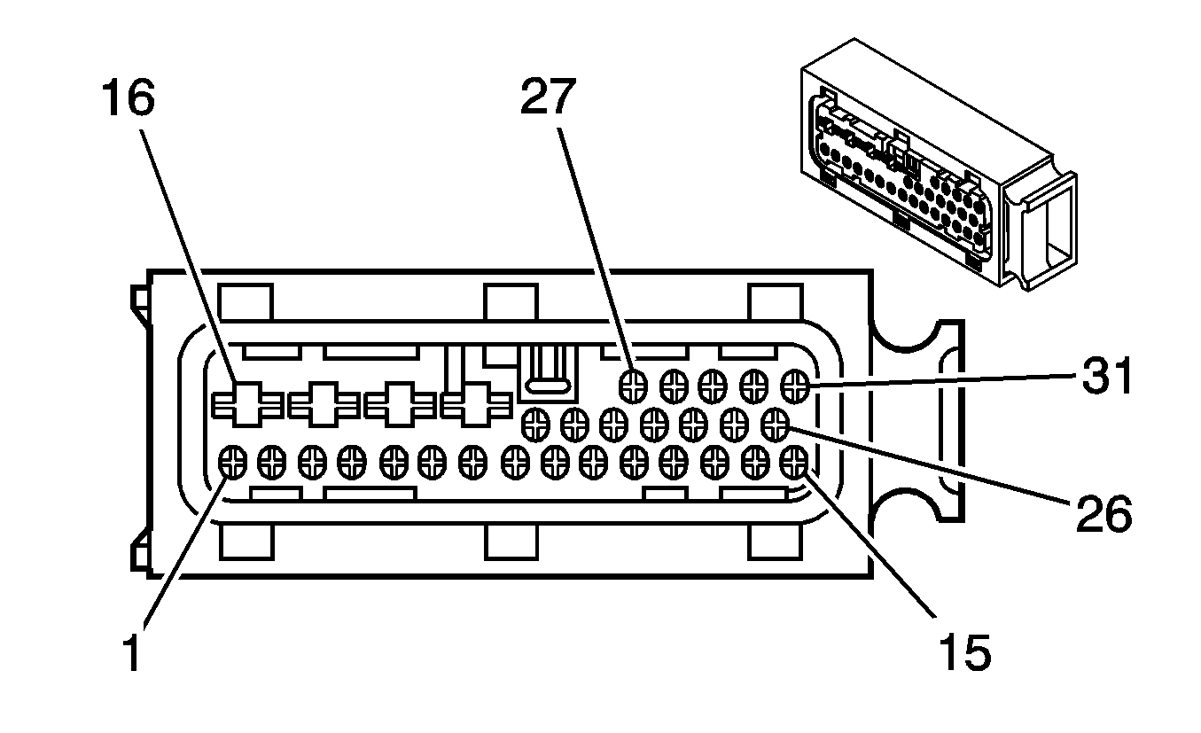
Electronic Brake Control Module (EBCM)


Object Number: 1466991  Size: CH

Connector Part Information

    • AMP 1-953042-4
    • 31-Way F Hyb Timer Conn Assembly (BK)

Pin

Wire Color

Circuit No.

Function

1

WH

883

Right Rear Wheel Speed Sensor Return

2

--

--

Not Used

3

BN

882

Right Rear Wheel Speed Sensor Signal

4

WH

833

Right Front Wheel Speed Sensor Signal

5

GY

872

Right Front Wheel Speed Sensor Return

6

BN

873

Left Front Wheel Speed Sensor Signal

7

L-BU

830

Left Front Wheel Speed Sensor Return

8

RD

885

Left Rear Wheel Speed Sensor Signal

9

BK

884

Left Rear Wheel Speed Sensor Return

10

--

--

Not Used

11

D-BU

774

Serial Data

12-13

--

--

Not Used

14

L-BU

20

Stop Lamp Switch Signal

15

BN

739

Ignition 1 Voltage

16

BK

2050

Ground

17

RD

42

Battery Positive Voltage

18

RD

42

Battery Positive Voltage

19

BK/WH

2051

Ground

20

L-GN/BK

867

ABS Indicator Failure Control

21

PU/WH

33

Brake Warning Indicator Control

22

D-GN

905

Serial Data

23

WH/YE

866

Rough Road Signal (North America)

24

--

--

Not Used

25

L-GN

876

Rough Road Signal (Except North America)

26-31

--

--

Not Used

Oil Feeding Connector


Object Number: 1467077  Size: CH

Connector Part Information

    • KET MG 640333
    • 4-Way M SWP Series (BK)

Pin

Wire Color

Circuit No.

Function

1

BK/WH

2051

Ground

2

BN

739

Ignition 1 Voltage

3

D-BU

774

Serial Data

4

RD

42

Battery Positive Voltage

Wheel Speed Sensor (WSS) - Left Front


Object Number: 537107  Size: CH

Connector Part Information

    • Bosch 2264-420424
    • 2-Way F Metri-Pack 150 Series Sealed (GY)

Pin

Wire Color

Circuit No.

Function

A

WH

873

Left Front Wheel Speed Sensor Signal

B

BK

830

Left Front Wheel Speed Sensor Return

Wheel Speed Sensor (WSS) - Left Front (North America)


Object Number: 1356098  Size: CH

Connector Part Information

    • Bosch 2264-420424
    • 2-Way F Metri-Pack 150 Series Sealed (WH)

Pin

Wire Color

Circuit No.

Function

A

BN

873

Left Front Wheel Speed Sensor Signal

B

D-BU

830

Left Front Wheel Speed Sensor Return

Wheel Speed Sensor (WSS) - Left Rear


Object Number: 537107  Size: CH

Connector Part Information

    • PED 12052644
    • 2-Way F Metri-Pack 150 Series Sealed (GY)

Pin

Wire Color

Circuit No.

Function

A

WH

885

Left Rear Wheel Speed Sensor Signal

B

BK

884

Left Rear Wheel Speed Sensor Return

Wheel Speed Sensor (WSS) - Right Front


Object Number: 537107  Size: CH

Connector Part Information

    • Bosch 2264-420424
    • 2-Way F Metri-Pack 150 Series Sealed (GY)

Pin

Wire Color

Circuit No.

Function

A

WH

872

Right Front Wheel Speed Sensor Return

B

BK

833

Right Front Wheel Speed Sensor Signal

Wheel Speed Sensor (WSS) - Right Front (North America)


Object Number: 1356098  Size: CH

Connector Part Information

    • Bosch 2264-420424
    • 2-Way F Metri-Pack 150 Series Sealed (WH)

Pin

Wire Color

Circuit No.

Function

A

YE

872

Right Front Wheel Speed Sensor Return

B

PU

833

Right Front Wheel Speed Sensor Signal

Wheel Speed Sensor (WSS) - Right Rear


Object Number: 537107  Size: CH

Connector Part Information

    • PED 12052644
    • 2-Way F Metri-Pack 150 Series Sealed (GY)

Pin

Wire Color

Circuit No.

Function

A

WH

883

Right Rear Wheel Speed Sensor Signal

B

BK

882

Right Rear Wheel Speed Sensor Return