GM Service Manual Online
For 1990-2009 cars only

Special Tools

    • DT-48179 Universal Driver Handle
    • DT-48182 Needle Sleeve Remover/Installer
    • DT-48183 Removal Bridge
    • DT-48186 Intermediate Shaft Remover
    • DT-48189 Differential Bearing Race Remover
    • DT-48225 Input Shaft Holder
    • DT-48226 Transaxle Housing Groove Ball Bearing Remover/Installer
    • DT-48227 Roller Bearing Remover/Installer
    • DT-48228 Clutch Housing Groove Ball Bearing Remover/Installer
    • DT-48229 Interm Shaft Remover
    • DT-48231 Input and Output Shaft Pusher/Puller
    • DT-48232 Input Shaft Synchro Body Protector
    • DT-48233 Interm Shaft Press Adapter

    Object Number: 1824358  Size: SH
  1. Remove the transaxle from the vehicle. Refer to Transmission Replacement.
  2. Remove the bolts, the washer, and the shift control cable bracket.

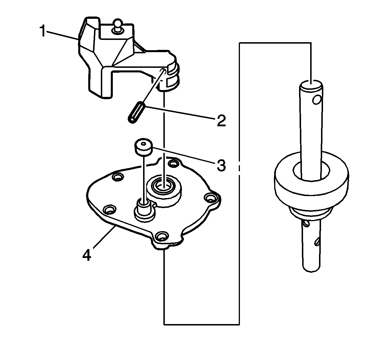
  3. Object Number: 1824359  Size: SH
  4. Remove the concentric slave cylinder retaining bolts.
  5. Disconnect the concentric slave cylinder pipe from the concentric slave cylinder.

  6. Object Number: 1773720  Size: SH

    Note: When removing the bushing, make sure not to remove it with excessive force.

  7. Remove the bushing from the concentric slave cylinder pipe.
  8. Remove the concentric slave cylinder pipe.

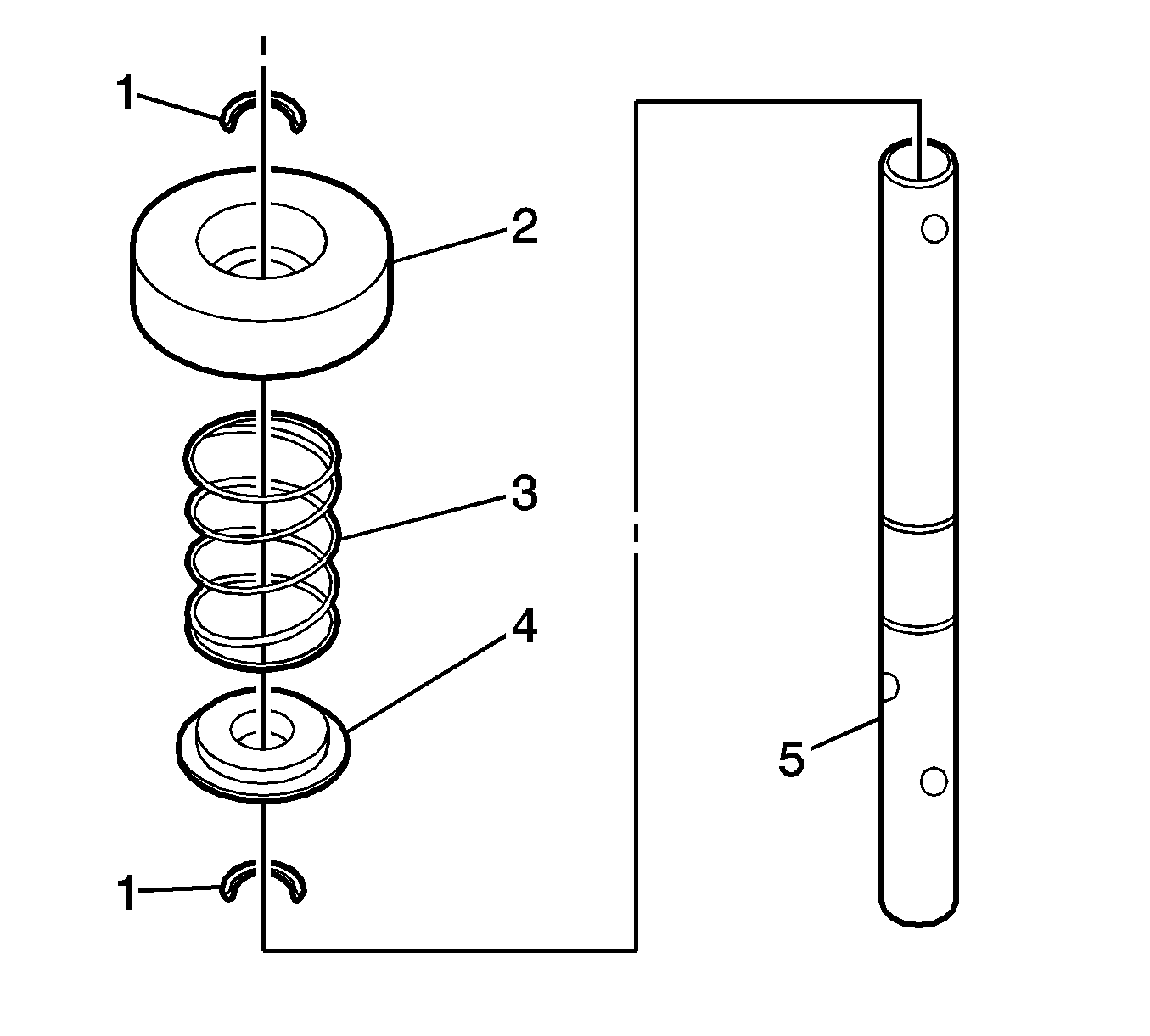
  9. Object Number: 1773721  Size: SH
  10. Remove the O-ring and the concentric slave cylinder.

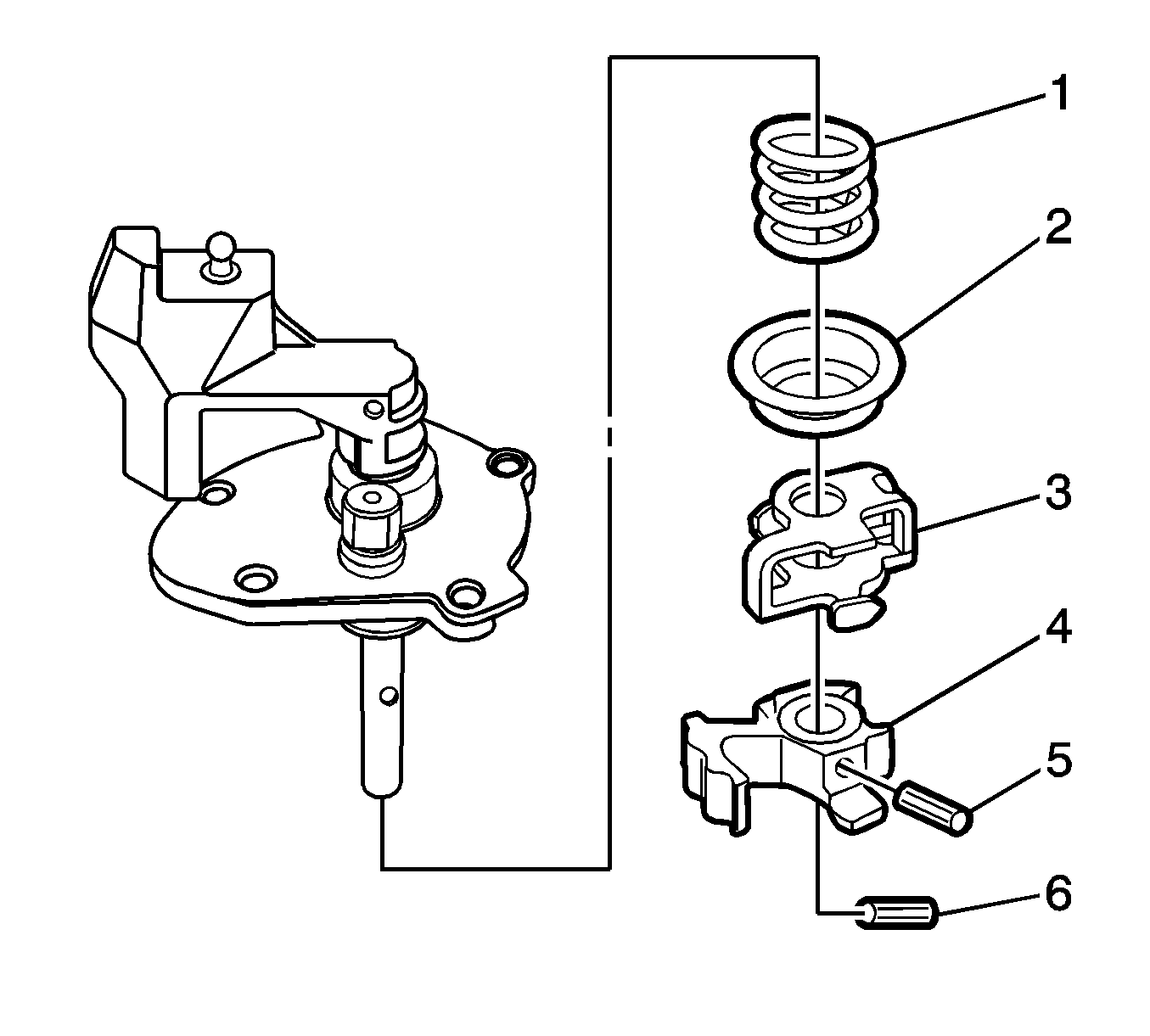
  11. Object Number: 1824360  Size: SH

    Note: Puncture the seal in the center to prevent damage to the transaxle.

  12. Knock a hole in the sealing plug of the interm shaft with a suitable tool.

  13. Object Number: 1824361  Size: SH
  14. Remove the interm shaft sealing plug and the oil pipe using a suitable tool. Discard the sealing plug and the oil pipe.

  15. Object Number: 1824363  Size: SH
  16. Hold the input shaft with the DT-48225  (1).
  17. Remove the retainer plug from the interm shaft. Discard the retainer plug.
  18. Shift the transaxle into any gear.

  19. Remove the DT-48225 .

  20. Object Number: 1824364  Size: SH
  21. Remove the transaxle rear cover bolts.

  22. Object Number: 1824365  Size: SH
  23. Remove the transaxle rear cover and the oil pipe.

  24. Object Number: 1824366  Size: SH
  25. Hold the input shaft with the DT-48225  (1).
  26. Remove the input shaft retainer plug and the output shaft retainer plug. Discard the retainer plugs.
  27. Shift the transaxle into any gear.

  28. Remove the DT-48225 .

  29. Object Number: 1824367  Size: SH
  30. Remove the shift shaft assembly.
  31. • Position the transaxle into neutral.
    • Remove the shift guide bolt (1).
    • Remove the shift retaining bolts.
    • Remove the select control lever (2).
    • Remove the shift shaft assembly (3).

    Object Number: 1785650  Size: SH
  32. Remove the backup lamp switch and the washer from the transaxle housing.

  33. Object Number: 1824369  Size: SH
  34. Remove the eight bolts from the clutch housing side.

  35. Object Number: 1824370  Size: SH
  36. Remove the 12 bolts from the transaxle housing side.

  37. Object Number: 1824371  Size: SH
  38. Remove the transaxle housing from the clutch housing.
  39. 22.1. Install the DT-48231 onto the transaxle housing.
       • Tighten the four bolts.
       • Screw the spindles into the input and output shaft.
    22.2. Separate the transaxle housing from the clutch housing.
       • Hold the spindles (1) using a suitable tool.
       • Turn via nuts (2) in direction of arrow.
    22.3. Remove the DT-48231 from the transaxle housing.
       • Unscrew the spindles into the input and output shaft.
       • Remove the four bolts.

    Object Number: 1824373  Size: SH

    Note: This prevents the 3rd/4th synchro body assembly falling apart.

  40. Install the DT-48232  (1) and the retainer plug to the input shaft.

  41. Object Number: 1824374  Size: SH
  42. Remove the input and output shaft assembly with the respective shift forks out of the clutch housing.
  43. Knock interm shaft out of interm shaft groove ball bearing using the DT-48186  (1).

    Note: Hold the input and output shaft assembly firmly.

  44. Remove the DT-48232 and the retainer plug from the input shaft.

  45. Object Number: 1824375  Size: SH
  46. Remove the differential (1) and the output shaft roller bearing (2) from the clutch housing.

  47. Object Number: 1824377  Size: SH
  48. Remove the magnet from the transaxle housing.

  49. Object Number: 1785650  Size: SH
  50. Remove the drain channel from the transaxle housing.
  51. Remove the idle shift rail bushing from the transaxle housing.
  52. Remove the idle shift rail from the transaxle housing.

  53. Object Number: 1785682  Size: SH
  54. Remove the thread pin (3), the torsion spring (2), and the reverse shifting blocker (1) from the trans-axle housing. Discard the thread pin.

  55. Object Number: 1785684  Size: SH
  56. Remove the needle sleeve from the transaxle housing using the DT-48179  (1) and the DT-48182  (2).

  57. Object Number: 1824378  Size: SH
  58. Remove the input shaft and output shaft groove ball bearings from the transaxle housing using the DT-48179  (1) and the DT-48226  (2).

  59. Object Number: 1824379  Size: SH
  60. Remove the differential bearing race from the transaxle housing.
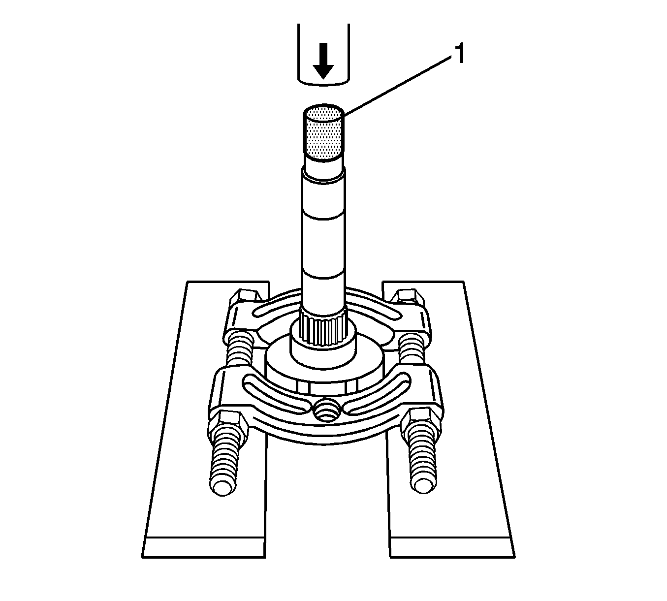
  61. 34.1. Install the DT-48189 .
    34.2.  Turn the nut (1) in direction of arrow.
    34.3.  Install the DT-48183 to the DT-48189 .
    34.4.  Hold the spindle using a suitable tool.
    34.5. Turn the nut (2) in direction of arrow.

    Object Number: 1824380  Size: SH
  62. Remove the shim from the transaxle housing.

  63. Object Number: 1824381  Size: SH
  64. Remove the shaft seal ring from the transaxle housing. Discard the shaft seal ring.

  65. Object Number: 1824383  Size: SH
  66. Remove the input shaft roller bearing from the clutch housing using the DT-48179  (1) and the DT-48227  (2).

  67. Object Number: 1824384  Size: SH
  68. Remove the snap ring from the Interm shaft groove ball bearing.

  69. Object Number: 1824386  Size: SH
  70. Remove the Interm shaft groove ball bearing from the clutch housing using the DT-48179  (1) and the DT-48228  (2).

  71. Object Number: 1785695  Size: SH
  72. Remove the differential bearing race from the clutch housing.
  73. 40.1. Install the DT-48189 .
    40.2. Turn the nut (1) in direction of arrow.
    40.3. Install the DT-48183 to the DT-48189 .
    40.4. Hold the spindle using a suitable tool.
    40.5. Turn the nut  (2) in direction of arrow.

    Object Number: 1785718  Size: SH
  74. Remove the shim from the clutch housing.

  75. Object Number: 2136697  Size: SH
  76. Remove the shaft seal ring (1) from the clutch housing. Discard the shaft seal ring.

  77. Object Number: 1824387  Size: SH

    Note: Observe the orientation of the coiled pin before removal

  78. Remove the coiled pin (6). Discard the coiled pin.
  79. Remove the coiled pin (5). Discard the coiled pin.
  80. Remove the shift interlock (3).
  81. Remove the shift finger (4).
  82. Remove the outer spring seat (2).
  83. Remove the 5th/Reverse pressure spring (1).

  84. Object Number: 1824388  Size: SH
  85. Remove the coiled pin (2). Discard the coiled pin.
  86. Remove the shift lever (1).
  87. Remove the vent cap (3).
  88. Remove the shift cover (4).

  89. Object Number: 1785728  Size: SH
  90. Remove the snap rings (1). Discard the snap rings.
  91. Remove the inner spring seat (2).
  92. Remove the 1st/2nd pressure spring (3).
  93. Remove the angle disc (4) from the shift rod (5).

  94. Object Number: 1824390  Size: SH
  95. Clean all components in a suitable solution.
  96. Inspect all components for wear or damage.

  97. Object Number: 1824391  Size: SH
  98. Press off the 1st gear assembly and the 2nd gear assembly as a unit, from the interm shaft using the DT-48233  (1), and a hydraulic press.

  99. Object Number: 1785734  Size: SH
  100. Put the 1st gear assembly and the 2nd gear assembly, as a unit, on the bench.
  101. Remove the thrust washer (1).
  102. Remove the roller bearing (2).
  103. Remove the 1st gear (3).
  104. Remove the roller bearing (4).
  105. Remove the bearing collar (5).
  106. Remove the thrust washer (6).

  107. Object Number: 1785740  Size: SH
  108. Remove the 1st gear inner cone (1).
  109. Remove the 1st gear blocking ring (2).
  110. Remove the 1st gear outer cone (3).
  111. Remove the 1st/2nd synchronizer assembly (4).

  112. Object Number: 1785744  Size: SH
  113. Remove the 2nd gear outer cone (1).
  114. Remove the 2nd gear blocking ring (2).
  115. Remove the 2nd gear inner cone (3).
  116. Remove the 2nd gear.

  117. Object Number: 1785748  Size: SH
  118. Remove the needle bearings from the interm shaft.

  119. Object Number: 1824393  Size: SH
  120. Remove the sleeve bearing using the DT-48233 and hydraulic press.

  121. Object Number: 1785750  Size: SH
  122. Remove the thrust washer (1).
  123. Remove the 4th gear (2).
  124. Remove the needle bearing (3).
  125. Remove the 4th gear blocking ring (4).

  126. Object Number: 1824394  Size: SH
  127. Remove the bearing collar and the 3rd/4th synchronizer from the input shaft using the gear and bearing separator plate under the 3rd speed gear, the DT-48234  (1), and a hydraulic press.

  128. Object Number: 1785752  Size: SH
  129. Remove the following components as an assembly:
  130. • The bearing collar (1)
    • The 3rd/4th synchronizer assembly (2)
    • The thrust washer (3)
    • The thrust bearing (4)
    • The 3rd gear blocking ring (5)
    • The 3rd gear (6)

    Object Number: 1785767  Size: SH
  131. Remove the needle bearing (1).
  132. Remove the thrust bearing (2).

  133. Object Number: 1824396  Size: SH
  134. Press off 5th gear using the gear and bearing separator plate, the DT-48234  (1) and a hydraulic press.

  135. Object Number: 1824397  Size: SH

    Note: The 4th driven gear is a very tight press.

  136. Press off the 4th driven gear using the gear and bearing separator plate, the DT-48234  (1) and a hydraulic press.

  137. Object Number: 1824408  Size: SH

    Note: The 3rd driven gear is a very tight press.

  138. Remove the 3rd driven gear using the gear and bearing separator plate, the DT-48234  (1) and a hydraulic press.

  139. Object Number: 1824410  Size: SH
  140. Remove the 5th gear (1) and the two needle bearings (2).

  141. Object Number: 1824413  Size: SH

    Note: Do not contact the thrust washer under the reverse gear.

  142. Remove the bearing collar using the gear and bearing separator plate, the DT-48234  (1), and a hydraulic press.

  143. Object Number: 1785769  Size: SH
  144. Remove the following components as an assembly:
  145. • The bearing collar (1)
    • The 5th gear blocking ring (2)
    • The 5th/Reverse synchronizer assembly (3)
    • The reverse blocking ring (4)
    • The reverse gear (5)
    • The needle bearing (6)

    Object Number: 1824415  Size: SH

       Note: Ensure that the gear and bearing separator plate is not making contact with the pinion gear before pressing off the collar and thrust washer.

    • Remove the collar and the thrust washer using the gear and bearing separator plate, the DT-48234  (1), and a hydraulic press.

    Object Number: 1785784  Size: SH
  146. Inspect the clutch housing and the differential housing for the following:
  147. • Cracks
    • Porosity
    • Damaged mating surface
    • Stripped bolt threads
    • Distortion
    • Replace any part that exhibits any of these conditions.

    Object Number: 1785798  Size: SH
  148. Inspect the gear teeth and the gear splines for excessive wear or damage.
  149. Remove minor nicks or scratches with an oil stone. Replace worn or damaged gears.

  150. Object Number: 1824418  Size: SH
  151. Inspect the thrust washer for wear or damage. Replace worn or damaged thrust washers.

  152. Object Number: 1785803  Size: SH

    Note: Do not allow the bearings to spin. Turn the bearings slowly by hand. Spinning bearings may cause damage to the rollers.

  153. Inspect the condition of all thrust bearings, input shaft bearings and output shaft bearings.
  154. • Wash the bearings thoroughly in a cleaning solvent.
    • Apply compressed air to the bearings.
    • Lubricate the bearings with light oil.
    • Check the bearing for roughness by slowly turning the race by hand.

    Object Number: 1785807  Size: SH
  155. Clean the synchronizer with clean solvent.
  156. Air dry the components.
  157. Inspect the synchronizer teeth for the following conditions:
  158. • Wear
    • Scuffing
    • Nicks
    • Burrs
    • Breaking
  159. Inspect the keys or the springs for the following:
  160. • Wear
    • Cracks
    • Distortion

    Object Number: 1824421  Size: SH
    • Inspect the shift forks, shafts and the rubber end for wear or damage.
      Replace any part that is worn or damaged.
    • If any of the following conditions exist, replace synchronizer.