GM Service Manual Online
For 1990-2009 cars only
Figure 1:

Upper End


Object Number: 1291741  Size: LF
(1)Bolt
(2)Spark Plug Cover
(3)Oil Filler Cap
(4)Oil Filler Cap Seal
(5)Bolt
(6)Camshaft Cover
(7)Camshaft Cover Gasket
(8)Tappet Adjuster
(9)Valve Key
(10)Valve Spring Cap
(11)Valve Spring
(12)Valve Stem Seal
(13)Valve Spring Seat
(14)Valve Guide
(15)Intake Valve Seat Ring
(16)Exhaust Valve Seat Ring
(17)Cylinder Head
(18)Exhaust Valve
(19)Bolt
(20)Front Camshaft Cap
(21)Head Bolt
(22)Bolt
(23)Intermediate Camshaft Cap
(24)Exhaust Gas Recirculation Adapter
(25)Exhaust Gas Recirculation Adapter Gasket
(26)Intake Valve
(27)Exhaust Manifold Gasket
(28)Exhaust Manifold
(29)Exhaust Manifold Heat Shield
(30)Nut
(31)Cylinder Head Gasket
(32)Bolt
(33)Thermostat Housing
(34)Thermostat Housing Gasket
(35)Stud
(36)Sleeve
(37)Plug
(38)Camshaft Position Sensor
(39)Bolt
(40)Oil Gallery Plug
(41)Exhaust Camshaft
(42)Seal Ring
(43)Camshaft Gear
(44)Washer
(45)Camshaft Gear Bolt
(46)Intake Camshaft
(47)Intake Manifold Gasket
(48)Intake Manifold
(49)Throttle Body Gasket
(50)Throttle Body
(51)Nut
(52)Charcoal Canister Purge Solenoid
(53)Exhaust Gas Recirculation Solenoid
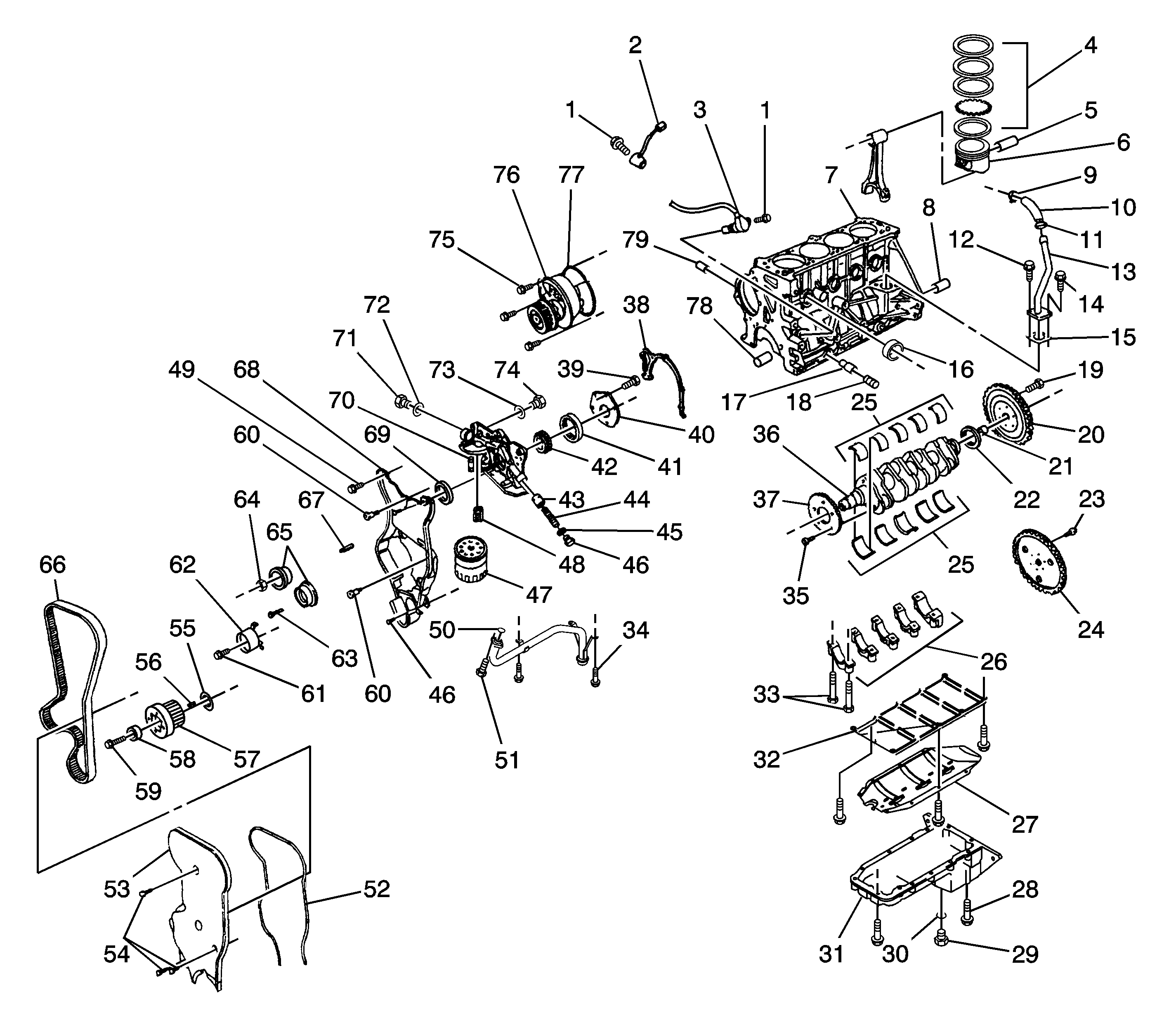
Figure 2:

Lower End


Object Number: 1291742  Size: LF
(1)Bolt
(2)Knock Sensor
(3)Crankshaft Position Sensor
(4)Piston Ring Set
(5)Piston Pin
(6)Piston
(7)Engine Block
(8)Sleeve
(9)Clamp
(10)Hose
(11)30 Clamp
(12)Bolt
(13)Engine Ventilation Pipe
(14)Bolt
(15)Gasket
(16)Water Jacket Cap
(17)Bushing
(18)Bushing Plug
(19)Bolt (Manual Transaxle)
(20)Flywheel (Manual Transaxle)
(21)Needle Sleeve
(22)Crankshaft Rear Seal
(23)Bolt (Automatic Transaxle)
(24)Flexible Plate (Automatic Transaxle)
(25)Bearing Set
(26)Connecting Rod
(27)Oil Pan Scraper
(28)Bolt
(29)Drain Plug
(30)Washer
(31)Oil Pan
(32)Crankshaft Bearing Bridge
(33)Connecting Rod Bolt
(34)Oil Suction Pipe
(35)Bolt
(36)Crankshaft
(37)Transmitter Disk
(38)Gasket
(39)Bolt
(40)Oil Pump Cover
(41)Ring Gear
(42)Gear
(43)Pressure Relief Valve Plunger
(44)Pressure Relief Valve Spring
(45)Seal Ring
(46)Pressure Relief Valve Plug
(47)Oil Filter
(48)Bypass Valve
(49)Bolt
(50)Seal Ring
(51)Bolt
(52)Gasket
(53)Front Timing Belt Cover
(54)Bolt
(55)Thrust Inner Washer
(56)Woodruff Key
(57)Crankshaft Gear
(58)Thrust Outer Washer
(59)Bolt
(60)Special Bolt
(61)Bolt
(62)Tensioner
(63)Bolt
(64)Nut
(65)Idler Pulley
(66)Camshaft Drive Belt
(67)Stud
(68)Rear Timing Belt Cover
(69)Seal Ring
(70)Connecting Piece
(71)Oil Duct Outlet Plug
(72)Washer
(73)Washer
(74)Oil Pressure Switch
(75)Bolt
(76)Water Pump
(77)Seal Ring
(78)Sleeve
(79)Oil Gallery Plug