GM Service Manual Online
For 1990-2009 cars only
Figure 1:

Camshaft Position (CMP) and Crankshaft Position (CKP) Sensors, EVAP (L95, LXT)


Object Number: 1480981  Size: LF
(1)Camshaft Position (CMP) Sensor
(2)Crankshaft Position (CKP) Sensor
(3)Evaporative Emissions (EVAP) Canister Purge Solenoid Valve
Figure 2:

Crankshaft Position (CKP) Sensors, EVAP, Ignition Coils (L79, LDA, L34)


Object Number: 1480971  Size: LF
(1)Evaporative Emissions (EVAP) Canister Purge Solenoid Valve
(2)Crankshaft Position (CKP) Sensor
(3)Ignition Coil Modules
Figure 3:

Diesel Engine (1 of 2)


Object Number: 1890073  Size: LF
(1)Oil Separator
(2)EGR Solenoid Valve
(3)CMP
(4)EGR Valve
(5)Throttle Plate Actuator
(6)Starter Motor
(7)Oil Pan
(8)A/C Compressor
(9)Generator
(10)Fuel Injection Pump
(11)Power Steering Pump
(12)MAP Sensor
(13)Fuel Injector
Figure 4:

Diesel Engine (2 of 2)


Object Number: 1890074  Size: LF
(1)EGR Valve
(2)Wastegate Solenoid
(3)Oil Pressure Sensor
Figure 5:

Engine Control Module (ECM), Engine Coolant Temperature (ECT), Camshaft Position (CMP) and Rough Road Sensors (L79, LDA, L34)


Object Number: 1480975  Size: LF
(1)Engine Control Module (ECM)
(2)Engine Coolant Temperature (ECT) Sensor
(3)Camshaft Position (CMP) Sensor
(4)Rough Road Sensor
Figure 6:

Engine Coolant Temperature (ECT), Ignition Coils, Engine Control Module (ECM) (L95, LXT)


Object Number: 1480982  Size: LF
(1)Engine Coolant Temperature (ECT)
(2) Ignition Coils/Modules
(3)Engine Control Module (ECM)
Figure 7:

Exhaust Gas Recirculation (EGR) Valve, Knock Sensor (KS) (L95, LXT)


Object Number: 1480979  Size: LF
(1)Exhaust Gas Recirculation (EGR) Valve (Euro Emissions)
(2)Knock Sensor (KS)
(3)Exhaust Gas Recirculation (EGR) Valve (ECE 83 Emissions)
Figure 8:

Exhaust Gas Recirculation (EGR) Valve, Knock Sensor (KS) (L79, LDA)


Object Number: 1480970  Size: LF
(1)Exhaust Gas Recirculation (EGR) Valve (Euro Emissions)
(2) Knock Sensor (KS)
(3) Exhaust Gas Recirculation (EGR) Valve (ECE 83 Emissions)
Figure 9:

Exhaust Gas Recirculation (EGR) Valve, Knock Sensor (KS) (L34)


Object Number: 1480964  Size: MF
(1)Exhaust Gas Recirculation (EGR) Valve
(2) Knock Sensor (KS)
Figure 10:

Fuel Injectors, Heated Oxygen Sensor (HO2S) 1, Heated Oxygen Sensor (HO2S) 2, Idle Air Control (IAC) Valve, Intake Air Temperature (IAT) Sensor (L79, LDA)


Object Number: 1480967  Size: LF
(1)Fuel Injector 1
(2)Fuel Injector 2
(3)Fuel Injector 3
(4)Fuel Injector 4
(5)Heated Oxygen Sensor (HO2S) 1 (MR-140), Oxygen Sensor (HV-240)
(6)Heated Oxygen Sensor (HO2S) 2 (MR-140)
(7)Idle Air Control (IAC) Valve
(8)Intake Air Temperature (IAT) Sensor
Figure 11:

Fuel Injectors, Heated Oxygen Sensor (HO2S) 1, Heated Oxygen Sensor (HO2S) 2, Intake Air Temperature (IAT) Sensor (L95, LXT)


Object Number: 1480980  Size: LF
(1)Fuel Injector 1
(2)Fuel Injector 2
(3)Fuel Injector 3
(4)Fuel Injector 4
(5)Heated Oxygen Sensor (HO2S) 1/Oxygen Sensor (O2S) (ECE 83 Emissions)
(6)Heated Oxygen Sensor (HO2S) 2
(7)Intake Air Temperature (IAT) Sensor
Figure 12:

Fuel Injectors, Heated Oxygen Sensor (HO2S) 1, Heated Oxygen Sensor (HO2S) 2, Idle Air Control (IAC) Valve, Intake Air Temperature (IAT) Sensor (L34)


Object Number: 1480968  Size: LF
(1)Fuel Injector 1
(2)Fuel Injector 2
(3)Fuel Injector 3
(4)Fuel Injector 4
(5)Heated Oxygen Sensor (HO2S) 1
(6)Heated Oxygen Sensor (HO2S) 2
(7)Idle Air Control (IAC) Valve
(8)Intake Air Temperature (IAT) Sensor
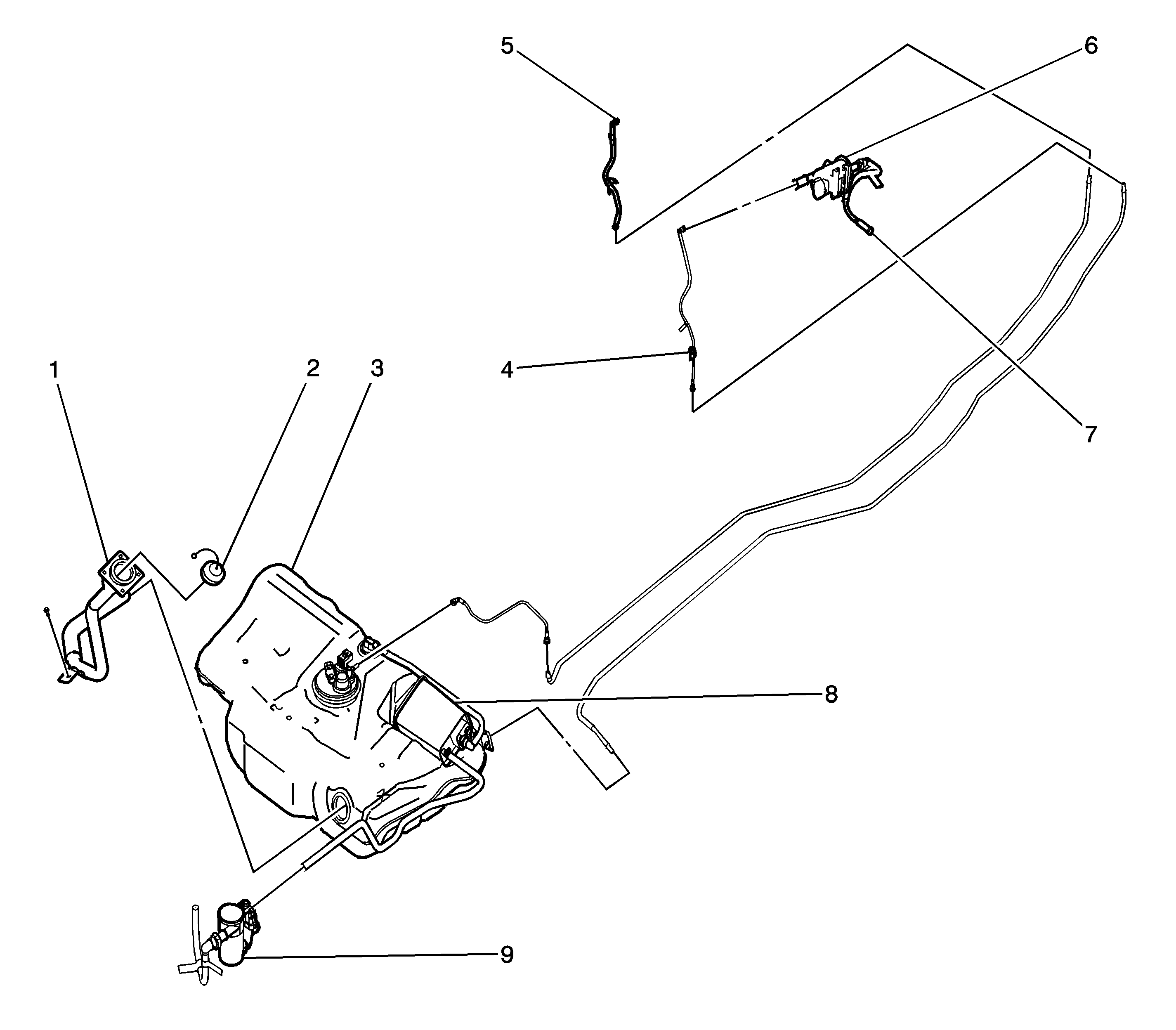
Figure 13:

Fuel Vapor Recovery System (L34)


Object Number: 1376570  Size: LF
(1)Fuel Tube
(2)Fuel Filler Cap
(3)Fuel Tank
(4)Service Port
(5)Fuel Pipe to Fuel Rail
(6)Evaporative Emissions (EVAP) Canister Purge Solenoid Valve
(7)Vacuum Hose to Intake Manifold
(8)Evaporative Emissions (EVAP) Canister
(9)Evaporative Emissions Canister Vent Solenoid Valve
Figure 14:

Manifold Absolute Pressure (MAP), Oil Pressure, Throttle Position (TP) Sensors (L79, LDA, L34)


Object Number: 1480966  Size: LF
(1)Manifold Absolute Pressure (MAP) Sensor
(2)Engine Oil Pressure Switch
(3)Throttle Position (TP) Sensor
(4)Idle Air Control (IAC)
Figure 15:

TCM Harness RHD (M98)


Object Number: 1864921  Size: MF
(1)Park/Neutral Position (PNP) Switch
(2)Output Speed Sensor (OSS)
(3)X207
(4)Input Speed Sensor (ISS)
(5)Automatic Transaxle
Figure 16:

TCM Harness LHD (M98)


Object Number: 1864924  Size: MF
(1)Park/Neutral Position (PNP) Switch
(2)Output Speed Sensor (OSS)
(3)Transmission Control Module (TCM)
(4)X207
(5)Input Speed Sensor (ISS)
(6) Automatic Transaxle
Figure 17:

Throttle Body, Manifold Absolute Pressure (MAP), Oil Pressure (L95, LXT)


Object Number: 1480978  Size: LF
(1)Throttle Body
(2)Manifold Absolute Pressure (MAP) Sensor
(3)Oil Pressure Switch
Figure 18:

Transmission Control Module (TCM) (MLQ)


Object Number: 1480989  Size: MF
(1)Transmission Control Module (TCM) Aisin
Figure 19:

Transmission Electronic Components (MLQ)


Object Number: 1248540  Size: MF
(1)Transmission Control Module (TCM) Harness Connector
(2)Input Speed Sensor (ISS) Connector
(3)Transaxle Harness
(4)Solenoid Connectors
(5)Park/Neutral Position (PNP) Switch
(6)Output Shaft Speed (OSS) Sensor (Vehicle Speed Sensor (VSS))
(7)Output Shaft Speed (OSS) Connector
(8)TCM
Figure 20:

Transmission Control Module (TCM) (MFA)


Object Number: 1480994  Size: MF
(1)Transmission Control Module (TCM) ZF 4HP16
(2)Key Interlock Module
Figure 21:

Transaxle Housing (MFA)


Object Number: 1257107  Size: MF
(1)Transaxle Housing
(2)Breather Pipe
(3)Sleeve Protector
(4)Type Plate
(5)Axle Shaft Seal
(6)Sealing Sleeve
(7)Sealing Sleeve
(8)Cable Terminal
(9)Output Speed Sensor
(10)Bolt
(11)Washer
(12)Bushing
(13)Shaft Seal
(14)Park/Neutral Position Switch
(15)Bolt
(16)Shim
(17)Shim