GM Service Manual Online
For 1990-2009 cars only
Connector 1: Fuse Block - Underhood Label
Connector 2: Fuse Block Underhood - Top View
Connector 3: Fuse Block Underhood - Bottom View
Connector 4: Fuse Block - Underhood X1
Connector 5: Fuse Block - Underhood X2
Connector 6: Fuse Block - Underhood X3
Connector 7: Fuse Block - Underhood X4
Connector 8: Fuse Block - Underhood X5
Connector 9: Fuse Block - Underhood X6
Connector 10: Fuse Block - Underhood X7
Connector 11: Fuse Block - Underhood Auxiliary Label
Connector 12: Fuse Block - I/P Label
Connector 13: Fuse Block - I/P Top View
Connector 14: Fuse Block - I/P Bottom View
Connector 15: Fuse Block - I/P

Fuse Block - Underhood Label


Object Number: 1889223  Size: LF

Fuse Block - Underhood Label Usage

No.

Device

Rating

Description

EF1

BATT PWR Fuse

30A

Battery Main, F13-F16, F21-F24

EF2

ABS Fuse

60A

EBCM, Oil Feeding Connector

EF3

HVAC BLWR Fuse

30A

Blower Relay

EF4

IGN 2 Fuse

30A

Ignition Switch - 2

EF5

IGN 1 Fuse

30A

Ignition Switch - 1

EF6

COOL FAN LOW Fuse

20A

Cooling Fan Low Relay

EF7

DEFOG Fuse

30A

Defog Relay

EF8

COOL FAN HI Fuse

30A

Cooling Fan HI Relay (Gasoline)

40A

Cooling Fan HI Dummy Plug (Diesel)

EF9

PWR WINDOW Fuse

20A

Power Window Switch

EF10

IGN COIL Fuse

15A

Fuel Connector, ECM, MR-140, LEGR, EI System

EF11

ECM Fuse

10A

ECM, Main Relay, Sirius D4

EF12

HEADLAMPS Fuse

25A

Headlamp, ILLUM Relay

EF13

STOP LAMPS Fuse

15A

Brake Switch

EF14

DRIVER'S PWR WNOW Fuse

20A

Power Window Switch

EF15

HI BEAM Fuse

15A

Headlamp HI

EF16

HORN Fuse

15A

Horn Relay, Siren, Hood Contact Switch

EF17

A/C Fuse

10A

A/C Comp Relay

EF18

FUEL PUMP Fuse

15A

Fuel Pump

EF19

IP FUSE BLOCK Fuse

15A

Cluster, Key Remind S/W, Folding Mirror Unit, MAP Lamp, Room Lamp, Trunk Open Lamp, Trunk Open Switch

EF20

LOW BEAM LT Fuse

10A

Headlamp LO

EF21

ENG SNSR Fuse

15A

EVAP Canister Purge Solenoid, HO2S, Cooling Fan Relay

EF22

INJECTOR Fuse

15A

Injector, EGR, EEGR

EF23

ILLUM LT Fuse

10A

License Plate Lamp, Chime Bell, Tail Lamp, Headlamp

EF24

FRT FOG Fuse

15A

Fog Lamp Relay

EF25

MIR HTD Fuse

10A

Electric OSRV Mirror

EF26

DR/LCK Fuse

15A

Central Door Lock Unit

EF27

LOW BEAM RT Fuse

10A

Headlamp LO

EF28

ILLUM RT Fuse

10A

ILLUM Circuit, Headlamp, Tail Lamp

EF29

SPARE

10A

Not Used

EF30

SPARE

15A

Not Used

EF31

SPARE

25A

Not Used

Fuse Block Underhood - Top View


Object Number: 1496095  Size: LF

Fuse Block Underhood - Bottom View


Object Number: 1976311  Size: MF

Fuse Block - Underhood X1


Object Number: 1467057  Size: CH

Connector Part Information

  • OEM: MG612102
  • Service: N/A
  • Description: 21-Way F Hybrid 1809 Series (WH)

Fuse Block - Underhood X1

Pin

Wire

Circuit

Function

1

0.5 OG/D-GN

267

Heated Mirror Coil Supply Voltage

2

--

--

Not Used

3

0.5 GY

120

Fuel Pump Supply Voltage

4

0.5 WH/BK

193

Rear Defog Relay Control

5

0.5 PU/WH

709

Left Park Lamp Supply Voltage

0.5 PU

709

Left Park Lamp Supply Voltage (Hatchback/Station Wagon)

6

0.5 PU/WH

709

Left Park Lamp Supply Voltage (Notchback LHD)

0.5 PU

709

Left Park Lamp Supply Voltage (Notchback RHD) (Hatchback LHD)

7

0.5 BN

141

Ignition 2 Voltage (C60/C66)

0.3 BN

41

Ignition 2 Voltage (C68)

8

0.5 L-GN

876

Rough Road Signal w/ ABS

9

1.25 OG

140

Battery Positive Voltage

10

0.5 BN/WH

309

Right Park Lamp Supply Voltage (North America)

0.5 BN/BK

309

Right Park Lamp Supply Voltage (Except North America)

11

0.5 BN/BK

309

Right Park Lamp Supply Voltage

12

--

--

Not Used

13

0.5 PK/BK

1846

Ignition 1 Voltage

0.5 PK/BK

1846

Ignition 1 Voltage (MR-140/Mexico, Japan)

14

1.25 WH/BK

1798

Headlamp Relay Control

0.3 GY/BK

Headlamp Relay Control (North America)

15

0.5 PU/BK

709

Left Park Lamp Supply Voltage (Except North America)

0.5 PU/WH

709

Left Park Lamp Supply Voltage (North America)

16

--

--

Not Used

17

0.5 BK

28

Horn Relay Control

18

0.3 WH

1080

Park Lamp Relay Control

19

0.5 YE/D-GN

317

Fog Lamp Relay Coil Supply Voltage

20

1.25 PU

12

Headlamp Low Beam Supply Voltage (Notchback/Station Wagon Except North America)

2 L-BU

1346

Headlamp Supply Voltage/ Headlamp Control

21

--

--

Not Used

Fuse Block - Underhood X2


Object Number: 1501855  Size: CH

Connector Part Information

  • OEM: MG652719
  • Service: N/A
  • Description: 11-Way F (WH)

Fuse Block - Underhood X2

Pin

Wire

Circuit

Function

1

1.25 PU

12

Headlamp Low Beam Supply Voltage

2

1.25 L-GN

11

Headlamp High Beam Supply Voltage

3

0.5 OG/BK

1340

Battery Positive Voltage

4

2 PU

293

Rear Defog Element Supply Voltage

2 PU

293

Rear Defog Element Supply Voltage

5

2 RD

581

Power Window Supply Voltage - Driver Door

6

1.25 OG/BK

540

Battery Positive Voltage

7

0.5 PK

539

Ignition 1 Voltage

8

0.5 OG/BK

640

Battery Positive Voltage

9

0.5 OG/BK

640

Battery Positive Voltage

0.5 OG

640

Battery Positive Voltage (DL7)

10

0.5 OG/BK

640

Battery Positive Voltage (Hatchback/Notchback)

0.5 OG

640

Battery Positive Voltage

11

2 OG

580

Power Window Supply Voltage

Fuse Block - Underhood X3


Object Number: 1467121  Size: CH

Connector Part Information

  • OEM: MG65105
  • Service: N/A
  • Description: 10-Way F 090-II Series (WH)

Fuse Block - Underhood X3

Pin

Wire

Circuit

Function

1

0.5 PK/BK

1846

Ignition 1 Voltage

0.5 PK/BK

1846

Ignition 1 Voltage (2.0L L34)

0.5 PK/WH

1846

Ignition 1 Voltage (2.0L Diesel)

2

0.5 PK/BK

1846

Ignition 1 Voltage

0.5 PK/BK

1846

Ignition 1 Voltage (2.0L L34)

3-4

--

--

Not Used

5

0.5 PK/BK

1846

Ignition 1 Voltage (Mexico, Japan w/MR-140)

6

0.5 BK

1846

Ignition 1 Voltage

0.5 PK/BK

1846

Ignition 1 Voltage (1.4L, 1.8L, 2.0L Diesel)

7

0.5 PK/BK

1846

Ignition 1 Voltage

8

0.5 PK

139

Ignition 1 Voltage (2.0L L34)

0.5 PK

139

Ignition 1 Voltage (1.6L, 2.0L L34, 2.0L Diesel)

9

0.5 PK

139

Ignition 1 Voltage

0.5 PK

139

Ignition 1 Voltage

10

0.5 PK

139

Ignition 1 Voltage

0.5 PK

139

Ignition 1 Voltage

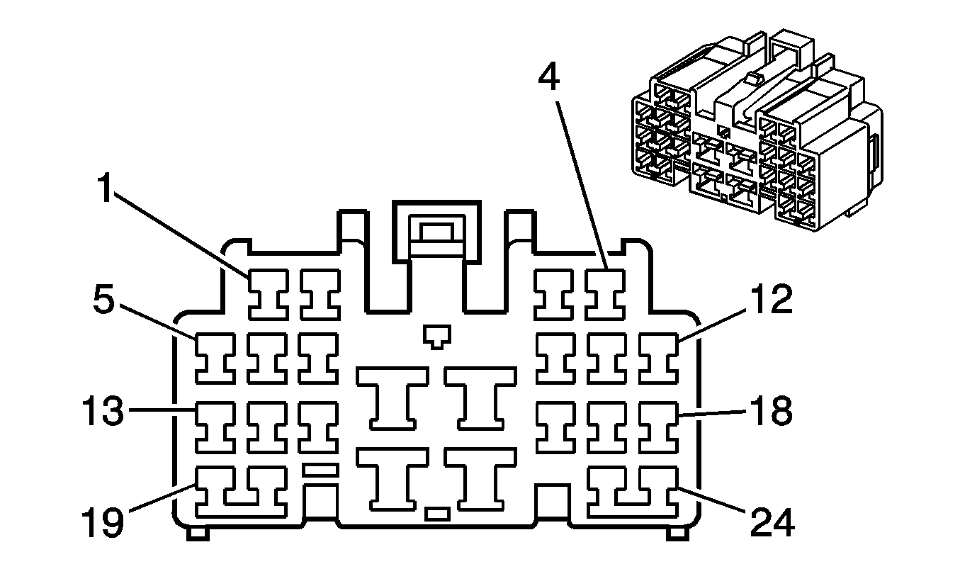
Fuse Block - Underhood X4


Object Number: 1501834  Size: CH

Connector Part Information

  • OEM: MG652503
  • Service: N/A
  • Description: 24-Way F Hybrid Series (WH)

Fuse Block - Underhood X4

Pin

Wire

Circuit

Function

1

0.5 BN/WH

309

Right Park Lamp Supply Voltage (Notchback, Except North America)

2

0.5 BN/WH

309

Right Park Lamp Supply Voltage (North America)

3

0.85 PU

34

Fog Lamp Supply Voltage (w/Front Fog Lamp)

4

0.5 BN

990

Power Steering Pressure Switch Signal (Except North America)

5

0.5 D-GN

59

A/C Compressor Clutch Coil Supply Voltage (w/Air Conditioning)

6-7

--

--

Not Used

8

0.85 PU

34

Fog Lamp Supply Voltage (w/Front Fog Lamps)

9

0.5 OG

1240

Battery Positive Voltage

0.5 OG

1240

Battery Positive Voltage

10

--

--

Not Used

11

1.25 YE

712

Left Headlamp Low Beam Supply Voltage

12

2 BK

50

Ground

13-14

--

--

Not Used

15

2 L-BU

409

Cooling Fan Motor Supply Voltage

16

1.25 PU

312

Right Headlamp Low Beam Supply Voltage

17

1.25 L-GN/BK

311

Right Headlamp High Beam Supply Voltage

18

1.25 D-GN/WH

711

Left Headlamp High Beam Supply Voltage

19

0.5 PU

709

Left Park Lamp Supply Voltage (North America)

20

0.5 PU

709

Left Park Lamp Supply Voltage (Notchback) (Except North America)

21

2 PU

532

Cooling Fan Motor Supply Voltage

22

2 PU

532

Cooling Fan Motor Supply Voltage

23

0.5 D-GN

29

Horn Control

0.85 D-GN

29

Horn Control (Dual Horn)

24

--

--

Not used

Fuse Block - Underhood X5


Object Number: 1468378  Size: CH

Connector Part Information

  • OEM: MG651926
  • Service: N/A
  • Description: 4-Way F 312-II Series (WH)

Fuse Block - Underhood X5

Pin

Wire

Circuit

Function

1

3 RD

742

Battery Positive Voltage

2

2 RD/D-BU

142

Battery Positive Voltage

3

2 RD/D-GN

1642

Battery Positive Voltage

4

2 RD/WH

642

Battery Positive Voltage

Fuse Block - Underhood X6


Object Number: 1467125  Size: CH

Connector Part Information

  • OEM: MG651080
  • Service: N/A
  • Description: 20-Way F 090-II Series (WH)

Fuse Block - Underhood X6

Pin

Wire

Circuit

Function

1

0.5 PK/D-BU

539

Ignition 1 Voltage

0.5 OG

440

Battery Voltage (1.6L, 2.0L L34, 2.0L Diesel))

2

0.5 PK

739

Ignition 1 Voltage (1.4L/1.8L/2.0L)

1.25 PK

739

Ignition 1 Voltage (1.6L)

3

0.5 GY

120

Fuel Pump Supply Voltage

0.5 GY

120

Fuel Pump Supply Voltage (1.4L/1.8L/2.0L)

4

0.5 D-GN/WH

335

Low Speed Cooling Fan Relay Control

0.5 D-GN

335

Low Speed Cooling Fan Relay Control (Except North America)

5

0.5 D-BU

473

High Speed Cooling Fan Relay Control

0.5 D-BU

473

High Speed Cooling Fan Relay Control (Dual Fans)

6

--

--

Not Used

7

0.5 D-GN

67

A/C Compressor Clutch Coil Supply Voltage

0.5 PU/WH

67

A/C Compressor Clutch Coil Supply Voltage (1.6L/1.8L)

0.5 PU

67

A/C Compressor Clutch Coil Supply Voltage (2.0L Diesel)

8

0.5 OG

440

Battery Positive Voltage

0.5 OG

440

Battery Positive Voltage(1.6L, 2.0L Diesel)

0.5 PK/D-BU

440

Battery Positive Voltage(1.6L, 2.0L L34)

9

0.5 OG

440

Battery Positive Voltage (Except 1.6L)

10

0.5 L-GN

465

Fuel Pump Relay Control

0.5 D-GN/WH

Fuel Pump Relay Control (1.6L)

11

--

--

Not Used

12

0.85 PK/D-BU

539

Ignition 1 Voltage

0.5 PK/D-BU

539

Ignition 1 Voltage

0.5 PK

539

Ignition 1 Voltage (Sirius D4)

13

0.5 PK/D-BU

539

Ignition 1 Voltage

14

0.5 PK/D-BU

539

Ignition 1 Voltage (2.0L Diesel)

0.5 PK/BK

539

Ignition 1 Voltage (2.0L Diesel)

15

0.5 D-BU

876

Serial Data (JL9)

16

--

--

Not Used

17

1.25 BK

250

Ground (2.0L L34)

0.5 D-BU/WH

471

Main Relay Control

18

0.5 BN

990

Power Steering Pressure Switch Signal (Except North America)

19

0.5 PK

139

Ignition 1 Voltage (HV 240)

0.5 BK

250

Ground (MR 140)

0.5 PK/D-BU

539

Ignition 1 Voltage (Sirius D4)

20

--

--

Not Used

Fuse Block - Underhood X7


Object Number: 1468379  Size: CH

Connector Part Information

  • OEM: MG652500
  • Service: N/A
  • Description: 2-Way F 312-II Series (WH)

Fuse Block - Underhood X7

Pin

Wire

Circuit

Function

1

4 RD

42

Battery Positive Voltage

2

4 RD

42

Battery Positive Voltage

Fuse Block - Underhood Auxiliary Label


Object Number: 1889224  Size: MF

Fuse Block - Underhood Auxiliary Label Usage

No.

Device

Rating

Description

AF1

Glow Plug Control Unit

60A

Glow Plug Control Unit

AF2

Fuel Filter Heater Relay

30A

Fuel Filter Heater Relay

AF3

PTC-1 Relay

40A

PTC-1 Relay

AF4

PTC-2 Relay

40A

PTC-2 Relay

AF5

PTC-3 Relay

40A

PTC-3 Relay

Fuse Block - I/P Label


Object Number: 1870297  Size: MF

Fuse Block - I/P Label Usage

No

Device

Rating

Description

F1

AIRBAG Fuse

10A

SDM

F2

ECM Fuse

10A

TCM, ECM, Generator, VGIS, VSS

F3

TRN SIG LAMPS Fuse

15A

Hazard Switch

F4

CLSTR, BTSI Fuse

10A

Cluster, Brake Switch, Chime Bell, Brake Switch, SSPS Module, A/C Control Switch

F5

--

--

Not Used

F6

ENG FUSE BOX DRL Fuse

10A

A/C Comp Relay, Defog Relay, Power Window Relay, Headlamp Relay

F7

HVAC Fuse

20A

Blower Relay, A/C Control Switch, HVAC

F8

S/ROOF Fuse

15A

Electric Mirror Switch, Folding Mirror, Sun Roof Module

F9

WPR Fuse

25A

Wiper Motor, Wiper Switch, Rain Sensor Unit - RHD

F10

AIRBAG Fuse

--

Occupant Classification Sensor, Clock

F11

ABS Fuse

10A

EBCM, Oil Feeding Connector

F12

IMMOBILIZER Fuse (Except North America)

10A

Immobilizer, Theft Deterrent Control Unit, Rain Sensor Unit - LHD

F13

TCM Fuse

10A

TCM

F14

HAZARD LAMPS Fuse

15A

Hazard Switch

F15

RKE Fuse

15A

Theft Deterrent Control Unit

F16

DLC Fuse

10A

DLC

F17

RADIO/CLK Fuse

10A

Clock, Radio

F18

AUT LTR Fuse

15A

Extra Power Jack

F19

LTR Fuse

15A

Cigar Lighter

F20

BCK/UP Fuse

10A

Reverse Lamp Switch, PNP Switch

F21

BATT SAVERFuse

15A

Rear Fog Relay

F22

AUTO A/C Fuse

15A

Clock, HVAC, A/C Control Switch

F23

RADIO Fuse

15A

Radio

F24

Immobilizer Fuse (Except North America)

10A

Immobilizer (1.6L and 1.8L)

Fuse Block - I/P Top View


Object Number: 1506727  Size: MF

Fuse Block - I/P Bottom View


Object Number: 1496103  Size: LF

Fuse Block - I/P


Object Number: 1501860  Size: CF

Connector Part Information

  • OEM: 936195-1
  • Service: N/A
  • Description: 76-Way F 090/250 Hybrid Series (BK)

Fuse Block - I/P

Pin

Wire

Circuit

Function

1

1.25 BN

441

Ignition 3 Voltage

2

0.3 BK

250

Ground

3

0.85 PK

539

Ignition 1 Voltage (Automatic Transmission)

0.85 PK

539

Ignition 1 Voltage (Automatic Transmission)

4

2 BK

250

Ground

5

0.85 PK

339

Ignition 1 Voltage

6

0.5 PK

239

Ignition 1 Voltage

7

0.3 PK

239

Ignition 1 Voltage (C60/C66)

8

0.3 PK

239

Ignition 1 Voltage (w/Variable Effort Steering)

9

0.3 BK

250

Ground

10

--

--

Not Used

11

0.5 BN

141

Ignition 3 Voltage (T61)

12

2 OG

300

Ignition 3 Voltage

13

1.25 BN

41

Ignition 3 Voltage (C68)

14

0.5 YE

317

Fog Lamp Relay Coil Supply Voltage (T79)

15

0.5 YE

517

Fog Lamp Relay Coil Supply Voltage (T96)

16

--

--

Not Used

17

0.5 PK

1139

Ignition 1 Voltage

18

0.5 PK

239

Ignition 1 Voltage (RHD/ North America)

0.5 OG

239

Ignition 1 Voltage (LHD)

19

0.5 PK

239

Ignition 1 Voltage (Auto Trans w/M97 or Man Trans w/LMN)

20

0.3 PK

239

Ignition 1 Voltage (w/Alarm)

21

0.5 PK

239

Ignition 1 Voltage

22

0.5 BK

250

Ground

23

--

--

Not Used

24

0.85 BN

141

Ignition 3 Voltage

25

0.5 BN

641

Ignition 3 Voltage

0.85 BN

641

Ignition 3 Voltage

26

0.5 YE

317

Fog Lamp Relay Coil Supply Voltage (T96)

27

1.25 BN

441

Ignition 3 Voltage

28

0.5 PK

939

Ignition 1 Voltage

29

--

--

Not Used

30

1.25 PK

3

Ignition 1 Voltage

31

0.5 PK

239

Ignition 1 Voltage

32

0.5 PK

230

Ignition 1 Voltage

33

0.5 OG

440

Battery Positive Voltage

34

0.85 OG

1040

Battery Positive Voltage

35

1.25 BN

41

Ignition 2 Voltage (C60/C66)

0.85 BN

41

Ignition 2 Voltage (C68)

36

1.25 OG

340

Battery Positive Voltage (UJ9)

1.25 OG

340

Battery Positive Voltage

37

0.5 OG

1840

Battery Positive Voltage

38

0.5 YE

317

Fog Lamp Relay Coil Supply Voltage (T96)

39

0.85 YE

243

Ignition 3 Voltage

40

1.25 BN

441

Ignition 3 Voltage

41

1.25 OG

140

Battery Positive Voltage (T61)

42

1.25 OG

140

Battery Positive Voltage

1.25 OG

140

Battery Positive Voltage (T61)

43

0.5 PK

739

Ignition 1 Voltage

44

0.5 PK

639

Ignition 1 Voltage

45

0.5 BK

250

Ground (T79)

46

0.5 BK

250

Ground

47

2 RD

142

Charge Indicator Control

48

--

--

Not Used

49

0.5 L-BU

20

Stop Lamp Switch Signal/Stop Lamp Supply Voltage (M97)

50

0.5 L-BU

20

Stop Lamp Switch Signal/Stop Lamp Supply Voltage (w/Automatic Transmission)

51

0.3 YE

43

Accessory Voltage

52

0.5 YE

43

Accessory Voltage (w/Key Interlock)

53

0.85 YE

143

Accessory Voltage

54

0.5 PK

639

Ignition 1 Voltage (BAHr)

55

0.3 PU/WH

33

Brake Warning Indicator Control

0.3 PU/WH

33

Brake Warning Indicator Control (North America w/T61)

56

0.85 BK

250

Ground

57

0.5 BK

250

Ground (T79)

58

0.5 BK

250

Ground

59

--

--

Not Used

60

0.5 L-BU

20

Stop Lamp Supply Voltage/Stop Lamp Switch Signal (K34)

61

1.25 L-BU

20

Stop Lamp Supply Voltage/Stop Lamp Switch Signal

62

0.5 YE

43

Accessory Voltage (w/Key Interlock)

63

0.5 YE

43

Accessory Voltage

64

2 BN

4

Accessory Voltage

65

1.25 OG

140

Battery Positive Voltage (T61, Except North America)

66

0.5 PK

839

Ignition 1 Voltage (MFA)

67

0.85 PK

839

Ignition 1 Voltage

68

0.3 PU/WH

33

Brake Warning Indicator Lamp

69

0.5 BK

250

Ground (WU5)

70

0.5 BK

250

Ground

71

--

--

Not Used

72

0.5 OG

1540

Battery Positive Voltage

0.5 OG

1540

Battery Positive Voltage

0.5 OG

1540

Battery Positive Voltage (T79)

73

0.5 OG

1140

Battery Positive Voltage

74

1.25 OG

40

Battery Positive Voltage

75

0.5 OG

240

Battery Positive Voltage (BAH)

76

1.25 L-BU

20

Stop Lamp Supply Voltage/Stop Lamp Switch Signal