GM Service Manual Online
For 1990-2009 cars only
Figure 1:

LEO - Up to 31 May 2007


Object Number: 1962289  Size: SF
(1)Catalytic Converter
(2)Oxygen Sensor Mounting Points
(3)Exhaust Crossover Pipe
(4)Rear Muffler
(5)Rear Insulator Hanger
(6)Centre Insulator Hanger and Mounting Bracket
(7)Front Insulator Hangers (If Fitted)
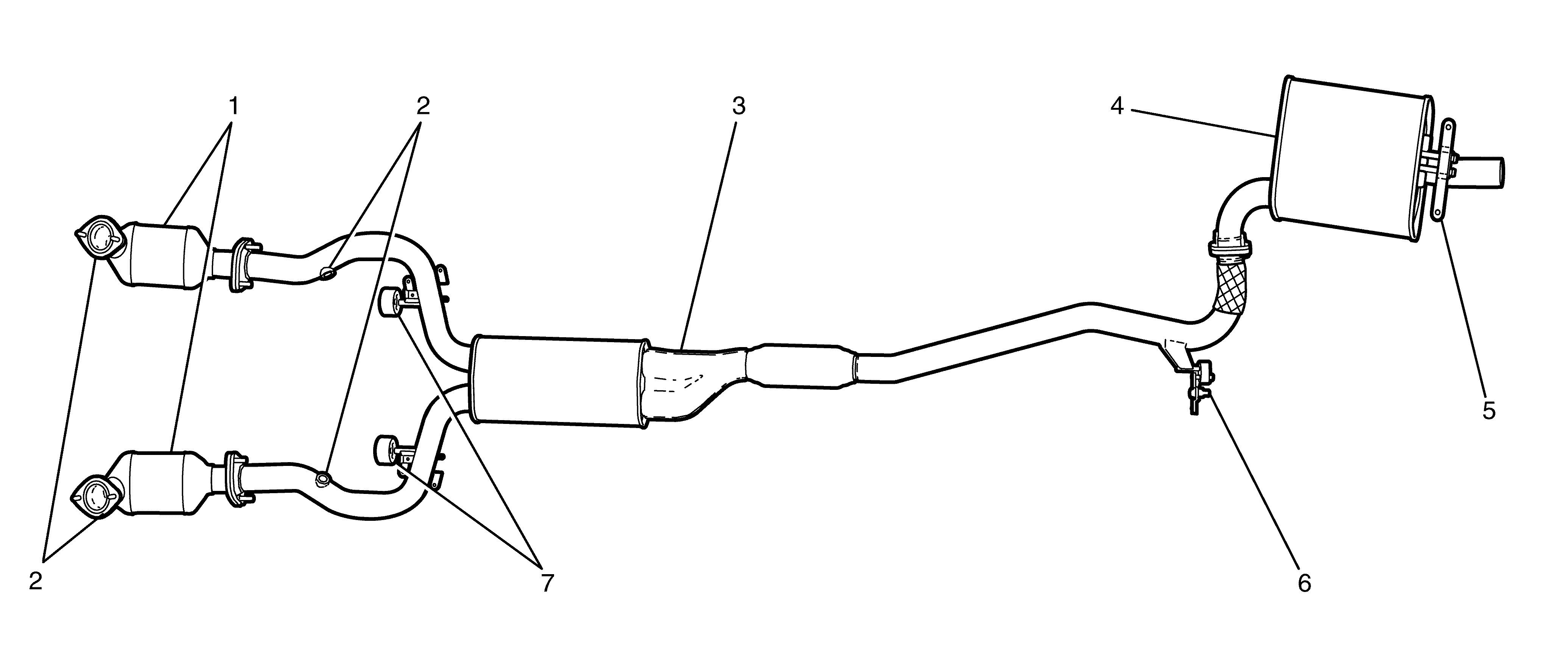
Figure 2:

LEO - From 31 May 2007


Object Number: 2010553  Size: SF
(1)Catalytic Converters
(2)Oxygen Sensor Mounting Points
(3)Exhaust Crossover Pipe
(4)Rear Muffler
(5)Rear Insulator Hanger
(6)Centre Insulator Hanger and Mounting Bracket
Figure 3:

Police Executive L98, SV8 L98, Berlina L98 Calais L98


Object Number: 1962290  Size: SF
(1)Catalytic Converter
(2)Front Insulator Hangers
(3)Exhaust Crossover Pipe
(4)Right Rear Muffler
(5)Rear Insulator Hangers
(6)Centre Insulator Hangers and Mounting Bracket
(7)Left Rear Muffler
(8)Oxygen Sensor Mounting Points
Figure 4:

L98 - From 31 May 2007


Object Number: 2010552  Size: SF
(1)Catalytic Converter
(2)Exhaust Crossover Pipe
(3)Right Rear Muffler
(4)Rear Insulator Hangers
(5)Centre Insulator Hangers and Mounting Bracket
(6)Left Rear Muffler
(7)Oxygen Sensor Mounting Points
Figure 5:

LY7 - Up to 31 May 2007


Object Number: 1962291  Size: SF
(1)Catalytic Converter
(2)Front Insulator Hangers
(3)Exhaust Crossover Pipe
(4)Right Rear Muffler
(5)Rear Insulator Hangers
(6)Centre Insulator Hangers and Mounting Bracket
(7)Left Rear Muffler
(8)Oxygen Sensor Mounting Points
Figure 6:

LY7 - From 31 May 2007


Object Number: 2010554  Size: SF
(1)Catalytic Converter
(2)Exhaust Crossover Pipe
(3)Right Rear Muffler
(4)Rear Insulator Hangers
(5)Centre Insulator Hangers and Mounting Bracket
(6)Left Rear Muffler
(7)Oxygen Sensor Mounting Points
Figure 7:

6.0L LS2 Engine


Object Number: 1962293  Size: MF
(1)Exhaust Manifolds
(2)Oxygen Sensor Mounting Point (Pre Cat)
(3)Catalytic Converters
(4)Oxygen Sensor Mounting Point (Post Cat)
(5)Front Insulator Hangers
(6)Centre Muffler
(7)Resonators
(8)Centre Insulator Hangers
(9)Rear Mufflers
(10)Rear Insulator Hangers
(11)RH Exhaust Tips
(12)LH Exhaust Tips