GM Service Manual Online
For 1990-2009 cars only

Crankshaft Bearing Installation Procedure

    Important: If the crankshaft bearings have been used in a running engine, you must replace them with NEW crankshaft bearings for reassembly.

  1. Clean the crankcase crank bore with a lint-free cloth.
  2. Clean all the oil from the backside of new bearing halves.

  3. Object Number: 1958908  Size: SH
  4. Install the new upper crankshaft bearings into position. The thrust bearing (1) belongs in the number 3 journal (2). Make sure that the upper bearing insert contains the oil transfer hole and groove. Roll the bearing into position so that the lock tang engages the crank slot. The bearing must fit flush with the upper crankcase.

  5. Object Number: 1961639  Size: SH
  6. Install the new lower crankshaft bearings (2) into position in the crankshaft bearing caps (1). The lower crankshaft bearings (2) are identified by NO grooves or holes. The lower crankshaft bearings (2) must fit flush with the crankshaft bearing caps (1).

Crankshaft Installation Procedure


    Object Number: 1958906  Size: SH

    Notice: The crankshaft sprocket drive pin must be set to the proper depth. Installing the crankshaft sprocket drive pin too deep can lead to damage to the crankshaft sprocket and extensive engine damage.

  1. If removed, install the crankshaft sprocket drive pin (1). Lightly tap the crankshaft sprocket drive pin (1) in place with a small soft face, bronze/plastic, hammer until it bottoms in the hole of the crankshaft (2).

  2. Object Number: 1958904  Size: SH
  3. Gently lower the crankshaft (1) into position in the cylinder block (2).

Crankshaft Bearing Clearance Measurement Procedure

Tools Required

    • J 6125-1B Slide Hammer Adapter
    • J 41818 Crankshaft Bearing Cap Remover
    • J 45059 Angle Meter

    Object Number: 1961640  Size: SH
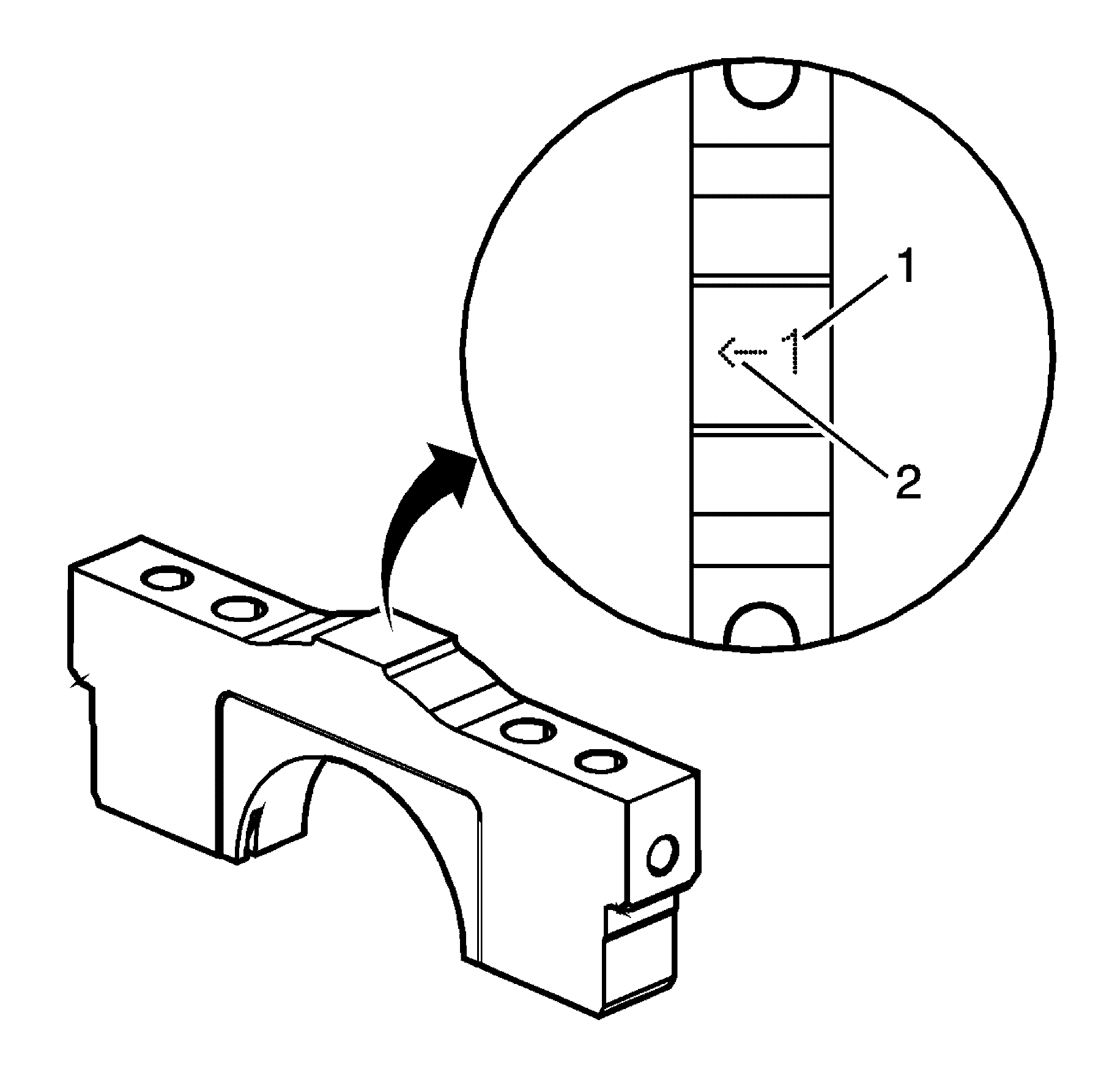
  1. Place a length of fresh, room temperature plastic gauging material all the way across all the crankshaft bearing journals.
  2. Identify the proper order of the crankshaft bearing caps. The crankshaft bearing caps are numbered 1 (1) through 4, with the front main bearing cap marked with the number 1. The arrow (2) is to be oriented to the front of the cylinder block.

  3. Object Number: 1961641  Size: SH
  4. Install the crankshaft bearing caps (3).
  5. Loosely install the original inner crankshaft bearing cap to cylinder block retaining bolts (1).
  6. Loosely install the original outer crankshaft bearing cap to cylinder block retaining bolts (2).

  7. Object Number: 1961642  Size: SH
  8. Tap the crankshaft bearing caps with a soft-faced hammer to help seat the crankshaft bearing caps.

  9. Object Number: 1961644  Size: SH
  10. Loosely install the original short/inner side crankshaft bearing cap to cylinder block retaining bolts (1).
  11. Loosely install the original long/outer side crankshaft bearing cap to cylinder block retaining bolts (2).
  12. Tighten the crankshaft bearing cap to cylinder block retaining bolts using the J 45059 in the following sequence:
  13. Notice: Refer to Fastener Notice in the Preface section.


    Object Number: 1961645  Size: SH
  14. Tighten the inboard crankshaft bearing cap to cylinder block retaining bolts (1-8).
  15. Tighten
    Tighten the bolts to 20 N·m (15 lb ft) plus 80 degrees.


    Object Number: 1961646  Size: SH
  16. Tighten the outboard crankshaft bearing cap to cylinder block retaining bolts (9-16).
  17. Tighten
    Tighten the bolts to 15 N·m (11 lb ft) plus 110 degrees.


    Object Number: 1961647  Size: SH
  18. Tighten the short/inner crankshaft bearing cap to cylinder block retaining bolts (17-20).
  19. Tighten
    Tighten the bolts to 30 N·m (22 lb ft) plus 60 degrees.

  20. Tighten the long/outer crankshaft bearing cap to cylinder block retaining bolts (21-24).
  21. Tighten
    Tighten the bolts to 30 N·m (22 lb ft) plus 60 degrees.

    Important: DO NOT rotate the crankshaft.

  22. After reaching final torque, allow the assembly to sit for 2 minutes.

  23. Object Number: 1961644  Size: SH
  24. Remove the original short/inner side crankshaft bearing cap to cylinder block retaining bolts (1).
  25. Remove the original long/outer side crankshaft bearing cap to cylinder block retaining bolts (2).

  26. Object Number: 1961641  Size: SH
  27. Remove the install the original outer crankshaft bearing cap to cylinder block retaining bolts (2).
  28. Remove the original inner crankshaft bearing cap to cylinder block retaining bolts (1).
  29. Remove the crankshaft bearing caps (3) using the J 6125-1B and J 41818

  30. Object Number: 1961648  Size: SH
  31. Determine the crankshaft bearing clearance by comparing the width of the flattened plastic gauging material (1) at its widest point with the graduation on the gauging material container (2).
  32. Important: The crankshaft bearings CAN be reused after checking the clearance if the bearings have never been used in a running engine.

  33. Compare your measurements with the engine mechanical specifications. Refer to Engine Mechanical Specifications . If the new bearings DO NOT provide the proper crankshaft to bearing clearance, inspect the following:
  34. 21.1. Re-measure the crankshaft journals for the correct specified size and ensure the proper new bearings are being installed. If the crankshaft journals are incorrectly sized, replace or regrind the crankshaft. Crankshaft machining is permitted and undersized bearings are available.
    21.2. Re-measure the cylinder block crankshaft bearing bore diameter to ensure proper size. The cylinder block crankshaft bearing bore is not machinable and the block must be replaced if out of specification.
  35. Clean the plastic gauging material from the crankshaft bearing journals with a soft, lint-free cloth.

  36. Object Number: 1958904  Size: SH
  37. Lift the crankshaft (1) out of the cylinder block (2).

  38. Object Number: 1961649  Size: SH
  39. Apply a liberal amount of clean engine oil to the upper and lower bearing surfaces.

  40. Object Number: 1958904  Size: SH
  41. Gently lower the crankshaft (1) into position in the cylinder block (2).

  42. Object Number: 1961640  Size: SH
  43. Identify the proper order of the crankshaft bearing caps. The crankshaft bearing caps are numbered 1 (1) through 4, with the front main bearing cap marked with the number 1. The arrow (2) is to be oriented to the front of the cylinder block.

  44. Object Number: 1961641  Size: SH
  45. Install the crankshaft bearing caps (3).
  46. Loosely install the original inner crankshaft bearing cap to cylinder block retaining bolts (1).
  47. Loosely install the NEW outer crankshaft bearing cap to cylinder block retaining bolts (2).

  48. Object Number: 1961642  Size: SH
  49. Tap the crankshaft bearing caps with a soft-faced hammer to help seat the crankshaft bearing caps.

  50. Object Number: 1961644  Size: SH

    Important: The side main cap bolts originally have a sealant on the flange of the bolt head. NEW bolts must be used. If NEW bolts are not used, oil can leak from the crankcase past the bolts.

  51. Loosely install the NEW short/inner side crankshaft bearing cap to cylinder block retaining bolts (1).
  52. Loosely install the NEW long/outer side crankshaft bearing cap to cylinder block retaining bolts (2).
  53. Notice: Refer to Fastener Notice in the Preface section.

  54. Tighten the crankshaft bearing cap to cylinder block retaining bolts using the J 45059 in the following sequence:

  55. Object Number: 1961645  Size: SH
  56. Tighten the inboard crankshaft bearing cap to cylinder block retaining bolts (1-8).
  57. Tighten
    Tighten the bolts to 20 N·m (15 lb ft) plus 80 degrees.


    Object Number: 1961646  Size: SH
  58. Tighten the outboard crankshaft bearing cap to cylinder block retaining bolts (9-16).
  59. Tighten
    Tighten the bolts to 15 N·m (11 lb ft) plus 110 degrees.


    Object Number: 1961647  Size: SH
  60. Tighten the short/inner crankshaft bearing cap to cylinder block retaining bolts (17-20).
  61. Tighten
    Tighten the bolts to 30 N·m (22 lb ft) plus 60 degrees.

  62. Tighten the long/outer crankshaft bearing cap to cylinder block retaining bolts (21-24).
  63. Tighten
    Tighten the bolts to 30 N·m (22 lb ft) plus 60 degrees.

  64. Make sure that the crankshaft turns without binding or noise.