GM Service Manual Online
For 1990-2009 cars only

Tools Required

EN 46109 Guide Pin Set


    Object Number: 1961659  Size: SH
  1. Install the 8 mm (0.315 in) guides from the EN 46109  (1) into the center oil pan rail bolt hole on each side of the cylinder block.

  2. Object Number: 1961661  Size: SH
  3. Place a 3 mm (0.118 in) bead of RTV sealant (1) on the block pan rail and the crankshaft rear oil seal housing.

  4. Object Number: 1958869  Size: SH
  5. Position the oil pan (1) onto the block (2).
  6. Remove the EN 46109  mm (0.315 in) guides from the cylinder block.

  7. Object Number: 1958867  Size: SH
  8. Loosely install the M8 oil pan to cylinder block retaining bolts (1).
  9. Loosely install the M6 oil pan to crankshaft rear oil seal housing retaining bolts (3).
  10. Notice: Refer to Fastener Notice in the Preface section.


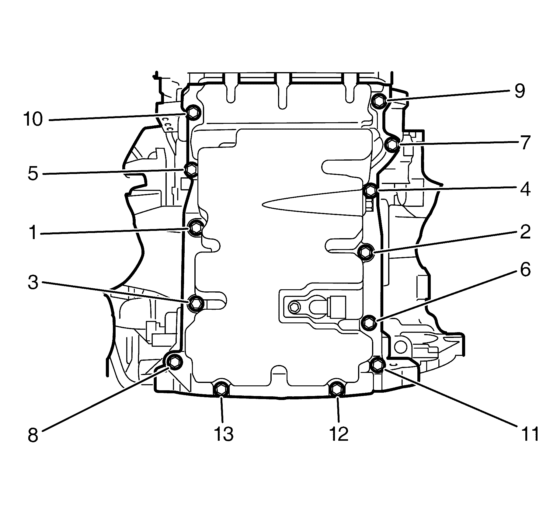
    Object Number: 1961662  Size: SH
  11. Install and tighten the M8 oil pan to cylinder block retaining bolts (1-11) and the M6 oil pan to crankshaft rear oil seal housing retaining bolts (12, 13) in the sequence shown.
  12. Tighten

    1. Tighten the M8 bolts (1-11) to 23 N·m (17 lb ft).
    2. Tighten the M6 bolts (12, 13) to 10 N·m (89 lb in).