Removal Procedure
Caution: Refer to Safety Glasses Caution in the Preface section.
Caution: Refer to Vehicle Lifting Caution in the Preface section.
- Raise and support the vehicle. Refer to
Lifting and Jacking the Vehicle.
- Remove the propeller shaft from the vehicle. Refer to
Propeller Shaft Replacement.
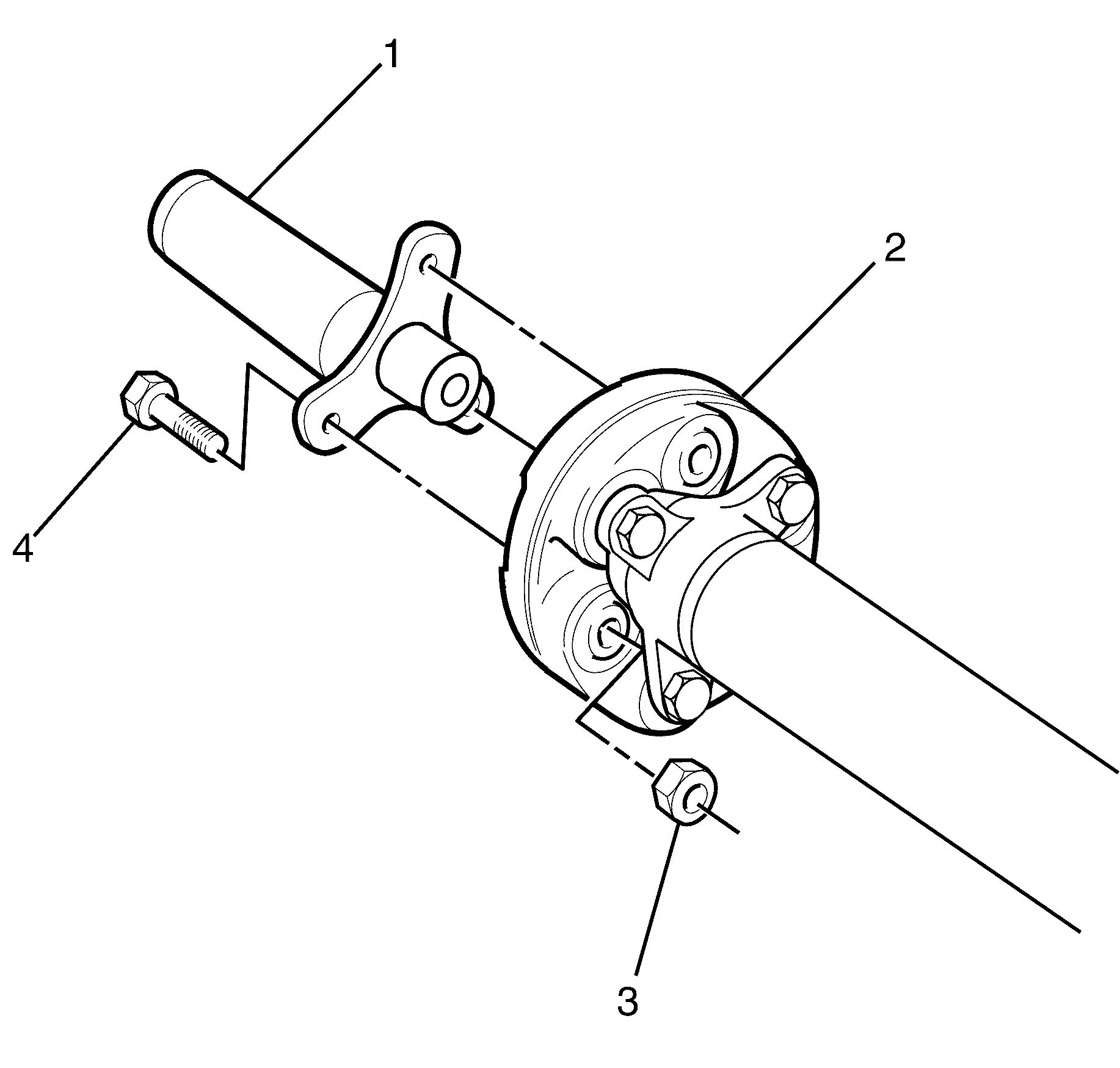
Important: Torque prevailing nuts with are single use
parts and must be discarded after removal.
- Remove the rubber coupling to propeller shaft retaining bolts (3) and
torque prevailing nuts (4).
Discard the nuts.
- Remove the rubber coupling (1) from the propeller shaft (2).
Installation Procedure
Important: The triangular mark (1) on the rubber
coupling (2) must face towards the propeller shaft flange lug (3).
- Install the rubber coupling (2) to the propeller shaft (4).
Notice: Refer to Fastener Notice in the Preface section.
- Install the rubber coupling to propeller shaft retaining bolts (5) and
NEW torque prevailing nuts (6).
Tighten
Tighten the bolts and nuts to 20 N-m +55° (15 lb ft
+55°).
- Install the propeller shaft to the vehicle. Refer to
Propeller Shaft Replacement.
- Remove the safety stands.
- Lower the vehicle to the ground.
Removal Procedure - Front Slip Joint
Caution: Refer to Safety Glasses Caution in the Preface section.
Caution: Refer to Vehicle Lifting Caution in the Preface section.
- Raise and support the vehicle. Refer to
Lifting and Jacking the Vehicle.
- Remove the propeller shaft from the vehicle. Refer to
Propeller Shaft Replacement.
Important: Torque prevailing nuts with are single use
parts and must be discarded after removal.
- Remove the rubber coupling to propeller shaft yoke retaining bolts (4)
and torque prevailing nuts (3).
Discard the nuts.
- Remove the propeller shaft yoke (1) from the rubber coupling (2).
Important: Torque prevailing nuts with are single use
parts and must be discarded after removal.
- Remove the rubber coupling to propeller shaft retaining bolts (3) and
torque prevailing nuts (4).
Discard the nuts.
- Remove the rubber coupling (1) from the propeller shaft (2).
Installation Procedure - Front Slip Joint
Important: The triangular mark (1) on the propeller
shaft rubber coupling (2) must align with the propeller shaft flange lug (3).
- Install the rubber coupling (2) to the propeller shaft (4).
Notice: Refer to Fastener Notice in the Preface section.
- Install the rubber coupling to propeller shaft retaining bolts (5) and
NEW torque prevailing nuts (6).
Tighten
Tighten the bolts and nuts to 20 N-m +55° (15 lb ft
+55°).
- Install the propeller shaft yoke (1) to the
rubber coupling (2).
- Install the propeller shaft yoke to rubber coupling retaining bolts (4)
and NEW torque prevailing nuts (3).
Tighten
Tighten the bolts and nuts to 20 N-m +55° (15 lb ft
+55°).
- Install the propeller shaft to the vehicle. Refer to
Propeller Shaft Replacement.
- Remove the safety stands.
- Lower the vehicle to the ground.