GM Service Manual Online
For 1990-2009 cars only

Displays and Gages Component Views SWBLHD

Figure 1:

Type A


Object Number: 1962691  Size: MF
(1)Warning Indicators.
(2)High Beam Headlamp Indicator.
(3)Driver Information Center (DIC).
Figure 2:

Type B - Instrument Cluster


Object Number: 1962692  Size: MF
(1)Warning Indicators
(2)Driver Information Center (DIC)
(3)High Beam Headlamp Indicator
(4)Secondary Driver Information Screens
Figure 3:

Type C - Instrument Cluster


Object Number: 1962693  Size: MF
(1)Warning Indicators
(2)Driver Information Center (DIC)
(3)High Beam Headlamp Indicator
Figure 4:

Type D - Instrument Cluster


Object Number: 1962694  Size: MF
(1)Warning Indicators
(2)Driver Information Center (DIC)
(3)High Beam Headlamp Indicator
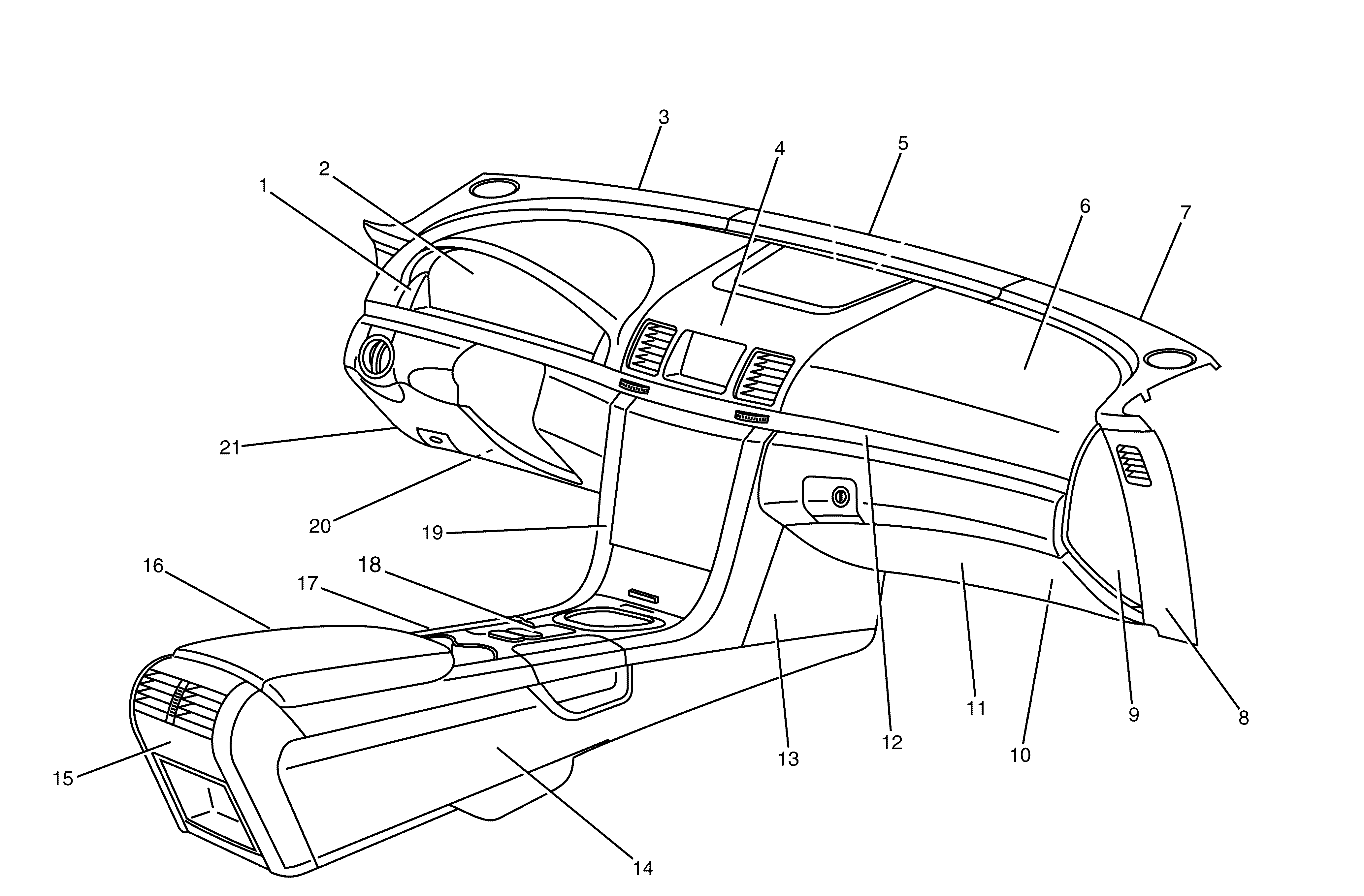
Figure 5:

Type A


Object Number: 1962697  Size: MF
(1)Instrument Cluster Trim Panel
(2)Instrument Cluster
(3)Defroster Grill (Left)
(4)Trim Panel - Instrument Panel (I/P) Upper
(4a)Trim Panel - Instrument Panel (I/P) Upper (Level 2 and 3)
(4b)Trim Panel - Instrument Panel (I/P) Upper (Level 1)
(5)Defroster Grill (centre)
(6)Trim Pad - Instrument Panel (I/P) Upper
(7)Defroster Grill (Right)
(8)Centre A - Pillar Ventilation Trim Panel
(9)Instrument Panel Outer Trim Cover (Right)
(10)Close Out Panel
(11)Compartment - (I/P)
(12)Instrument Panel Trim Panel
(13)Instrument Panel Extension
(14)Trim Plate - Console Side
(15)End Panel
(16)Armrest Assembly
(17)Centre Console
(18)Trim Plate - Console
(19)Trim Panel - (I/P) Center
(20)Knee Bolster
(21)Instrument Panel Outer Trim Cover (Left)

Displays and Gages Component Views LWBLHD

Figure 1:

Type A - Instrument Cluster


Object Number: 1962691  Size: MF
(1)Warning Indicators
(2)High Beam Headlamp Indicator
(3)Driver Information Center (DIC)
Figure 2:

Instrument Cluster Component Locator


Object Number: 1962698  Size: MF
(1)Warning Indicators.
(2)Driver Information Center (DIC).
(3)Secondary Driver Information Screens.
Figure 3:

Instrument Cluster Component Locator


Object Number: 1962698  Size: MF
(1)Warning Indicators.
(2)Driver Information Center (DIC).
(3)Secondary Driver Information Screens.
Figure 4:

Type A


Object Number: 1962700  Size: MF
(1)Instrument Cluster Trim Panel
(2)Instrument Cluster
(3)Defroster Grill (Left)
(4)Trim Panel - Instrument Panel (I/P) Upper (Level 1)
(5)Defroster Grill (centre)
(6)Trim Pad - Instrument Panel (I/P) Upper
(7)Defroster Grill (Right)
(8)Centre A - Pillar Ventilation Trim Panel
(9)Instrument Panel Outer Trim Cover
(10)Close Out Panel
(11)Compartment - (I/P)
(12)Instrument Panel Trim Panel
(13)Instrument Panel Extension
(14)Trim Plate - Console Side
(15)End Panel
(16)Armrest Assembly
(17)Centre Console
(18)Trim Plate - Console
(19)Trim Panel - (I/P) Center
(20)Knee Bolster
(21)Instrument Panel Outer Trim Cover (Left)
Figure 5:

Instrument Panel Component Locations


Object Number: 1962699  Size: MF
(1)Instrument Cluster Trim Panel
(2)Instrument Cluster
(3)Defroster Grill (Left)
(4)Trim Panel - Instrument Panel (I/P) Upper (Level 1)
(5)Defroster Grill (centre)
(6)Trim Pad - Instrument Panel (I/P) Upper
(7)Defroster Grill (Right)
(8)Centre A - Pillar Ventilation Trim Panel
(9)Instrument Panel Outer Trim Cover
(10)Close Out Panel
(11)Compartment - (I/P)
(12)Instrument Panel Trim Panel
(13)Instrument Panel Extension
(14)Trim Plate - Console Side
(15)End Panel
(16)Armrest Assembly
(17)Centre Console
(18)Trim Plate - Console
(19)Trim Panel - (I/P) Center
(20)Knee Bolster
(21)Instrument Panel Outer Trim Cover (Left)

Displays and Gages Component Views CSV SWBHSV VXR8

Type F - Instrument Cluster


Object Number: 1962708  Size: MF
(1)Warning Indicators
(2)Tachometer
(3)Exterior Lighting Indicators
(4)Driver Information Centre (DIC)
(5)Speedometer
(6)Fuel Gauge
(7)Secondary Driver Information Displays
(8)Coolant Temperature Gauge

Displays and Gages Component Views LWBHSV

Instrument Cluster


Object Number: 1964012  Size: MF
(1)Warning Indicators
(2)Tachometer
(3)Exterior Lighting Indicators
(4)Driver Information Centre (DIC)
(5)Speedometer
(6)Fuel Gauge
(7)Secondary Driver Information Displays
(8)Coolant Temperature Gauge

Displays and Gages Component Views SWBRHD

Figure 1:

Type A - Instrument Cluster


Object Number: 1962691  Size: MF
(1)Warning Indicators
(2)High Beam Headlamp Indicator
(3)Driver Information Center (DIC)
Figure 2:

Type B - Instrument Cluster


Object Number: 1962692  Size: MF
(1)Warning Indicators
(2)Driver Information Center (DIC)
(3)High Beam Headlamp Indicator
(4)Secondary Driver Information Screens
Figure 3:

Type C - Instrument Cluster


Object Number: 1962693  Size: MF
(1)Warning Indicators
(2)Driver Information Center (DIC)
(3)High Beam Headlamp Indicator
(4)Secondary Driver Information Screens
Figure 4:

Type D - Instrument Cluster


Object Number: 1962694  Size: MF
(1)Warning Indicators
(2)Driver Information Center (DIC)
(3)High Beam Headlamp Indicator
(4)Secondary Driver Information Screens
Figure 5:

Police Pack Component Views


Object Number: 2017810  Size: SH
(1)Vehicle Speed Interface Module (VSIM)
Figure 6:

Type A


Object Number: 1962702  Size: MF
(1)Defroster Grille (Left)
(2)Trim Pad - Instrument Panel Upper
(3)Defroster Grille (Centre)
(4)Trim Panel - Instrument Panel Upper
(5)Defroster Grille (Right)
(6)Instrument Cluster
(7)Instrument Cluster Trim Panel
(8)Instrument Panel Outer Trim Cover (Right)
(9)Knee Bolster
(10)Trim Panel - Instrument Panel Center
(11)Trim Plate - Console
(12)Centre Console
(13)Armrest Assembly
(14)End Panel
(15)Trim Plate - Console Side
(16)Instrument Panel Extension
(17)Instrument Panel Trim Panel
(18)Compartment - Instrument Panel
(19)Insulator Close Out Panel
(20)Instrument Panel Outer Trim Cover (Left)
(21)Centre A - Pillar Ventilation Trim Panel
Figure 7:

Type B


Object Number: 1962703  Size: MF
(1)Defroster Grille (Left)
(2)Trim Pad - Instrument Panel (Ip) Upper
(3)Defroster Grille (Centre)
(4)Trim Panel - Instrument Panel (I/P) Upper
(5)Defroster Grille (Right)
(6)Instrument Cluster
(7)Instrument Cluster Trim Panel
(8)Instrument Panel Outer Trim Cover (Right)
(9)Knee Bolster
(10)Trim Panel - (I/P) Center
(11)Trim Plate - Console
(12)Centre Console
(13)Armrest Assembly
(14)End Panel
(15)Trim Plate - Console Side
(16)Instrument Panel Extension
(17)Instrument Panel Trim Panel
(18)Compartment - (I/P)
(19)Insulator Close Out Panel
(20)Instrument Panel Outer Trim Cover (Left)
(21)Center A - Pillar Ventilation Trim Panel
Figure 8:

Type C


Object Number: 1962704  Size: MF
(1)Defroster Grille (Left)
(2)Trim Pad - Instrument Panel (Ip) Upper
(3)Defroster Grille (Centre)
(4)Trim Panel - Instrument Panel (I/P) Upper
(5)Defroster Grille (Right)
(6)Instrument Cluster
(7)Instrument Cluster Trim Panel
(8)Instrument Panel Outer Trim Cover (Right)
(9)Knee Bolster
(10)Trim Panel - (I/P) Center
(11)Trim Plate - Console
(12)Centre Console
(13)Armrest Assembly
(14)End Panel
(15)Trim Plate - Console Side
(16)Instrument Panel Extension
(17)Instrument Panel Trim Panel
(18)Compartment - (I/P)
(19)Insulator Close Out Panel
(20)Instrument Panel Outer Trim Cover (Left)
(21)Center A - Pillar Ventilation Trim Panel

Displays and Gages Component Views LWBRHD

Figure 1:

Type B


Object Number: 1962698  Size: MF
(1)Warning Indicators.
(2)Driver Information Center (DIC).
(3)Secondary Driver Information Screens.
Figure 2:

Type D


Object Number: 1962701  Size: MF
(1)Tweeter (Left Hand)
(2)Defroster Grill (Left Hand)
(3)Defroster Grill (Centre)
(4)Sunload Sensor
(5)Trim Panel - Instrument Panel (I/P) Center
(6)Defroster Grill (Right Hand)
(7)Tweeter (Right Hand)
(8)Trim Pad - Instrument Panel (I/P) Upper
(9)Knee Bolster
(10)Arm Rest
(11)End Panel (Vent)
(12)Storage Compartment (Console)
(13)Trim Panel - Instrument Panel (I/P) Center
(14)Trim Plate - Console Side
(15)Instrument Panel Compartment (I/P)
(16)Instrument Panel Outer Trim Cover

Displays and Gages Component Views HSVLWB

Instrument Cluster


Object Number: 1964012  Size: MF
(1)Warning Indicators
(2)Tachometer
(3)Exterior Lighting Indicators
(4)Driver Information Centre (DIC)
(5)Speedometer
(6)Fuel Gauge
(7)Secondary Driver Information Displays
(8)Coolant Temperature Gauge