GM Service Manual Online
For 1990-2009 cars only

Tools Required

AU-464 Radio Removal Tool

Removal Procedure

  1. Remove the instrument panel (I/P) outer trim cover. Refer to Instrument Panel Outer Trim Cover Replacement.

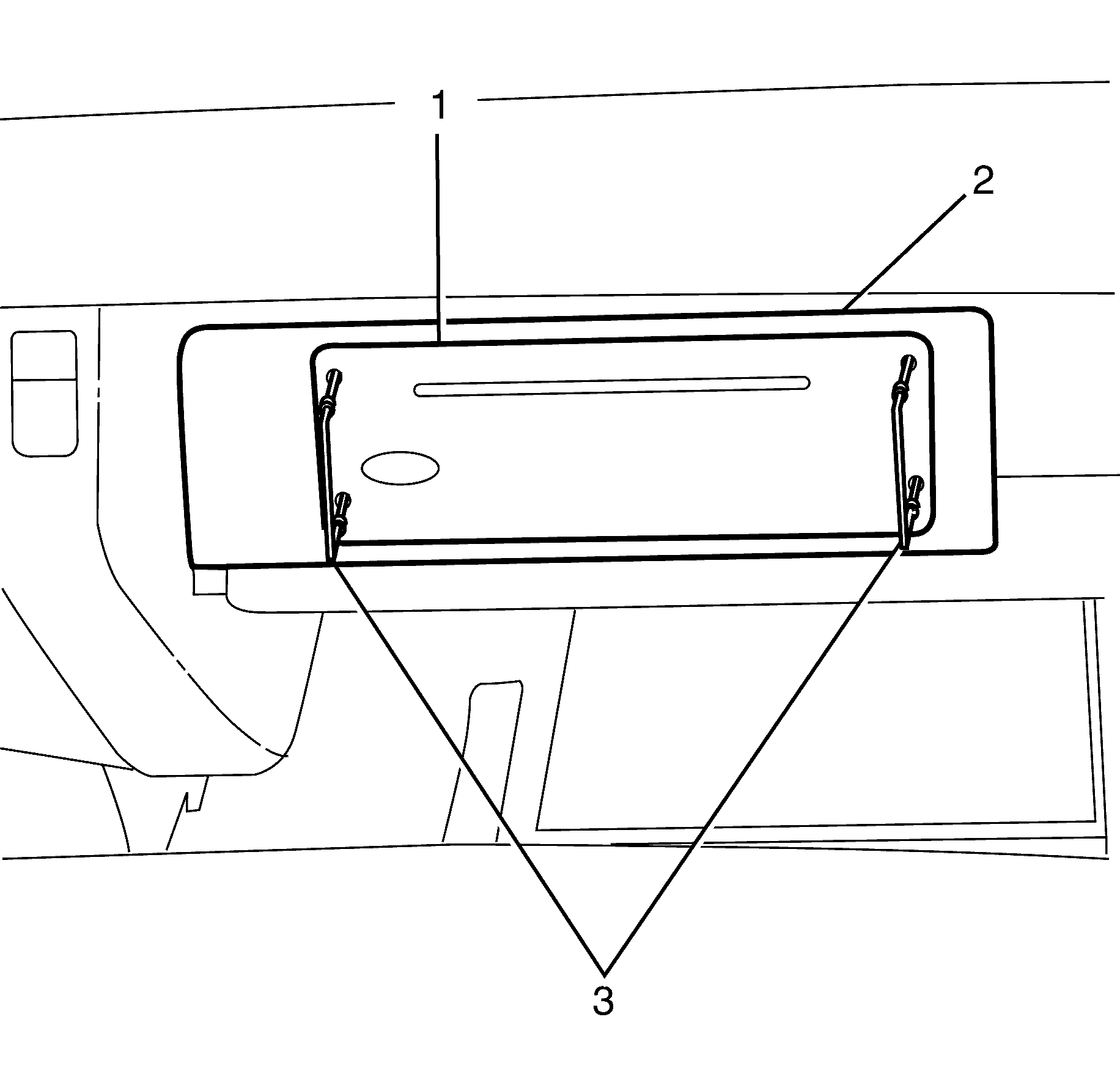
  2. Object Number: 1957964  Size: SH
  3. Grasp the I/P insulation panel assembly (1) and carefully pull downward to disengage the retaining clips.
  4. Remove the courtesy lamp socket  (2) from the I/P insulation panel assembly (1) by rotating counter-clockwise.
  5. Disconnect the navigation interface module (NIM) electrical connector (3).
  6. Remove the I/P insulation panel assembly (1).

  7. Object Number: 1957057  Size: SH
  8. Remove the I/P compartment lower retaining screws (1).
  9. Open the I/P compartment door (2).

  10. Object Number: 1957967  Size: SH
  11. Remove the I/P compartment retaining screw covers (1) from the I/P compartment (2).

  12. Object Number: 1957966  Size: SH
  13. Remove the I/P compartment upper retaining screws (1).
  14. Detach the I/P compartment (2) from the I/P.

  15. Object Number: 1957979  Size: SH
  16. Disconnect the I/P compartment electrical connector (1).

  17. Object Number: 1957969  Size: SH
  18. Disconnect the navigation module electrical connectors (1).
  19. Disconnect the navigation module to audio unit electrical connector (2), where fitted.
  20. Rotate the global positioning system (GPS) antenna connector lock (4) clockwise and disconnect the GPS antenna connector (3).
  21. Remove the I/P compartment and navigation module assembly.

  22. Object Number: 1957971  Size: SH
  23. Using the tool AU-464 Radio Removal Tool (3), remove the navigation module (1) from the navigation module carrier (2).
  24. Remove the navigation module (1) from the navigation module carrier (2).

Installation Procedure


    Object Number: 1957977  Size: SH
  1. Install the navigation module (1) into the navigation module carrier (2).

  2. Object Number: 1957969  Size: SH
  3. Connect the navigation module electrical connectors (1).
  4. Connect the navigation module to audio unit electrical connector (2, where fitted).
  5. Connect the GPS antenna connector (3) and rotate the GPS antenna connector lock (4) counter-clockwise.

  6. Object Number: 1957979  Size: SH
  7. Connect the I/P compartment electrical connector (1).

  8. Object Number: 1957966  Size: SH
  9. Install the I/P compartment (2) to the I/P.
  10. Install the I/P compartment upper retaining screws (1).
  11. Tighten
    Tighten the screws to 2  N·m (18 lb in).


    Object Number: 1957967  Size: SH
  12. Install the I/P compartment retaining screw covers (1) into the I/P compartment (2).

  13. Object Number: 1957057  Size: SH
  14. Close the I/P compartment door (2).
  15. Install the I/P compartment lower retaining screws (1).
  16. Tighten
    Tighten the screws to 2  N·m (18 lb in).


    Object Number: 1957964  Size: SH
  17. Install the courtesy lamp socket  (2) to the I/P insulation panel assembly (1) by rotating clockwise.
  18. Connect the navigation interface module (NIM) electrical connector (3).
  19. Install the I/P insulation panel assembly (1) to the I/P by engaging the retaining clips.
  20. Make sure all the clips are located correctly.
  21. Install the I/P outer trim cover. Refer to Instrument Panel Outer Trim Cover Replacement.
  22. If a new navigation module is being installed, calibrate the navigation module. Refer to Navigation Interface Module Cradle Replacement.
  23. If re-programming is required. Refer to Control Module References.