GM Service Manual Online
For 1990-2009 cars only

Tools Required

    • J 8001-3 Dial Indicator
    • J 26900-12 Dial Indicator - 1-10 mm
    • J 26900-13 Magnetic Indicator Base

Input Shaft


    Object Number: 1954267  Size: SH
  1. Inspect 3rd (B), 4th (C), and 6th gear (A) for axial clearance. Lift up on the gear from the settled position and measure travel. Refer to Transmission Clearance Specifications.

  2. Object Number: 1954268  Size: SH
  3. Measure the radial clearance for each of the speed gears.
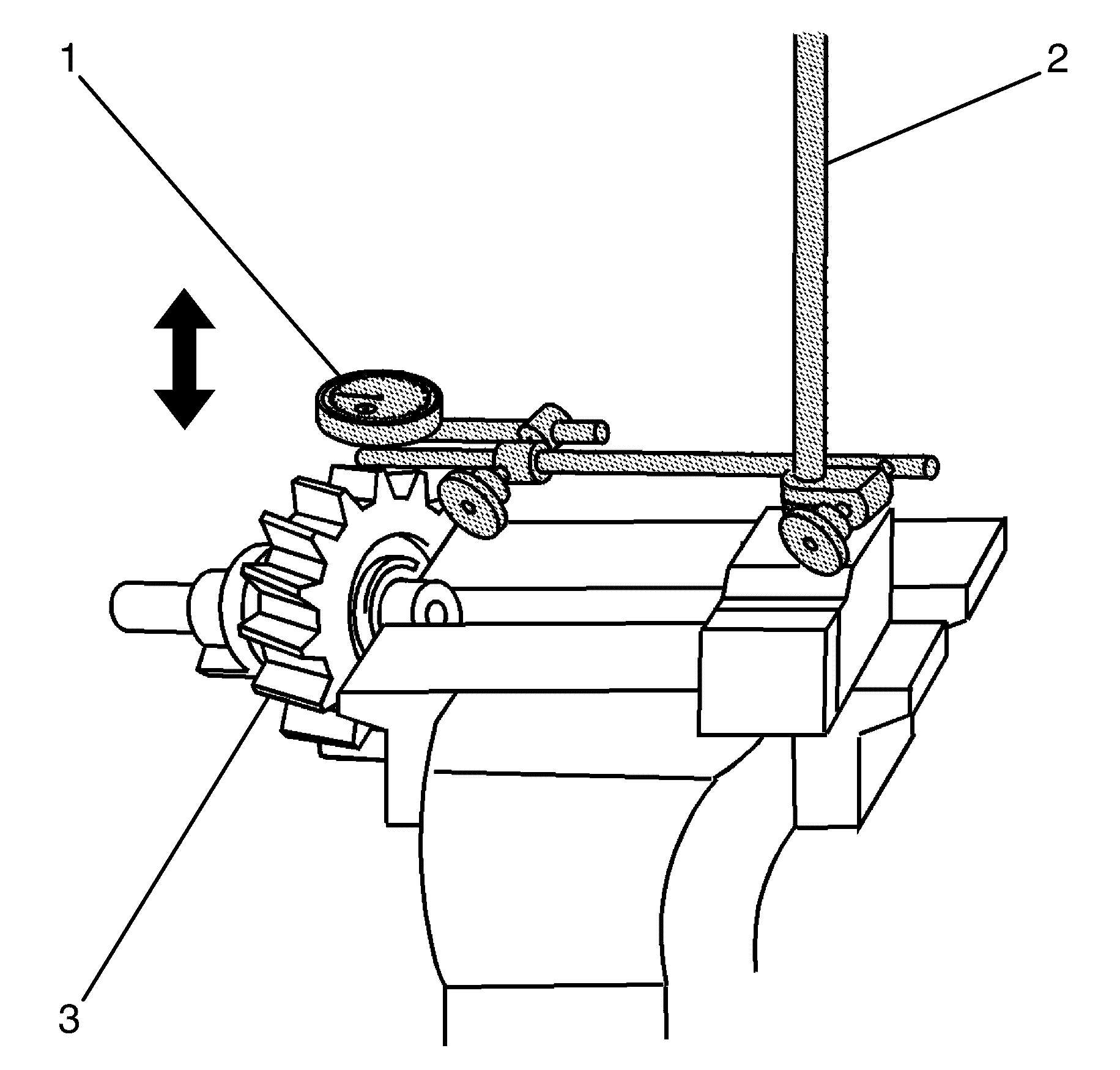
  4. 2.1. Place the speed gear, with the needle roller bearing, on the input shaft at the correct journal.
    2.2. Use J 8001-3 or J 26900-12  (1) and J 26900-13  (2).
    2.3. Position J 8001-3 or J 26900-12 on the gear.
    2.4. Move the gear up and down and measure travel. Refer to Transmission Clearance Specifications.
  5. If the clearance exceeds the maximum, replace either the gear, the needle roller bearing, or the input shaft.
  6. Retest for radial clearance for each of the speed gears and measure travel. Refer to Transmission Clearance Specifications.
  7. Clean the input shaft in a suitable solvent.
  8. Clean and air dry the oil gallery.
  9. Inspect the input shaft bearing surfaces for the following conditions:
  10. • Wear
    • Lack of lubricant
    • Debris embedded in the oil grooves
    • Brinelling
  11. Inspect the input shaft splines for wear or damage.
  12. Replace the input shaft if any of the above conditions are found.

  13. Object Number: 1954269  Size: SH
  14. Using J 8001-3 or J 26900-12  (1), J 26900-13  (2) and V-blocks, inspect the input shaft for runout.
  15. Specification
    Maximum runout: 0.06 mm (0.0024 in)

  16. If the runout exceeds the maximum, replace the input shaft.

  17. Object Number: 1954270  Size: SH

    Important: To calculate the radial clearance, measure shaft diameter, needle roller bearing diameter and gear inner diameter.

  18. Using a micrometer, measure the diameter of the input shaft journals.
  19. Specification

        • Minimum diameter 1st gear (a): 38.860 mm (1.5299 in)
        • Minimum diameter 2nd gear (b): 46.860 mm (1.8449 in)
        • Minimum diameter 3rd gear (c): 37.869 mm (1.4905 in)
  20. If the journal diameter is less than the minimum, replace the input shaft.

Reverse Idler Gear and Shaft


    Object Number: 1955590  Size: SH
  1. Clean the reverse idler gear and shaft in a suitable solvent and air dry all the parts.
  2. Inspect the bushing in the reverse idler gear for the following conditions:
  3. • Excessive wear
    • Scoring
    • Pitting
  4. Replace the reverse idler gear if the bushing is faulty.
  5. Inspect the reverse idler gear shaft for the following conditions:
  6. • Excessive wear
    • Scoring
    • Pitting
  7. Replace the reverse idler gear shaft if it is faulty.

  8. Object Number: 1955551  Size: SH
  9. Using J 8001-3 or J 26900-12  (1) and J 26900-13  (2), measure the reverse idler gear (3) radial clearance.
  10. Specification

        • Standard Clearance: 0.040-0.082 mm (0.0016-0.0032 in)
        • Maximum Clearance: 0.130 mm (0.0051 in)
  11. If the clearance exceeds the maximum, replace the reverse idler gear or the reverse idler gear shaft.

Countershaft


    Object Number: 1954271  Size: SH
  1. Inspect 1st (B), 2nd (A), and reverse gear (C) for axial clearance. Lift up on the gear from the settled position and measure travel. Refer to Transmission Clearance Specifications.

  2. Object Number: 1954272  Size: SH
  3. Measure the radial clearance for 5th countershaft gear (3).
  4. 2.1. Place the 5th countershaft gear, with the needle roller bearing, on the countershaft journal.
    2.2. Use J 8001-3 or J 26900-12  (1) and J 26900-13  (2).
    2.3. Position J 8001-3 or J 26900-12 on the gear.
    2.4. Move the gear up and down.

    Specification

        • Standard Clearance: 0.015-0.068 mm (0.0006-0.0027 in)
        • Maximum Clearance: 0.160 mm (0.0063 in)
  5. If the clearance exceeds the maximum, replace the gear, the roller bearing, or the countershaft.

  6. Object Number: 1955594  Size: SH
  7. Clean the countershaft in a suitable solvent and air dry all the parts.
  8. Inspect the rear bearing race (1) on the countershaft for the following conditions:
  9. • Brinelling
    • Wear
    • Scoring
  10. Inspect the 5th countershaft gear bearing race (2) for the following conditions:
  11. • Brinelling
    • Wear
    • Scoring

    Object Number: 1954273  Size: SH
  12. Using a micrometer, measure the outer diameter of the countershaft journal.
  13. Specification
    Minimum diameter: 29.860 mm (1.1756 in)

  14. Inspect all of the countershaft gears for being faulty following the gear inspection steps.
  15. Replace the countershaft if it is faulty.

Output Shaft


    Object Number: 1954274  Size: SH
  1. Clean the output shaft in a suitable solvent and air dry all the parts.
  2. Inspect the pilot bearing journal (1) for wear or scoring.
  3. Inspect the clutch disc splines (2) for wear. Steps in the splines may cause concerns with clutch operation.
  4. Inspect the synchronizer blocking ring surface (3) for the following conditions:
  5. • Grooves
    • Excessive wear
    • Heat marks
    • Scoring
  6. Inspect the input shaft front support bearing journal (4) for the following conditions:
  7. • Brinelling
    • Pitting
    • Excessive wear
  8. Inspect the gear teeth and selector teeth for being faulty following the gear inspections steps.
  9. Replace the output shaft if any of the above conditions are found.

Gears


    Object Number: 1954275  Size: SH
  1. Clean the 1st gear (7), the 2nd gear (3), the 3rd gear (1), the 4th gear (4), reverse drive gear (6), the 6th gear (5), the reverse gear (2), and the countershaft gear in a suitable solvent and air dry all the parts.

  2. Object Number: 1954276  Size: SH
  3. Inspect the thrust surfaces (1) on both sides of the gears for the following conditions:
  4. • Wear
    • Galling
    • Scoring
  5. Replace any gears that have faulty thrust surfaces. Worn thrust surfaces may cause gear clashing or hard shifting, by not allowing full engagement of the synchronizer blocking rings. Worn thrust surfaces may also cause gear noise or may cause clunking during acceleration or deceleration.
  6. Inspect the synchronizer blocking ring surface (2) for the following conditions:
  7. • Grooves
    • Excessive wear
    • Heat marks
    • Scoring
  8. Replace any gear that has a faulty blocking ring surface.

  9. Object Number: 1954277  Size: SH
  10. Inspect the selector teeth of the gears for gear change damage.
  11. If there is gear change damage, the tooth edges (1) are worn and chipped and, in some cases, affected by plastic deformation because of high shift loads that resemble ragged edges. Such severe deformation of the selector teeth edges causes hard gearshift changes. The spline flanks may also show signs of wear resembling fretting corrosion.

  12. If gear change damage is present, replace or repair the affected parts. Gear change damage is caused by any of the following conditions:
  13. • Corresponding speeds of gears not adequately matched
    • Operating the transmission incorrectly
    • Incorrect clutch operation

    Object Number: 1954279  Size: SH
  14. Inspect the gears for brinelling (1).
  15. Brinelling occurs on the roller races of the gears and is characterized by what appears to be the impression of the bearing rollers.

  16. Replace any gears showing brinelling.

  17. Object Number: 1954280  Size: SH
  18. Inspect the gears for break-in-wear or running-in-wear (1).
  19. Break-in-wear is not considered damage because it usually ceases after the running-in-period has expired, without damaging the components. Rough peaks produced during manufacture are worn away or, to some extent, are rolled into the surface. The grinding and shaving marks (1) on the surface are still visible.


    Object Number: 1954281  Size: SH
  20. Inspect the gear teeth for scratches (1).
  21. Scratches are linear indentations on the flank, running in the direction of sliding.

  22. If scratches are present, replace the affected parts.
  23. Scratches can be caused by the following conditions:

    • Dust and abrasive particles, including those caused by flank contact, in the lubricating oil.
    • The sliding action of the flanks.

    Object Number: 1954282  Size: SH
  24. Inspect the gear teeth for abrasive wear.
  25. The marks left by the machining process are erased from the active flank. Instead, the entire flank takes on a matte gray appearance (1). Substantial changes take place in the tooth profile and clearance once abrasive wear has reached an advanced stage. This not only increases the noise level, but can also cause secondary damage.

  26. If abrasive wear is present, replace the affected parts.
  27. Abrasive wear is caused by the following conditions:

    • Oil contamination resulting from wear or surface fatigue in other areas of the transmission.
    • Sand, sludge, etc. penetrating into the transmission from the outside.

    Object Number: 1954286  Size: SH
  28. Inspect the gear teeth for rippling or brinelling.
  29. The polished tooth flanks show signs of ripple-like alterations in the surface structure, which run perpendicular to the direction of sliding, and may resemble a washboard.

  30. If rippling or brinelling is present, replace the affected parts.
  31. Rippling or brinelling is caused by the following conditions:

    • A combination of inadequate lubrication, high flank loads and low peripheral speeds
    • Friction-induced vibration

    Object Number: 1954285  Size: SH
  32. Inspect the gear teeth for light scoring (1).
  33. Light scoring is identified as rough, partially porous lines or areas aligned in the direction of sliding. When the film of lubricant is torn away between the flanks, this permits direct metal-to-metal contact causing seizure or welding. These welded zones are immediately torn apart again, producing the damage associated with scoring. Scoring initially occurs in areas subjected to high hertz frequency stresses and high sliding speeds, usually along the tooth root and tooth tip. Light scoring only covers a part of the entire surface of the flank, or is not strongly developed and has caused only insignificant wear after smoothing.

  34. If light scoring is present, replace the affected parts.
  35. Light scoring is caused by the following conditions:

    • Inadequate oil viscosity.
    • Unfavorable gear geometry.
    • Temporary lack of lubricant.
    • Surface roughness.
    • Faulty heat treatment of the gears.

    Object Number: 1954284  Size: SH
  36. Inspect the gear teeth for severe scoring (1).
  37. Severe scoring is the same as light scoring, except large areas of the tooth flank are affected. At an advanced stage, the flank may heat up to such an extent that localized discoloring occurs.

  38. If severe scoring is present, replace the affected parts.
  39. Severe scoring is caused by the following conditions:

    • Inadequate oil viscosity.
    • Unfavorable gear geometry.
    • Temporary lack of lubricant.
    • Surface roughness.
    • Faulty heat treatment of the gears.

    Object Number: 1954287  Size: SH
  40. Inspect the gears for flank fatigue (1), causing gray spots.
  41. Gray spots are localized pittings on the flank caused by material fatigue and extremely fine pittings formed on the load-bearing flanks. If they are in cluster, they appear to the naked eye as matte gray staining. Under high magnification, a large number of microscopic cracks become visible on the flank. Pittings originating from these cracks may create the appearance of local flank wear. Most of the gray spots are located in the root zone of the gear teeth.

  42. If gray spots are present, replace the affected parts.
  43. Gray spots are caused by the following conditions:

    • Material fatigue.
    • Contact pressure.
    • Sliding movement.
    • Composite friction.

    Object Number: 1954288  Size: SH
  44. Inspect the gear teeth for slight pittings (1).
  45. Slight pittings are identified as pore-like areas of individual pittings on the flank caused by material fatigue. Usually, slight pittings are only present in the root zone of the flank. Slight pittings may cease after run-in. A change in operating conditions may also stop continued development of slight pitting.


    Object Number: 1954289  Size: SH
  46. Inspect the gear teeth for pittings (1).
  47. Pittings are material fatigue on the flank (1). The total pitting surface may become so large that smooth running is considerably impaired, or the remaining flank face still bearing the load will soon be destroyed by wear.

  48. If pittings are present, replace the affected parts.
  49. Pitting is caused by the following conditions:

    • Exceeding the sliding and rolling stresses for the material.
    • Incorrect oil viscosity.
    • Excessive operating temperature.

    Object Number: 1954290  Size: SH
  50. Inspect the gears for spalling (1).
  51. Spalling is extensive triangular pits on the flank, spreading from a zone of gray spots or a fine line of pits at the root. The depth of the exposed surface is relatively constant throughout. Further cracks may extend from the pits at an angle. In some cases, the damage may even progress into the tip zone, causing tip damage.

  52. If spalling is present, replace the affected parts.
  53. Spalling is caused by the following conditions:

    • Exceeding the sliding and rolling stresses for the material.
    • Incorrect oil viscosity.
    • Excessive operating temperature.

    Object Number: 1954291  Size: SH
  54. Inspect the gears for damage from overheating.
  55. Overheating damage is identified by grayish to bluish black discoloration of the gear, burnt oil, and reduced hardness. Due to the reduction in hardness, there is scored or grooved flank wear in the direction of sliding (1), particularly in the tip and root zones. If there is extreme overheating, the material softens, causing distortion of the gear teeth (2), bending the teeth from thermal distortion.

  56. If damage from overheating is present, replace or repair the affected parts.
  57. Overheating is caused by the following conditions:

    • Temporary or complete lack of lubrication - low oil level.
    • Very high peripheral speeds.
    • Insufficient tooth clearance.

    Object Number: 1954292  Size: SH
  58. Inspect the gears for corrosion (1).
  59. Corrosion is brownish red to black spots (1), sometimes with local material loss on the flank. If corrosion has not caused material loss to the flank, the sliding and rolling action of the flank can help to remove some of the corrosion.

  60. If corrosion is severe, replace the affected parts.
  61. Corrosion is caused by the following conditions:

    • Water or salt water entering the transmission.
    • Condensation forming under unfavorable operating conditions.
    • Oil aging and the decomposition of corrosion inhibitors.