GM Service Manual Online
For 1990-2009 cars only

Tools Required

    • DT-47721 Shift Shaft Seal Installer
    • DT-47722 Shift Rail Bushing Remover and Installer
    • DT-47723 Output Shaft Bearing Installer
    • DT-47724 Output Shaft Bearing Cup Installer
    • DT-47725 Extension Housing Bearing Cup Installer
    • DT-47726 Countershaft Rear Bearing Installer

Rear Case Assemble


    Object Number: 1955559  Size: SH
  1. Apply gear oil to bearing. Use DT-47726  (1) to install bearing (2).

  2. Object Number: 1955560  Size: SH
  3. Install the bearing retainer (2) and bolt (1).
  4. Tighten
    Tighten the bolt to 11 N·m (96 lb in).

  5. Install the gasket (3) to the rear case.

  6. Object Number: 1954250  Size: SH
  7. Install the oil trough (1) to the rear case.

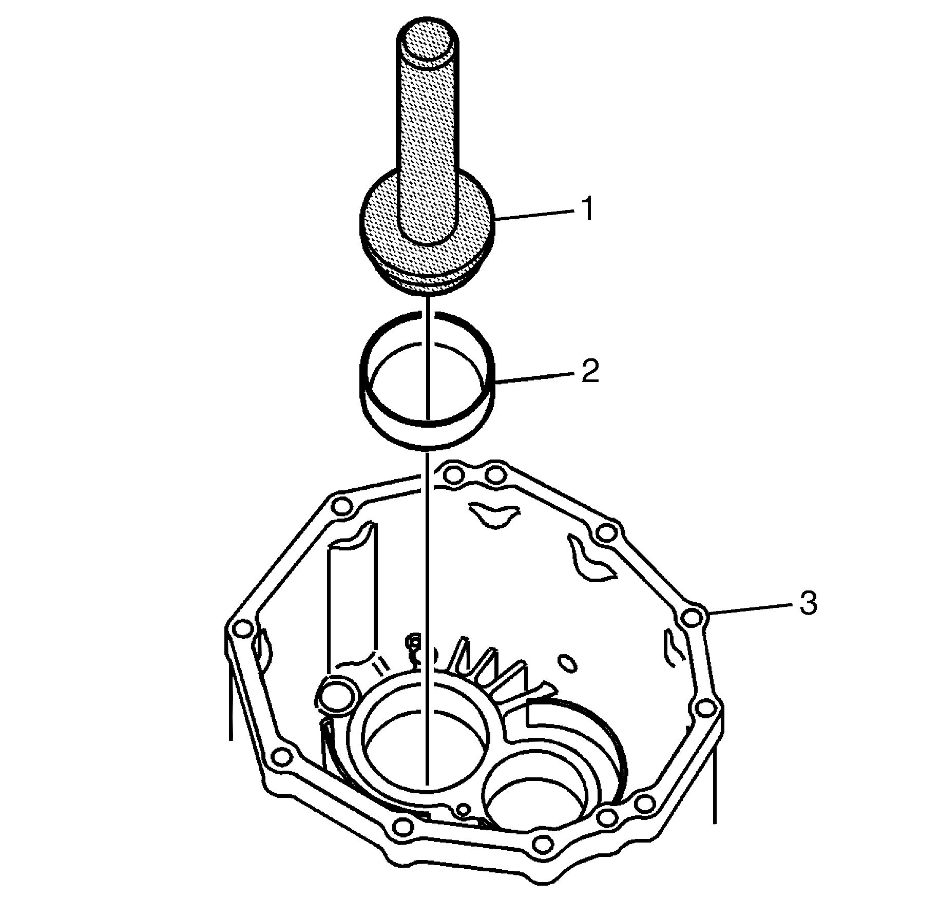
  8. Object Number: 1955561  Size: SH
  9. Using DT-47722  (1), install the bearing (2) in the rear case.

  10. Object Number: 1955597  Size: SH
  11. Using DT-47724 , install the tapered bearing race (1) into the rear case.

Middle Case Assemble


Object Number: 1955562  Size: SH

Using DT-47722  (1), install the bearing (2) in the intermediate case.