GM Service Manual Online
For 1990-2009 cars only
Figure 1:

Engine Cover and Components


Object Number: 856219  Size: LF
(1)Camshaft Position Actuator Solenoid Valve
(2)Camshaft Position Actuator Solenoid Valve Bolt
(3)Coolant Temperature Sensor
(4)Air Injection Pipe (AIR) Cover Stud
(5)Air Injection Pipe (AIR) Cover
(6)Air Injection Pipe (AIR) Cover Gasket
(7)Timing Chain Top Guide
(8)Timing Chain Top Guide Bolt
(9)Camshaft Cover
(10)Oil Fill Cap
(11)Ignition Control Module
(12)Camshaft Cover Bolt
(13)Heater Inlet Hose Fitting
(14)Engine Block
(15)EVAP Emission Canister Purge Solenoid Bolt
(16)EVAP Emission Canister Purge Solenoid
(17)Heater Outlet Hose Fitting
(18)Thermostat Seal
(19)Thermostat Housing
(20)Thermostat Housing Bolt
(21)Oil Pan
(22)Oil Pan Bolt
(23)Oil Pan Nut
(24)Oil Drain Plug
(25)Oil Pump Screen Pickup Tube
(26)Oil Pan Stud
(27)Oil Pump Screen Pickup Tube Bolt
(28)Oil Filter
(29)Oil Filter Adapter
(30)Oil Filter Bypass Valve
(31)Engine Front Cover Bolt
(32)Crankshaft Front Oil Seal
(33)Crankshaft Balancer
(34)Crankshaft Balancer Bolt
(35)Water Pump Bolt
(36)Water Pump Pulley Bolt
(37)Water Pump Pulley
(38)Water Pump
(39)Engine Front Cover Bolt
(40)Engine Front Cover Bolt
(41)Engine Front Cover
(42)Engine Front Cover Bolt Spacer
(43)Oil Pressure Switch
(44)Water Outlet
(45)Water Outlet Bolt
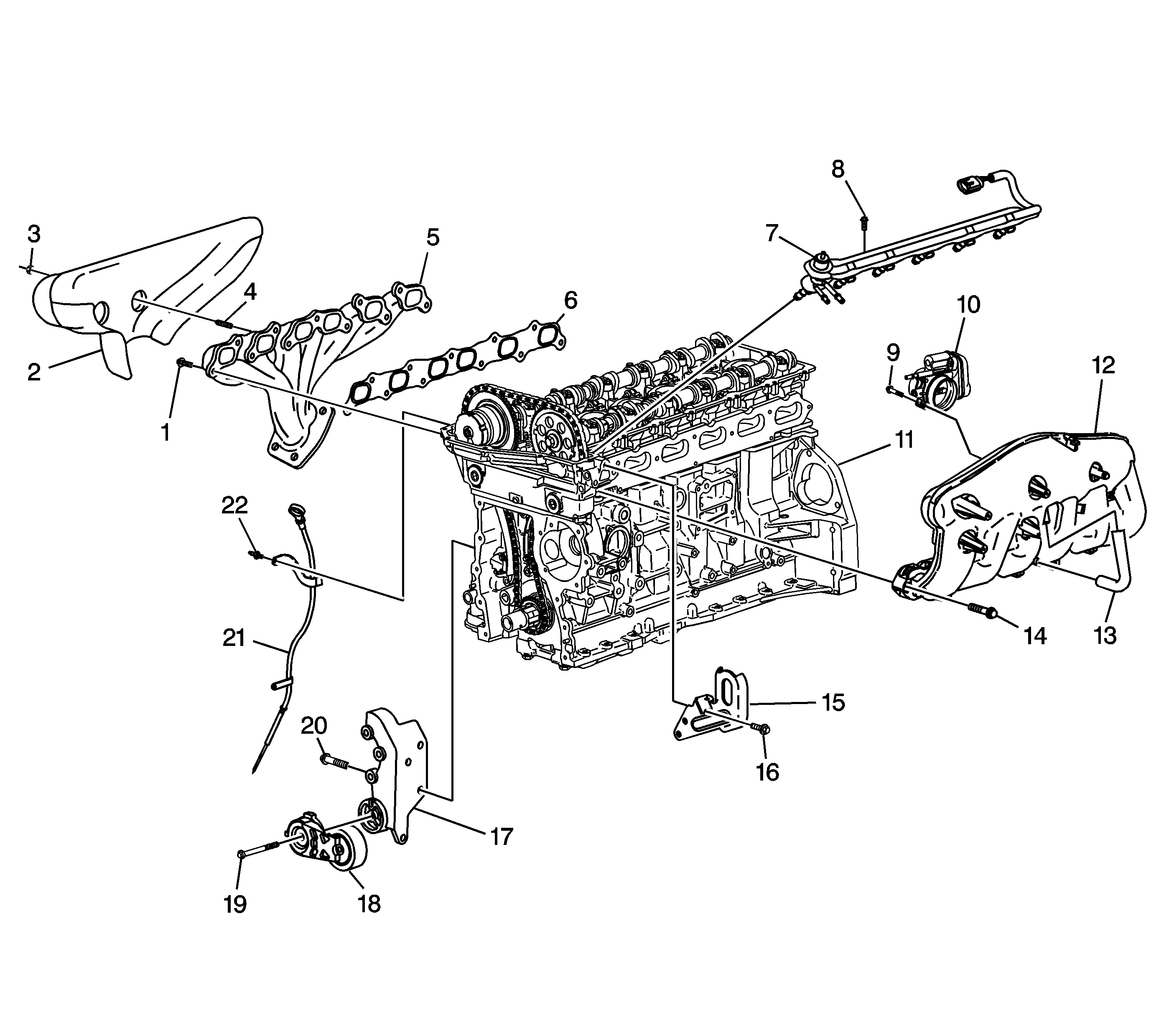
Figure 2:

Engine Exhaust and Components


Object Number: 728016  Size: LF
(1)Exhaust Manifold Bolt
(2)Exhaust Manifold Heat Shield
(3)Exhaust Manifold Heat Shield Nut
(4)Exhaust Manifold Heat Shield Stud
(5)Exhaust Manifold
(6)Exhaust Manifold Gasket
(7)Fuel Injector Rail
(8)Fuel Injector Rail Bolt
(9)Throttle Control Module Bolt
(10)Throttle Control Module
(11)Engine Block
(12)Intake Manifold
(13)Positive Crankcase Vent (PCV) Hose
(14)Intake Manifold Bolt
(15)Engine Lift Hook
(16)Engine Lift Hook Bolt
(17)Power Steering Pump Bracket
(18)Belt Tensioner
(19)Belt Tensioner Bolt
(20)Power Steering Pump Bracket Bolt
(21)Oil Level Indicator Tube
(22)Oil Level Indicator Tube Stud
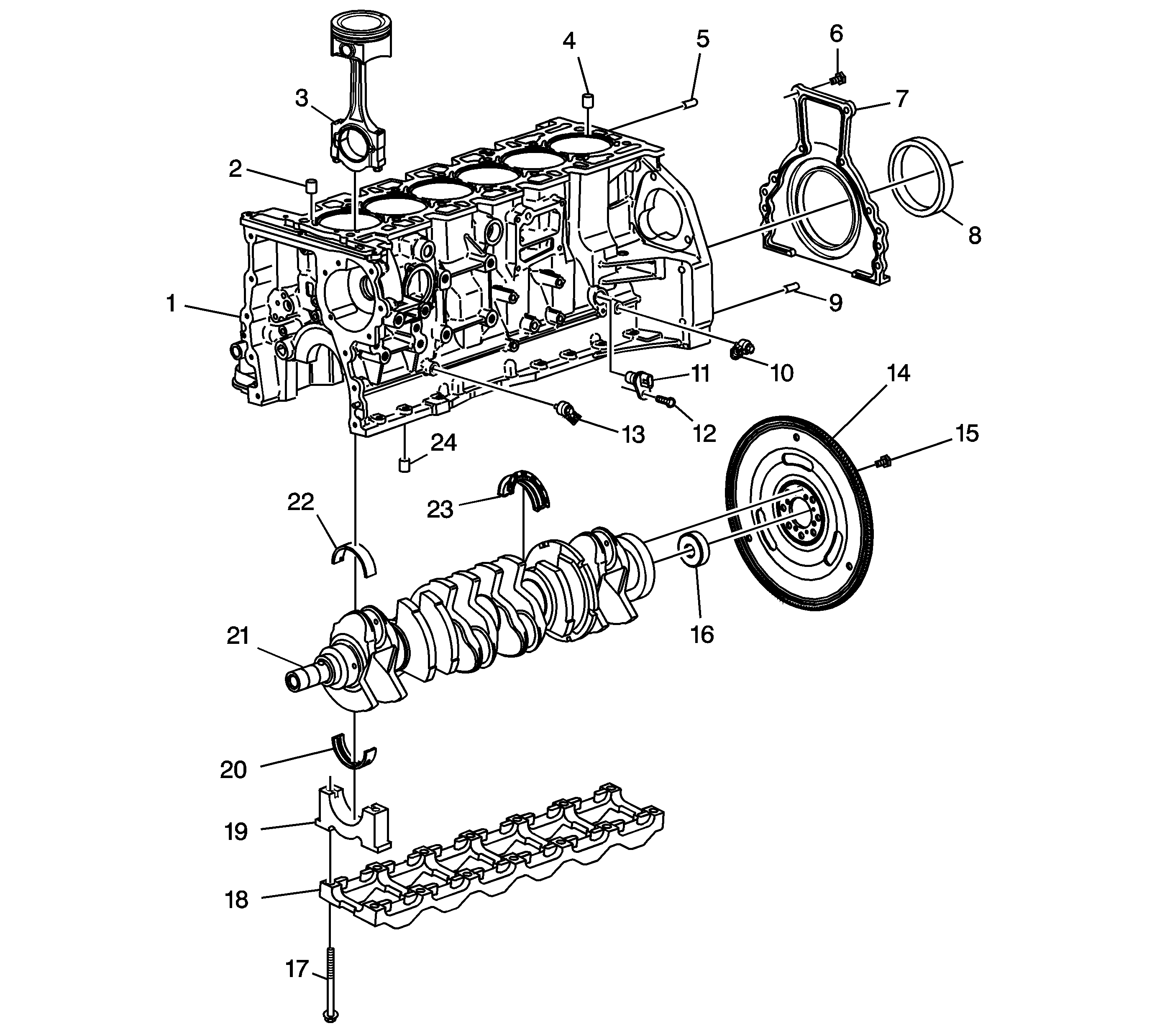
Figure 3:

Lower Engine Components


Object Number: 728017  Size: LF
(1)Engine Block
(2)Cylinder Head Locator Pin
(3)Piston/Connecting Rod Assembly
(4)Cylinder Head Locator Pin
(5)Transmission Locator Pin
(6)Crankshaft Rear Oil Seal Housing Bolt
(7)Crankshaft Rear Oil Seal Housing
(8)Crankshaft Rear Oil Seal
(9)Transmission Locator Pin
(10)Knock Sensor
(11)Crankshaft Position Sensor
(12)Crankshaft Position Sensor Bolt
(13)Knock Sensor
(14)Flywheel
(15)Flywheel Bolt
(16)Pilot Bearing
(17)Main Bearing Cap Bolt
(18)Main Bearing Cap Stiffener
(19)Main Bearing Cap
(20)Lower Main Bearing
(21)Crankshaft
(22)Upper Main Bearing
(23)Main Thrust Bearing
(24)Main Bearing Cap Locator Pin
Figure 4:

Timing Chain and Components


Object Number: 728018  Size: LF
(1)Exhaust Camshaft Actuator Bolt
(2)Timing Chain
(3)Exhaust Camshaft Actuator
(4)Intake Camshaft Sprocket
(5)Timing Chain Guide
(6)Timing Chain Guide Bolt
(7)Crankshaft Sprocket
(8)Crankshaft Balancer Friction Washer
(9)Timing Chain Tensioner Bolt
(10)Timing Chain Tensioner
(11)Timing Chain Tensioner Shoe
(12)Timing Chain Tensioner Shoe Bolt
(13)Intake Camshaft Sprocket Bolt
Figure 5:

Cylinder Head Components


Object Number: 728019  Size: LF
(1)Exhaust Camshaft
(2)Camshaft Thrust Cap
(3)Camshaft Thrust Cap Bolts
(4)Camshaft Cap Bolts
(5)Camshaft Cap
(6)Intake Camshaft
(7)Valve Seal
(8)Valve Spring
(9)Valve Spring Ratainer
(10)Valve Keys
(11)Valve Rocker Arms
(12)Cylinder Head Bolt
(13)Spark Plug
(14)Valve Lash Adjuster
(15)AIR Pipe Plug
(16)Water Jacket Plug
(17)Oil Gallery Plug
(18)Cylinder Head
(19)Engine Lift Hook Bolt
(20)Engine Lift Hook
(21)Valves
(22)Access Hole Plug
(23)Camshaft Position Sensor Bolt
(24)Camshaft Position Sensor
(25)Cylinder Head Bolt
(26)Cylinder Head Bolt
(27)Oil Gallery Plug
(28)Valve Lash Adjuster
Figure 6:

Piston and Connecting Rod Components


Object Number: 728020  Size: LF
(1)Piston Pin Retainer
(2)Piston Pin
(3)Piston
(4)Lower Oil Control Ring
(5)Expander Ring
(6)Upper Oil Control Ring
(7)Lower Compression Ring
(8)Upper Compression Ring
(9)Piston Pin Retainer
(10)Connecting Rod
(11)Connecting Rod Cap
(12)Connecting Rod Bolts
(13)Connecting Rod Lower Bearing
(14)Connecting Rod Upper Bearing
(15)Connecting Rod Bushing