GM Service Manual Online
For 1990-2009 cars only
Table 1: Sunroof Module Connector C1
Table 2: Sunroof Module Connector C2
Table 3: Sunroof Motor
Table 4: Sunroof Switch

Sunroof Module Connector C1


Object Number: 62450  Size: CH

Connector Part Information

    • 12052856
    • 4-Way F GT 280 (BLK)

Pin

Wire Color

Circuit No.

Function

A

YEL/RED

1740

Battery Positive Voltage

B

DK BLU

129

Sunroof Motor Close Control

C

DK GRN

127

Sunroof Motor Open Control

D

BLK/PPL

1350

Ground

Sunroof Module Connector C2


Object Number: 815374  Size: CH

Connector Part Information

    • Molex 39-01-2060
    • 6-Way F (WHT)

Pin

Wire Color

Circuit No.

Function

1

WHT

100

Sunroof Switch Open Signal

2

LT BLU

110

Sunroof Switch Close Signal

3

BRN

128

Sunroof Switch Low Reference

4

--

--

Not Used

5

PPL

801

RAP Fuse Supply Voltage

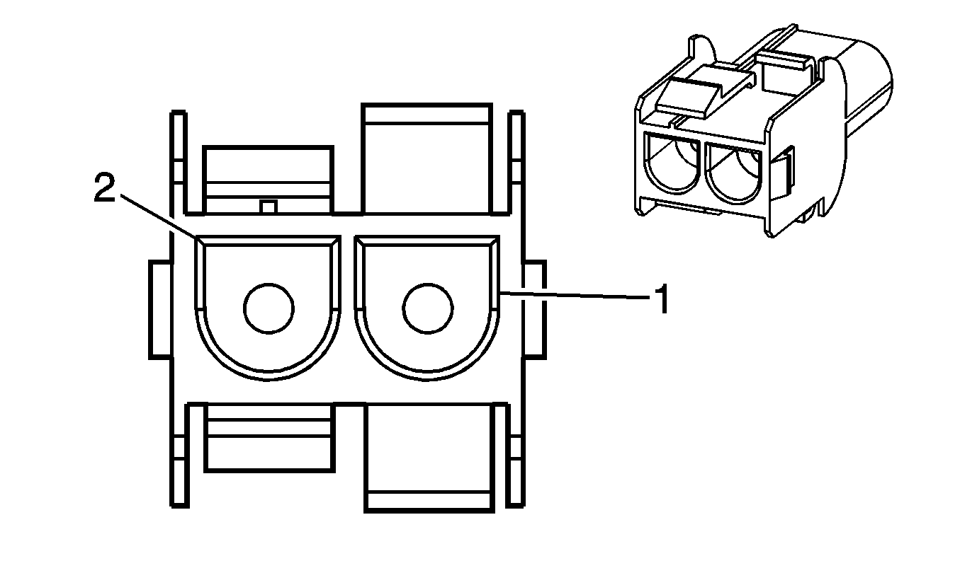
Sunroof Motor


Object Number: 894243  Size: CH

Connector Part Information

    • Molex 50842020
    • 2-Way F (WHT)

Pin

Wire Color

Circuit No.

Function

1

DK

GRN

127

Sunroof Motor Open Control

2

DK BLU

129

Sunroof Motor Close Control

Sunroof Switch


Object Number: 333036  Size: CH

Connector Part Information

    • 12191825
    • 8-Way Metri-Pack 280 Series (BLK)

Pin

Wire Color

Circuit No.

Function

A

DK BLU

128

Sunroof Switch Low Reference

B

BRN/WHT

230

Instrument Panel Lamps Dimming Control

C

BLK

1350

Ground

D-E

--

--

Not Used

F

ORN

110

Sunroof Switch Close Signal

G

BRN

100

Sunroof Switch Open Signal

H

--

--

Not Used