GM Service Manual Online
For 1990-2009 cars only

Removal Procedure

    Important: 

       • The adhesion promoter must be used to assure adequate bonding of the coupling.
       • To obtain maximum adhesion between the new cellular antenna couplings and the glass surface, the cellular antenna couplings and the glass must be kept dry and above 15°C (60°F) during the installation, and for 24 hours immediately following the installation. Otherwise the new couplings may not remain on the glass.
       • Do not attempt to reinstall the original couplings using any type of glue, adhesive tapes, etc. Doing so may eliminate the cellular signal transfer through the glass and reduce the maximum performance of the system, including the air bag deployment notification.


    Object Number: 813188  Size: SH
  1. Disconnect the coaxial cable from the inner coupling of the mobile communication antenna (1).
  2. Notice: If you use a razor blade or other sharp tool in order to remove the adhesives or foreign objects from the inside of the rear window, use the blade carefully. Damage to the grid lines may result.

    Important: If the vehicle is equipped with diversity antennas, move the thin, wide-bladed plastic tool in the direction away from the antenna grid lines (2).

  3. Use a thin, wide-bladed plastic tool to cut the double back tape material while lifting up on the inner antenna coupling.

Installation Procedure


    Object Number: 569466  Size: SH
  1. Clean the inside of the back glass with alcohol wipe.
  2. Dry the glass thoroughly using a lint free cloth.
  3. Important: 

       • The adhesion promoter must be used to assure adequate bonding of the coupling.
       • Mask or protect the surrounding area before applying the adhesion promoter.

  4. Apply Glass Adhesion Promoter GM P/N 12378555 (Canadian P/N 88901239) to the back glass in the area the antenna coupling is to be installed. Follow the Glass Adhesion Promoter instructions on the product label.
  5. Important: 

       • Ensure the inner and outer antenna couplings are aligned.
       • Do not touch the adhesive backing on the antenna coupling.

  6. Remove the protective film from the adhesive backing on the inner antenna coupling.

  7. Object Number: 813200  Size: SH
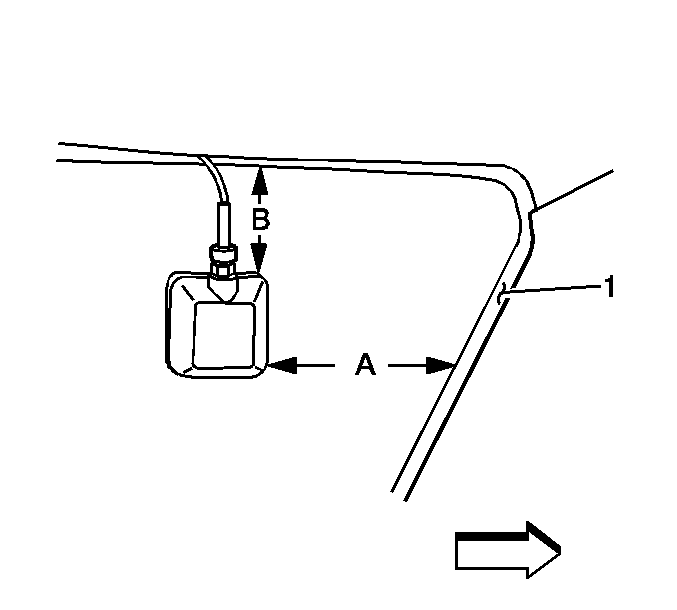
  8. If the exterior antenna coupling is not installed, use a grease pencil on the outside glass to mark the mounting location of the interior antenna coupling. Ensure the marks are level.
  9. The mounting location for the couplings is on the left quarter window, 100 mm (4 in) (A) rearward of the black masking (1), and 48 mm (2 in) (B) below the black masking.
  10. If the exterior antenna coupling is installed, align the inner antenna coupling to the exterior coupling.

  11. Object Number: 650826  Size: SH
  12. Press firmly on all 4 corners and on the center of the antenna inner coupling (2) in order to ensure proper adhesion to the back glass (4). Hold pressure on the inner coupling (2) for 10-30 seconds.
  13. Inspect the installation to ensure that no surface gaps are present between the couplings (5,2) and the back glass (4).

  14. Object Number: 813183  Size: SH
  15. Connect the coaxial cable (1) to the inner antenna coupling.