GM Service Manual Online
For 1990-2009 cars only

Removal Procedure

The upper and lower hinges of the vehicle are similar. Both hinges do not have to be replaced unless damage warrants replacement of both. The hinges are similar on left and right sides of the vehicle. These replacement procedures apply to all.


    Object Number: 741916  Size: SH
  1. Remove all of the related panels and components.
  2. Remove the sealer surrounding the hinge (1).

  3. Object Number: 741917  Size: SH
  4. Scribe the location of the hinge (1).

  5. Object Number: 741919  Size: SH
  6. Hand-sand the existing hinge (1) with 100-grit sandpaper to locate the 4 weld locations.

  7. Object Number: 741920  Size: SH

    Important: Punch the center of the weld so that as much of the weld as possible is removed during drilling.

  8. Center punch each weld location (1).

  9. Object Number: 741921  Size: SH

    Important: Drill only through the hinge base (1). Do not drill through the mating surface (2).

  10. At each punch location, drill a 3-mm (1/8-in) pilot hole (1).

  11. Object Number: 741922  Size: SH
  12. Using the pilot hole as a guide, drill through the hinge base using a 19-mm (3/4-in) rotabroach hole saw or equivalent (2).

  13. Object Number: 741924  Size: SH

    Important: If necessary, use a chisel to separate the hinge from the mating surface.

  14. Remove the hinge.

  15. Object Number: 741925  Size: SH
  16. Remove the remaining weld from the mating surface to ensure a flush fit of the service hinge.

Installation Procedure


    Object Number: 741927  Size: SH
  1. Position the service hinge (1) within the scribe marks (2) on the hinge pillar (3).

  2. Object Number: 741928  Size: SH
  3. Mark each hole location on the hinge pillar according to the service hinge.

  4. Object Number: 741929  Size: SH
  5. Drill a 3-mm (1/8-in) pilot hole at each location (1).
  6. Drill a 13-mm (1/2-in) hole at each pilot hole location (2).
  7. Clean and prepare all bare-metal surfaces.
  8. Important: Prior to refinishing, refer to the publication GM 4901M-2001 GM Approved Refinish Materials for recommended products. Do not combine paint systems. Refer to paint manufacturer's recommendations.

  9. Apply an anti-corrosion primer.

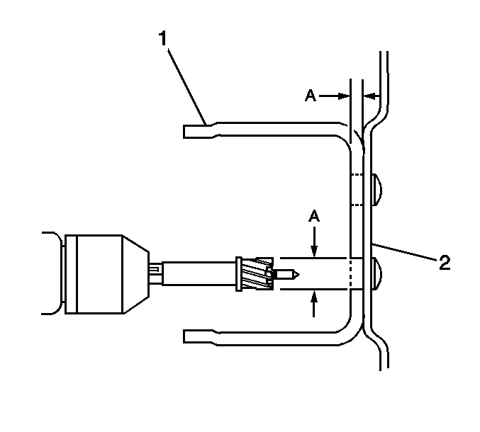
  10. Object Number: 741930  Size: SH
  11. Pass the feed wire (1) through the hinge (2), body pillar (3) and backing plate (4).

  12. Object Number: 741931  Size: SH
  13. Crimp the feed wire (1) behind the backing plate.

  14. Object Number: 741932  Size: SH
  15. Pull the feed wire (1) while guiding the backing plate (2) into the inner structure.

  16. Object Number: 741934  Size: SH
  17. Place the hinge (1) into position and hand tighten the 2 attaching bolts.

  18. Object Number: 741933  Size: SH
  19. Remove the feed wire (1) from the hinge.

  20. Object Number: 741935  Size: SH
  21. Install and hand tighten the 2 remaining bolts.
  22. Notice: Use the correct fastener in the correct location. Replacement fasteners must be the correct part number for that application. Fasteners requiring replacement or fasteners requiring the use of thread locking compound or sealant are identified in the service procedure. Do not use paints, lubricants, or corrosion inhibitors on fasteners or fastener joint surfaces unless specified. These coatings affect fastener torque and joint clamping force and may damage the fastener. Use the correct tightening sequence and specifications when installing fasteners in order to avoid damage to parts and systems.

  23. Align the hinge to the original scribe location.
  24. Tighten
    Tighten the 4 bolts to 25 N·m (18 lb ft).


    Object Number: 741936  Size: SH
  25. Clean and prepare all bare-metal surfaces.
  26. Apply a full-bodied caulk around the service hinge (1).
  27. Refinish as necessary.
  28. Install and align all of the related panels and components.