GM Service Manual Online
For 1990-2009 cars only

Removal Procedure

The upper and lower hinges of the vehicle are similar. Both hinges do not have to be replaced unless damage warrants replacement of both. The hinges are similar on left and right sides of the vehicle. These replacement procedures apply to all.


    Object Number: 741759  Size: SH
  1. Remove all of the related panels and components. Refer to Rear Side Door Replacement .
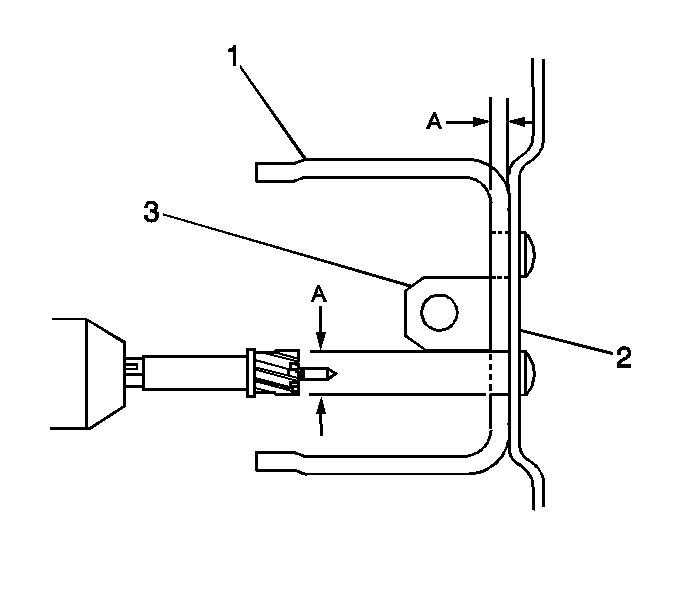
  2. Remove the sealer surrounding the hinge (1).

  3. Object Number: 741761  Size: SH
  4. Scribe the location of the hinge (1).

  5. Object Number: 741763  Size: SH
  6. Hand-sand the existing hinge (1) with 100-grit sandpaper to locate the 4 weld locations.

  7. Object Number: 741764  Size: SH

    Important: Punch the center of the weld so that as much of the weld as possible is removed during drilling.

  8. Center punch each weld location  (1).

  9. Object Number: 741765  Size: SH

    Important: Drill only through the hinge base (1). Do not drill through the mating surface (2).

  10. Remove the hinge tab (3) before drilling, if necessary.

  11. Object Number: 741767  Size: SH
  12. At each punch location, drill a 3-mm (1/8-in) pilot hole (1).
  13. Using the pilot hole as a guide, drill through the hinge base using a 19-mm (3/4-in) rotabroach hole saw or equivalent (2).

  14. Object Number: 741768  Size: SH

    Important: If necessary, use a chisel to separate the hinge from the mating surface.

  15. Remove the hinge.

  16. Object Number: 741769  Size: SH
  17. Remove the remaining weld from the mating surface to ensure a flush fit of the service hinge.

Installation Procedure


    Object Number: 741771  Size: SH
  1. Position the service hinge (1) within the scribe marks (2) on the door (3).
  2. Mark each hole location on the door according to the service hinge (4).

  3. Object Number: 741772  Size: SH
  4. Drill a 3-mm (1/8-in) pilot hole at each location (1).
  5. Drill a 13-mm (1/2-in) hole at each pilot hole location (2).
  6. Clean and prepare all bare-metal surfaces.
  7. Important: Prior to refinishing, refer to the publication GM 4901M-2001 GM Approved Refinish Materials for recommended products. Do not combine paint systems. Refer to paint manufacturer's recommendations.

  8. Apply an anti-corrosion primer

  9. Object Number: 741773  Size: SH
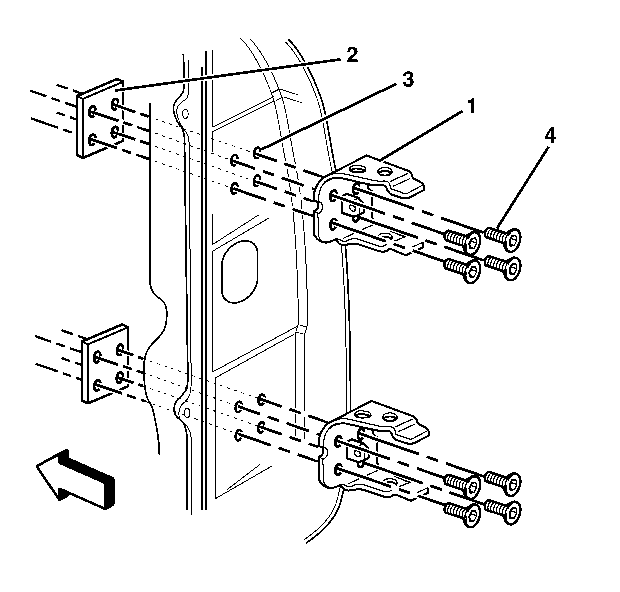
  10. Align the hinge (1) and the backing plate (2) with the holes in the door (3).
  11. Hand tighten the 4 supplied bolts (4).
  12. Notice: Use the correct fastener in the correct location. Replacement fasteners must be the correct part number for that application. Fasteners requiring replacement or fasteners requiring the use of thread locking compound or sealant are identified in the service procedure. Do not use paints, lubricants, or corrosion inhibitors on fasteners or fastener joint surfaces unless specified. These coatings affect fastener torque and joint clamping force and may damage the fastener. Use the correct tightening sequence and specifications when installing fasteners in order to avoid damage to parts and systems.

  13. Align the hinge to the original scribe location.
  14. Tighten
    Tighten the bolts to 25 N·m (18 lb ft).


    Object Number: 741774  Size: SH
  15. Clean and prepare all bare-metal surfaces.
  16. Apply a full-bodied caulk around the service hinge.
  17. Refinish as necessary.
  18. Install and align all of the related panels and components.