GM Service Manual Online
For 1990-2009 cars only

Adhesive Installation of Bodyside Stationary Windows w/Frame

Important: Remove all but 2 mm (3/64 in) of the existing urethane adhesive from the pinch-weld flange.

  1. Remove all mounds or loose pieces of urethane adhesive from pinch-weld flange areas.
  2. Important: If corrosion of the pinch-weld flange is present or if sheet metal repairs or replacement are required, the pinch-weld flange must be refinished in order to restore the bonding area strength. If paint repairs are required, mask the flange bonding area prior to applying the color coat in order to provide a clean primer only surface. Materials such as BASF DE15, Dupont 2610, Sherwin-Williams PSE 4600 and NP70, Martin-Semour 5120 and 5130, PPG DP90LF, Spies/Hecker 3688/8590 3688/5150 4070/5090, and Standox 11158/13320 14653/14980 are products approved for this application.

  3. Clean around the inside surface of the bodyside opening and window frame with a 50/50 mixture of isopropyl alcohol and water by volume on a dampened lint free cloth.
  4. Caution: When replacing stationary windows, use Urethane Adhesive Kit GM P/N 12346392 (Canadian P/N 10952983), or a urethane adhesive system meeting GM Specification GM3651G, to maintain original installation integrity. Failure to use the urethane adhesive kit will result in poor retention of the window which may allow unrestrained occupants to be ejected from the vehicle resulting in personal injury.

  5. Verify all primers and urethane adhesives are within expiration dates.
  6. Caution: Failure to prep the area prior to the application of primer may cause insufficient bonding of urethane adhesive. Insufficient bonding of urethane adhesive may allow unrestrained occupants to be ejected from the vehicle resulting in personal injury.

    Important: Do not apply the black #3 primer to the existing bead of urethane adhesive on the pinch-weld flange. Apply the primer only to nicks, scratches or the primed surfaces.

  7. Shake the black #3 primer for at least 1 minute.
  8. Use a dauber in order to apply the primer to the surface of the pinch-weld flange.
  9. Allow the pinch-weld primer to dry for approximately 10 minutes.
  10. Apply glass prep #1 followed by glass primer #2 on the plastic frame. Allow to dry for 6-10 minutes.

  11. Object Number: 831837  Size: SH
  12. Cut the applicator nozzle in order to provide a bead of 10 mm high (1) and 6 mm wide (2).

  13. Object Number: 161427  Size: SH
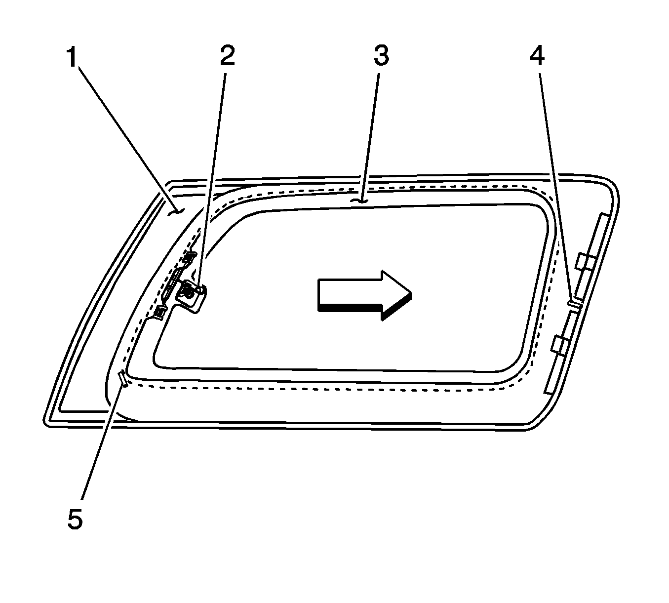
  14. Use the inside edge of the window frame (1) as a guide for the nozzle in order to apply the urethane adhesive bead (2) to the window frame bonding surface.

  15. Object Number: 1231420  Size: SH
  16. If installing a Chevrolet rear bodyside window, apply the urethane as indicated by the dotted line on the window frame.
  17. Ensure the adhesive is applied on the outer side of the rear locater pin (5) only.

  18. Object Number: 1231144  Size: SH
  19. If installing a GMC rear bodyside window, apply the urethane as indicated by the dotted line (2) on the window frame.
  20. Ensure the adhesive is applied on the outer side of the rear locater pin (6) only.

  21. Object Number: 1231227  Size: SH

    Important: Ensure the foam blocks (3) are located on the window frame retention clip (4).

  22. If missing, replace in order to prevent water intrusion into the vehicle.
  23. Place the window assembly into the bodyside opening. Ensure that the window frame alignment pins and retainer clips are properly aligned to the bodyside.

  24. Object Number: 1231417  Size: SH
  25. If installing a Chevrolet bodyside window (2), firmly press only at the 4 exterior points (1, 3, 4, 5) as indicated.

  26. Object Number: 1231093  Size: SH
  27. If installing a GMC bodyside window (2) firmly press only at the 4 exterior points (1, 3, 4, 5) as indicated.
  28. Clean any excess urethane adhesive from the body and interior trim panels. Connect any electrical connectors, if equipped.
  29. Install the antenna mast, if removed.
  30. Important: Do not direct a stream of high pressure water to the freshly applied urethane adhesive.

  31. Use a soft spray of warm water in order to immediately water test the bodyside window.
  32. Inspect the window for leaks.
  33. If any leaks are found, use a plastic paddle in order to apply extra urethane adhesive at the leak point.
  34. Retest the window for leaks.
  35. Caution: Insufficient curing of urethane adhesive may allow unrestrained occupants to be ejected from the vehicle resulting in personal injury.

       • For the moisture-curing type of urethane adhesive, allow a minimum of 6 hours at 21°C (70°F) or greater and with at least 30 percent relative humidity. Allow at least 24 hours for the complete curing of the urethane adhesive.
       • For the chemical-curing type of urethane adhesive, allow a minimum of 1 hour .
    Do NOT physically disturb the repair area until after these minimum times have elapsed.

  36. Maintain the following conditions in order to properly cure the urethane adhesive.
  37. • Partially lower a door window in order to prevent pressure buildups when closing doors before the urethane cures.
    • Do not drive the vehicle until the urethane adhesive is cured. Refer to above curing times.
    • Do not use compressed air in order to dry urethane adhesive.
    • Do not cycle the actuator until after the minimum curing times have elapsed.

Adhesive Installation of Bodyside Stationary Windows w/o Frame

Important: Remove all but 2 mm (3/64 in) of the existing urethane adhesive from the pinch-weld flange.

  1. Remove all mounds or loose pieces of urethane adhesive from pinch-weld flange areas.
  2. Important: If corrosion of the pinch-weld flange is present or if sheet metal repairs or replacement are required, the pinch-weld flange must be refinished in order to restore the bonding area strength. If paint repairs are required, mask the flange bonding area prior to applying the color coat in order to provide a clean primer only surface. Materials such as BASF DE15, Dupont 2610, Sherwin-Williams PSE 4600 and NP70, Martin-Semour 5120 and 5130, PPG DP90LF, Spies/Hecker 3688/8590 3688/5150 4070/5090, and Standox 11158/13320 14653/14980 are products approved for this application.

  3. Clean around the inside surface of the bodyside opening and window with a 50/50 mixture of isopropyl alcohol and water by volume on a dampened lint free cloth.
  4. Caution: When replacing stationary windows, use Urethane Adhesive Kit GM P/N 12346392 (Canadian P/N 10952983), or a urethane adhesive system meeting GM Specification GM3651G, to maintain original installation integrity. Failure to use the urethane adhesive kit will result in poor retention of the window which may allow unrestrained occupants to be ejected from the vehicle resulting in personal injury.

  5. Verify all primers and urethane adhesives are within expiration dates.
  6. Caution: Failure to prep the area prior to the application of primer may cause insufficient bonding of urethane adhesive. Insufficient bonding of urethane adhesive may allow unrestrained occupants to be ejected from the vehicle resulting in personal injury.

    Important: Do not apply the black #3 primer to the existing bead of urethane adhesive on the pinch-weld flange. Apply the primer only to nicks, scratches or the primed surfaces.

  7. Shake the black #3 primer for at least 1 minute.
  8. Use a dauber in order to apply the primer to the surface of the pinch-weld flange.
  9. Allow the pinch-weld primer to dry for approximately 10 minutes.
  10. Apply glass prep #1 followed by glass primer #2. Allow to dry for 6-10 minutes.

  11. Object Number: 831837  Size: SH
  12. Cut the applicator nozzle in order to provide a bead of 10 mm high (1) and 6 mm wide (2).

  13. Object Number: 161427  Size: SH
  14. Use 5 mm (0.20 in) from the inside edge of the window as a guide for the nozzle in order to apply the urethane adhesive bead to the window bonding surface.
  15. Place the window assembly into the bodyside opening. Ensure that the window alignment pins are properly aligned to the bodyside.
  16. Firmly press around the entire periphery of the exterior window in order to ensure proper adhesion to the body.
  17. Clean any excess urethane adhesive from the body and interior trim panels.
  18. Connect any electrical connectors, if equipped.
  19. Important: Do not direct a stream of high pressure water to the freshly applied urethane adhesive.

  20. Use a soft spray of warm water in order to immediately water test the bodyside window.
  21. Inspect the window for leaks.
  22. If any leaks are found, use a plastic paddle in order to apply extra urethane adhesive at the leak point.
  23. Retest the window for leaks.
  24. Caution: Insufficient curing of urethane adhesive may allow unrestrained occupants to be ejected from the vehicle resulting in personal injury.

       • For the moisture-curing type of urethane adhesive, allow a minimum of 6 hours at 21°C (70°F) or greater and with at least 30 percent relative humidity. Allow at least 24 hours for the complete curing of the urethane adhesive.
       • For the chemical-curing type of urethane adhesive, allow a minimum of 1 hour .
    Do NOT physically disturb the repair area until after these minimum times have elapsed.

  25. Maintain the following conditions in order to properly cure the urethane adhesive.
  26. • Partially lower a door window in order to prevent pressure buildups when closing doors before the urethane cures.
    • Do not drive the vehicle until the urethane adhesive is cured. Refer to above curing times.
    • Do not use compressed air in order to dry urethane adhesive.