GM Service Manual Online
For 1990-2009 cars only

Automatic Transmission Controls Schematics 4.2L

Figure 1:

Shift Controls and Stop Lamp Switch


Object Number: 1594076  Size: FS
Master Electrical Component List
Electronic Component Description (PCM)
Control Module References
Pressure Controls, Temperature, and VSS
Engine Controls Schematic Icons
ACCY/RUN, RUN/START, Bus Bars, and IGN B Fuse
BCK/UP, BTSI, IGN E, TBC IGN1, and TRLR BCK/UP Fuses
BCK/UP, BTSI, IGN E, TBC IGN1, and TRLR BCK/UP Fuses
Ignition Switch - ACCY/RUN/START, RUN, and START Bus Bars, IGN A and CRNK Fuses
FRT WPR, IGN 0, RAIN, TBC ACC, TBC IG, and TCM Fuses
FRT WPR, IGN 0, RAIN, TBC ACC, TBC IG, and TCM Fuses
Figure 2:

Pressure Controls, Temperature and VSS


Object Number: 1594079  Size: FS
Master Electrical Component List
Electronic Component Description (PCM)
Control Module References
PNP Switch, 4WD Signal, Serial Data, and Indicator
Shift Controls and Stop Lamp Switch
Engine Controls Schematic Icons
Automatic Transmission Schematic Icons
Automatic Transmission Schematic Icons
Figure 3:

PNP Switch, 4WD Signal, Serial Data, and Indicator


Object Number: 1594080  Size: FS
Master Electrical Component List
Electronic Component Description (PCM)
Control Module References
Pressure Controls, Temperature, and VSS
Engine Controls Schematic Icons
SP205
G108

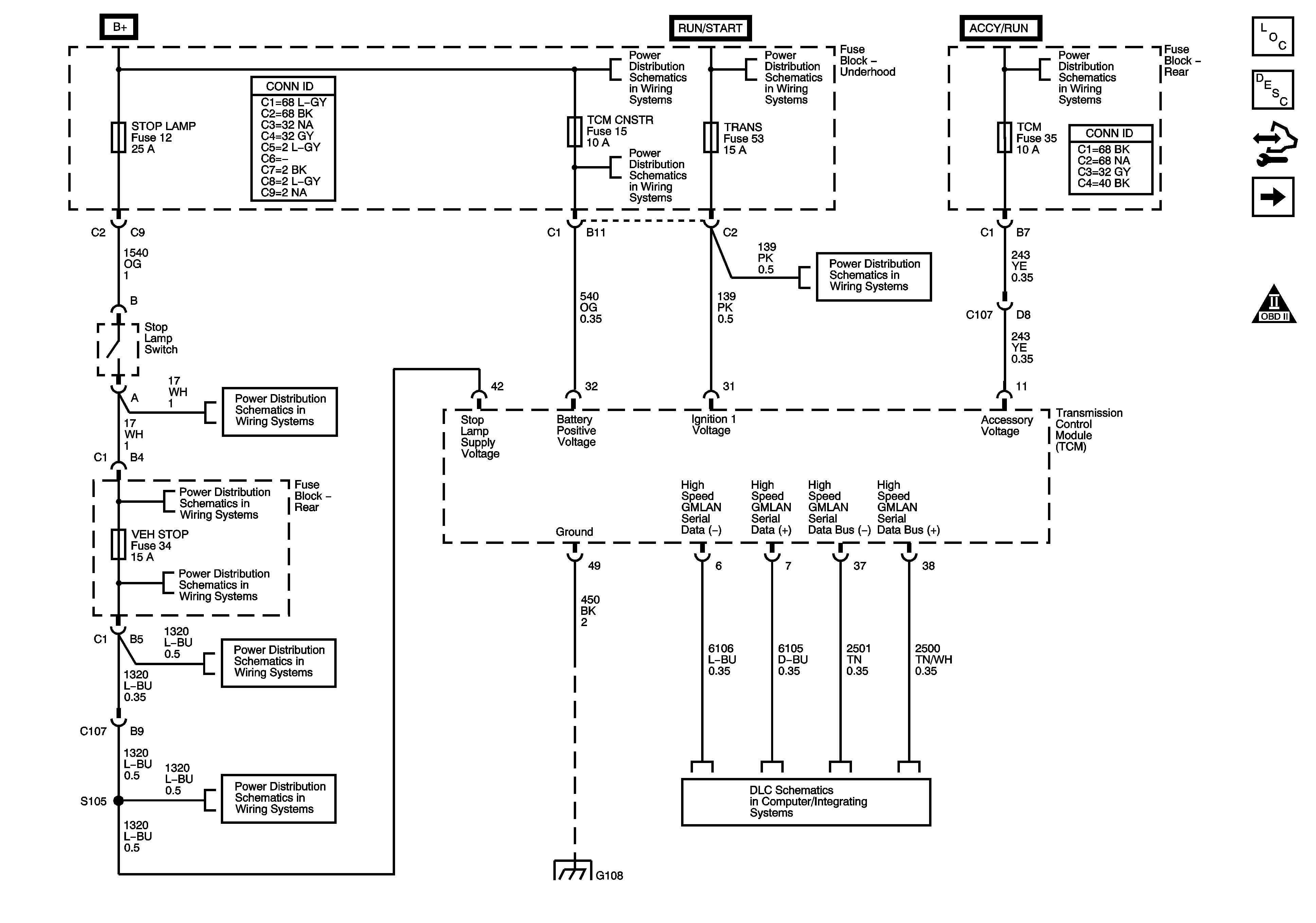
Automatic Transmission Controls Schematics 5.3L/6.0L

Figure 1:

Module Power, Ground, Serial Data and Stop Lamp Switch


Object Number: 1594081  Size: FS
Master Electrical Component List
Electronic Component Description (TCM)
Control Module References
PNP Switch and VSS
Engine Controls Schematic Icons
Underhood Fuse Block
B+ Bus - Rear Fuse Block
ACCY/RUN, RUN/START, Bus Bars, and IGN B Fuse
ACCY/RUN, RUN/START, Bus Bars, and IGN B Fuse
ACCY/RUN, RUN/START, Bus Bars, and IGN B Fuse
ABS, ATC, BLWR, ECAS, ELEC BRK, HAZRD, IPC/DIC, LTR, STOP LAMP, TRLR, VEH CHMSL, VEH STOP, and VSES Fuses
ABS, ATC, BLWR, ECAS, ELEC BRK, HAZRD, IPC/DIC, LTR, STOP LAMP, TRLR, VEH CHMSL, VEH STOP, and VSES Fuses
ABS, ATC, BLWR, ECAS, ELEC BRK, HAZRD, IPC/DIC, LTR, STOP LAMP, TRLR, VEH CHMSL, VEH STOP, and VSES Fuses
ABS, ATC, BLWR, ECAS, ELEC BRK, HAZRD, IPC/DIC, LTR, STOP LAMP, TRLR, VEH CHMSL, VEH STOP, and VSES Fuses
ABS, ATC, BLWR, ECAS, ELEC BRK, HAZRD, IPC/DIC, LTR, STOP LAMP, TRLR, VEH CHMSL, VEH STOP, and VSES Fuses
G108
Power, Ground, Data Link Connector
Figure 2:

PNP Switch and VSS


Object Number: 1594083  Size: FS
Master Electrical Component List
Electronic Component Description (TCM)
Control Module References
Shift Controls
Module Power, Ground, Serial Data and Stop Lamp Switch
Engine Controls Schematic Icons
Automatic Transmission Schematic Icons
Automatic Transmission Schematic Icons
G108
Figure 3:

Shift Controls


Object Number: 1594084  Size: FS
Master Electrical Component List
Electronic Component Description (TCM)
Control Module References
Temperature and Pressure Controls
PNP Switch and VSS
Engine Controls Schematic Icons
ACCY/RUN, RUN/START, Bus Bars, and IGN B Fuse
4WD, AIRBAG, ECMI, HVAC, and TRANS Fuses
Figure 4:

Temperature and Pressure Controls


Object Number: 1594085  Size: FS
Master Electrical Component List
Electronic Component Description (TCM)
Control Module References
Shift Controls
Engine Controls Schematic Icons