| Table 1: | Accessory Power Outlet - Console |
| Table 2: | Accessory Power Outlet - Front |
| Table 3: | Accessory Power Outlet - Rear |
| Table 4: | Cigar Lighter |
| Table 5: | Ignition Switch |
| Table 6: | C201 |
| Table 7: | Splice Pack SP201 |
| |||||||
|---|---|---|---|---|---|---|---|
Connector Part Information |
| ||||||
Pin | Wire Color | Circuit No. | Function | ||||
A | ORN | 1040 | Battery Positive Voltage | ||||
B | -- | -- | Not Used | ||||
C | BLK | 2250 | Ground | ||||
| |||||||
|---|---|---|---|---|---|---|---|
Connector Part Information |
| ||||||
Pin | Wire Color | Circuit No. | Function | ||||
A | ORN | 1040 | Battery Positive Voltage | ||||
B | -- | -- | Not Used | ||||
C | BLK | 2250 | Ground | ||||
| |||||||
|---|---|---|---|---|---|---|---|
Connector Part Information |
| ||||||
Pin | Wire Color | Circuit No. | Function | ||||
A | ORN | 2040 | Battery Positive Voltage | ||||
B | -- | -- | Not Used | ||||
C | BLK | 1650 | Ground | ||||
| |||||||
|---|---|---|---|---|---|---|---|
Connector Part Information |
| ||||||
Pin | Wire Color | Circuit No. | Function | ||||
A | ORN | 640 | Battery Positive Voltage | ||||
B | -- | -- | Not Used | ||||
C | BLK | 2250 | Ground | ||||
| |||||||
|---|---|---|---|---|---|---|---|
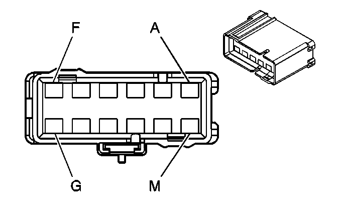
Connector Part Information |
| ||||||
Pin | Wire Color | Circuit No. | Function | ||||
A | BRN | 4 | Accessory Voltage | ||||
B | RED | 342 | Battery Positive Voltage | ||||
C | PNK | 3 | Ignition 1 Voltage | ||||
D | YEL | 5 | Crank Voltage | ||||
E | WHT | 1390 | Acc/Run/Crank Voltage | ||||
F | RED/BLK | 142 | Battery Positive Voltage | ||||
G | ORN | 300 | Ign 3 Voltage | ||||
| |||||||
|---|---|---|---|---|---|---|---|
Connector Part Information |
| ||||||
Pin | Wire Color | Circuit No. | Function | ||||
A1 | -- | -- | Not Used | ||||
A2 | PNK | 639 | Ignition 1 Voltage | ||||
A3 | BRN | 2309 | Front Park Lamps Supply Voltage | ||||
A4 | LT GRN | 1427 | Right Turn Signal Switch Signal | ||||
A5 | DK GRN | 1428 | Left Turn Signal Switch Signal | ||||
A6 | BLK | 58 | Right Cornering Lamp Supply Voltage | ||||
A7 | ORN | 57 | Left Cornering Lamp Supply Voltage | ||||
A8 | -- | -- | Not Used | ||||
A9 | ORN | 1816 | DIC Set/Reset Switch Signal | ||||
A10 | DK GRN/ WHT | 1358 | DIC Switch Signal | ||||
A11 | WHT | 111 | Hazard Switch Signal | ||||
A12 | LT GRN | 1011 | Remote Radio Control Signal | ||||
A13 | DK BLU | 894 | DIC Toggle Switch Signal | ||||
A14 | YEL | 1327 | DIC Fuel Signal | ||||
A15 | BRN/WHT | 230 | Instrument Panel Lamps Dimming Control | ||||
A16 | BLK | 2250 | Ground | ||||
A17 | -- | -- | Not Used | ||||
B1-B2 | -- | -- | Not Used | ||||
B3 | WHT | 2283 | Rear Wiper/Washer Switch Supply Voltage | ||||
B4 | -- | -- | Not Used | ||||
B5 | RED | 142 | Battery Positive Voltage | ||||
B6 | BRN | 4 | Accessory Voltage | ||||
C1 | YEL | 5 | Crank Voltage | ||||
C2 | PPL | 1132 | DLC Class 2 Serial Data | ||||
C2 | RED/WHT | 812 | 12-Volt Reference | ||||
C3 | YEL | 710 | Class 2 Serial Data | ||||
C4 | PNK | 1020 | Off/Run/Crank Voltage | ||||
C4 | BLK | 1835 | Security System Sensor Low Reference | ||||
C5 | WHT | 1390 | Off/Run/Crank Voltage | ||||
C6 | PNK | 3 | Ignition 1 Voltage | ||||
D1 | ORN | 300 | Ignition 3 Voltage | ||||
D2 | RED | 342 | Battery Positive Voltage | ||||
D3 | ORN | 1140 | Battery Positive Voltage | ||||
D3 | YEL | 1836 | Security System Sensor Signal | ||||
D4 | BLK | 28 | Horn Relay Control | ||||
D5-D6 | -- | -- | Not Used | ||||
E1 | -- | -- | Not Used | ||||
E2 | BLK/WHT | 751 | Ground | ||||
E3 | GRY/BLK | 87 | Cruise Control Resume/Accel Switch Signal | ||||
E4 | PNK | 94 | Windshield Washer Switch Signal | ||||
E5 | DK BLU | 477 | Windshield Wiper Switch Signal 1 | ||||
E6 | LT GRN | 80 | Key In Ignition Switch Signal | ||||
E7 | YEL | 1996 | Remote Shift Selector Signal | ||||
E8 | GRY | 478 | Windshield Wiper Switch Signal 2 | ||||
E9 | GRY | 397 | Cruise Control On Switch Signal | ||||
E10 | DK BLU | 84 | Cruise Control Set/Coast Switch Signal | ||||
E11 | YEL | 307 | Headlamp Switch Flash to Pass Signal | ||||
E12 | LT GRN | 11 | Headlamp High Beam Supply Voltage | ||||
E13 | BRN | 341 | Ignition 3 Voltage | ||||
| |||||||
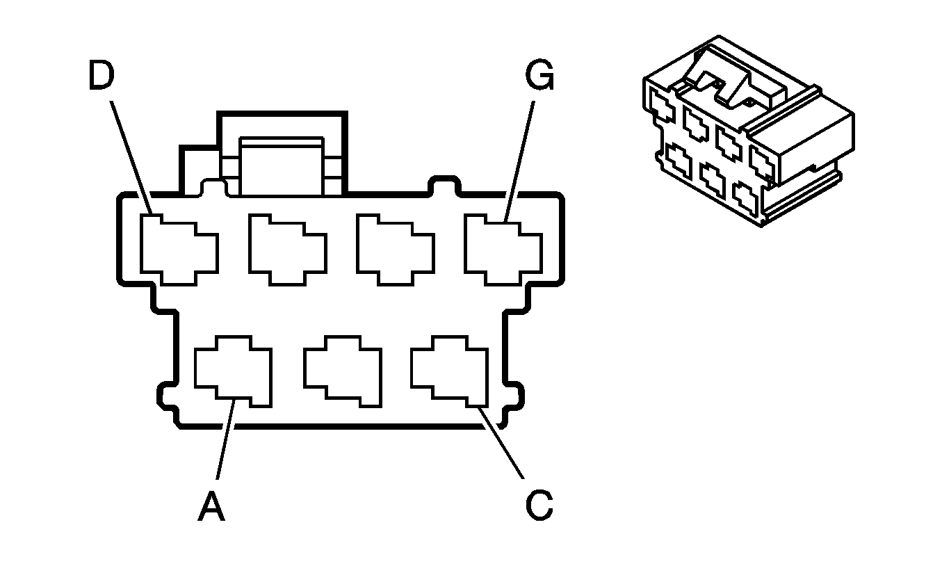
|---|---|---|---|---|---|---|---|
Connector Part Information |
| ||||||
Pin | Wire Color | Circuit No. | Function | ||||
A | BLK | 2250 | Ground | ||||
B | BLK | 2250 | Ground | ||||
C | BLK | 2250 | Ground | ||||
D | -- | -- | Not Used | ||||
E | BLK | 2250 | Ground | ||||
F | BLK | 2250 | Ground | ||||
G | BLK | 2250 | Ground | ||||
H | BLK | 2250 | Ground | ||||
J | BLK | 2250 | Ground | ||||
K | BLK | 2250 | Ground | ||||
L | BLK | 2250 | Ground | ||||
M | BLK | 2250 | Ground | ||||