GM Service Manual Online
For 1990-2009 cars only

Removal Procedure

  1. Remove the 3 seat switch bezel mounting screws. Refer to Driver Seat and Passenger Seat Adjuster Switch Bezel Replacement .

  2. Object Number: 752864  Size: SH
  3. Remove the 4 nuts that secure the seat pan to the power seat adjuster frame.
  4. Remove the clip from the front outboard seat pan stud , if equipped. Discard the clip.

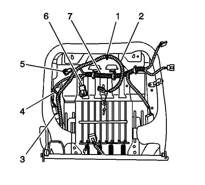
  5. Object Number: 752865  Size: SH
  6. Disconnect the black electrical connector (6) from the seat back harness.
  7. Disconnect the black electrical connector (3) from the seat belt buckle.
  8. Disconnect the gray lumbar electrical connector (5), if equipped.
  9. Remove the SIR harness (2) from the harness clips (1, 4), and remove the SIR harness from the seat.
  10. Remove the seat harness from the seat pan.
  11. Remove the seat memory module, if equipped. Refer to Memory Seat Control Module Replacement .
  12. Remove the seat cushion assembly.
  13. Remove the seat cushion cover and pad from the seat frame. Refer to Front Seat Cushion Cover and Pad Replacement .
  14. Remove the wiring harness and connector clips, if you are replacing the frame.

Installation Procedure

  1. Install the wiring harness and connector clips, if you replaced the frame.
  2. Install the seat memory module, if equipped. Refer to Memory Seat Control Module Replacement .

  3. Object Number: 752864  Size: SH
  4. Install the seat cushion cover and pad to the seat frame. Refer to Front Seat Cushion Cover and Pad Replacement .
  5. Notice: Use the correct fastener in the correct location. Replacement fasteners must be the correct part number for that application. Fasteners requiring replacement or fasteners requiring the use of thread locking compound or sealant are identified in the service procedure. Do not use paints, lubricants, or corrosion inhibitors on fasteners or fastener joint surfaces unless specified. These coatings affect fastener torque and joint clamping force and may damage the fastener. Use the correct tightening sequence and specifications when installing fasteners in order to avoid damage to parts and systems.

  6. Install the 4 nuts that secure the seat pan to the power seat adjuster frame.
  7. Tighten
    Tighten the seat pan mounting nuts to 25 N·m (18 lb ft).


    Object Number: 752865  Size: SH
  8. Install the seat harness to the seat pan.
  9. Install the SIR harness (2) to the seat clips (1, 4).
  10. Connect the gray lumbar electrical connector (5), if equipped.
  11. Connect the black electrical connector (3) to the seat belt buckle.
  12. Connect the black electrical connector (6) to the seat back harness.
  13. Install the 3 seat switch bezel mounting screws. Refer to Driver Seat and Passenger Seat Adjuster Switch Bezel Replacement .