GM Service Manual Online
For 1990-2009 cars only

Removal Procedure

  1. Remove the seat assembly from the vehicle. Refer to Front Seat Replacement - Bucket .
  2. Remove the seat trim panel. Refer to Seat Cushion Outer Trim Panel Replacement .
  3. Remove the front seat back. Refer to Front Seat Back Replacement .
  4. Remove the seat back cover and pad. Refer to Front Seat Back Cushion Cover and Cushion Pad Replacement .
  5. Remove the front seat back panel. Refer to Driver Seat and Passenger Seat Back Cushion Finish Panel Replacement .
  6. Remove the lumbar assembly. Refer to Front Seat Lumbar Support Replacement .
  7. Remove the seat belt and retractor assembly. Refer to Front Seat Belt Replacement .

  8. Object Number: 753528  Size: SH
  9. Remove 2 screws (1) securing the inflatable side impact module to the seat back frame.

  10. Object Number: 753530  Size: SH
  11. Remove the 2 push pins (1) securing the side impact module tub to the seat back frame.

  12. Object Number: 753527  Size: SH
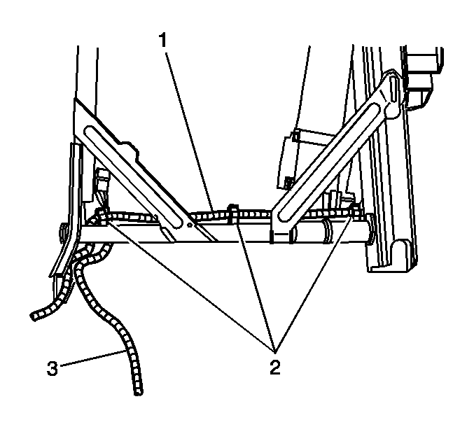
  13. Remove the SIR wiring harness (1) from the seat back frame.
  14. Remove the lumbar wiring harness (3) from the seat back frame.
  15. Remove the wiring harness clips (2) from the seat back frame.

Installation Procedure


    Object Number: 753527  Size: SH
  1. Install the wiring harness clips (2) to the seat back frame.
  2. Install the lumbar wiring harness (3) to the seat back frame.
  3. Install the SIR wiring harness (1) to the seat back frame.

  4. Object Number: 753530  Size: SH
  5. Install the side impact module tub to the seat back frame with 2 push pins (1).

  6. Object Number: 753528  Size: SH

    Notice: Use the correct fastener in the correct location. Replacement fasteners must be the correct part number for that application. Fasteners requiring replacement or fasteners requiring the use of thread locking compound or sealant are identified in the service procedure. Do not use paints, lubricants, or corrosion inhibitors on fasteners or fastener joint surfaces unless specified. These coatings affect fastener torque and joint clamping force and may damage the fastener. Use the correct tightening sequence and specifications when installing fasteners in order to avoid damage to parts and systems.

  7. Install the inflatable side impact module to the seat back frame with 2 screws (1).
  8. Tighten
    Tighten the side impact module screws to 9 N·m (80 lb in).

  9. Install the seat belt and retractor assembly. Refer to Front Seat Belt Replacement .
  10. Install the lumbar assembly. Refer to Front Seat Lumbar Support Replacement .
  11. Install the front seat back panel. Refer to Driver Seat and Passenger Seat Back Cushion Finish Panel Replacement .
  12. Install the seat back cover and pad. Refer to Front Seat Back Cushion Cover and Cushion Pad Replacement .
  13. Install the front seat back. Refer to Front Seat Back Replacement .
  14. Install the seat trim panel. Refer to Seat Cushion Outer Trim Panel Replacement .
  15. Install the seat assembly to the vehicle. Refer to Front Seat Replacement - Bucket .