GM Service Manual Online
For 1990-2009 cars only

Removal Procedure


    Object Number: 743188  Size: SH
  1. Remove all related panels and components.
  2. Restore as much of the damage as possible to the factory specifications.
  3. Note the location and remove the following materials, as necessary:
  4. • The sealers
    • The sound deadeners
    • The anti-corrosion materials

    Object Number: 743190  Size: SH

    Important: Do not damage any of the inner panels or the reinforcements.

  5. Locate, and drill out all of the factory welds. Note the number and location of the welds for the installation of the service part.

  6. Object Number: 743193  Size: SH
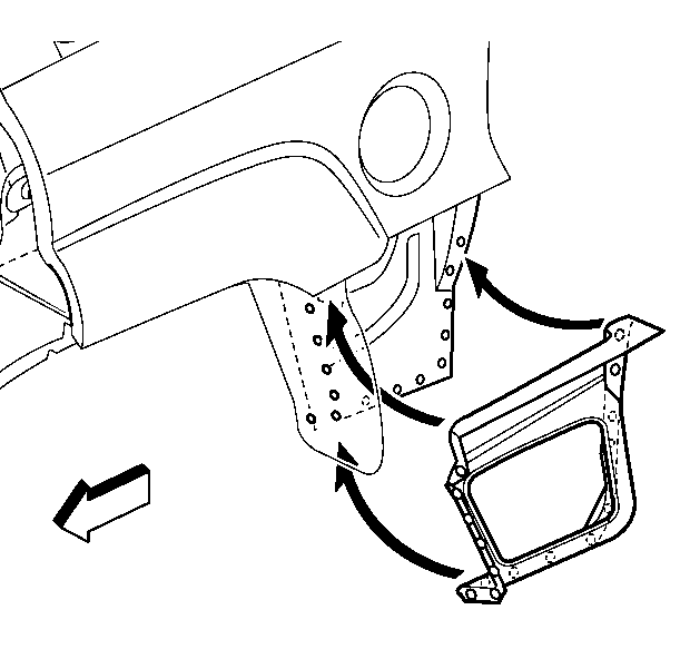
  7. Remove the damaged quarter filler.

Installation Procedure


    Object Number: 743195  Size: SH

    Important: In any area with excess damage, space the plug weld holes every 40 mm (1.6 in) apart.

  1. Drill 8 mm (0.3 in) plug weld holes in the service part as necessary in the locations noted from the original panel.

  2. Object Number: 754753  Size: SH
  3. Prepare all of the attachment surfaces as necessary.
  4. Apply the weld-thru primer to all of the bare metal surfaces.
  5. Position the quarter lower filler.

  6. Object Number: 743198  Size: SH
  7. Plug weld accordingly.

  8. Object Number: 743199  Size: SH
  9. Clean and prepare all of the welded surfaces.
  10. Important: Prior to refinishing, refer to publication GM 4901M-2001 GM Approved Refinish Materials for the recommended products. Do not combine the paint systems. Refer to the paint manufacturer's recommendations.

  11. Apply the following products, as necessary:
  12. • The sound deadening materials
    • An approved anti-corrosion primer
    • The sealers and refinish as necessary
  13. Install all of the related panels and components.