GM Service Manual Online
For 1990-2009 cars only
Makes
🢒
Isuzu
🢒
2006
🢒
I-350
🢒
Accessories
🢒
Keyless Entry
🢒 Keyless Entry Schematics
Master Electrical Component List
Keyless Entry System Description and Operation
Body Control Module (BCM) Programming/RPO Configuration
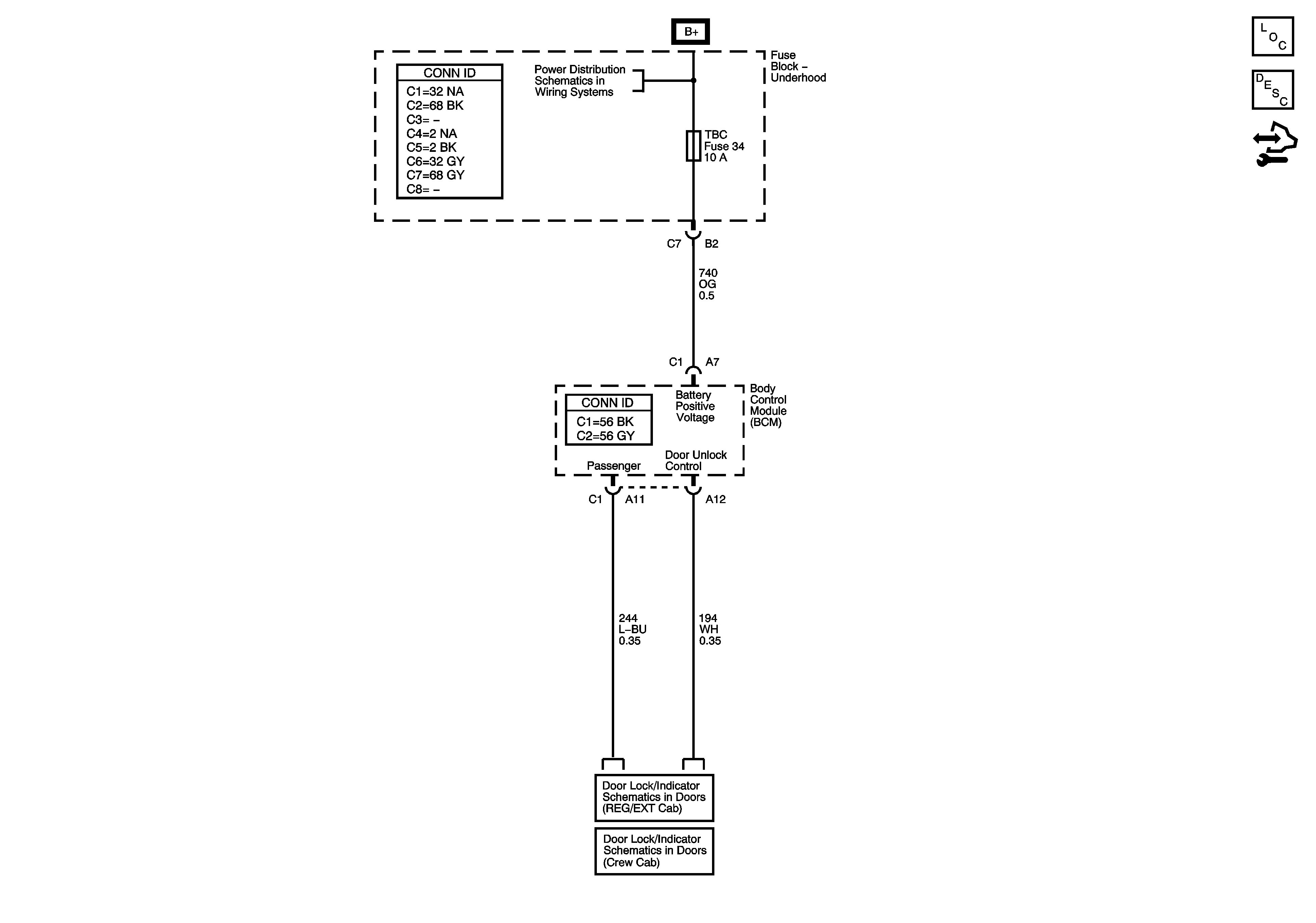
B+ Bus - Underhood Fuse Block
Power Door Locks, Regular and Extended Cab
Crew Cab