GM Service Manual Online
For 1990-2009 cars only

Removal Procedure

  1. Remove the HVAC module assembly. Refer to HVAC Module Assembly Replacement .
  2. Remove the screws to separate the HVAC module assembly halves.
  3. Remove the evaporator temperature sensor control module screw.
  4. Reposition the evaporator temperature sensor control module.

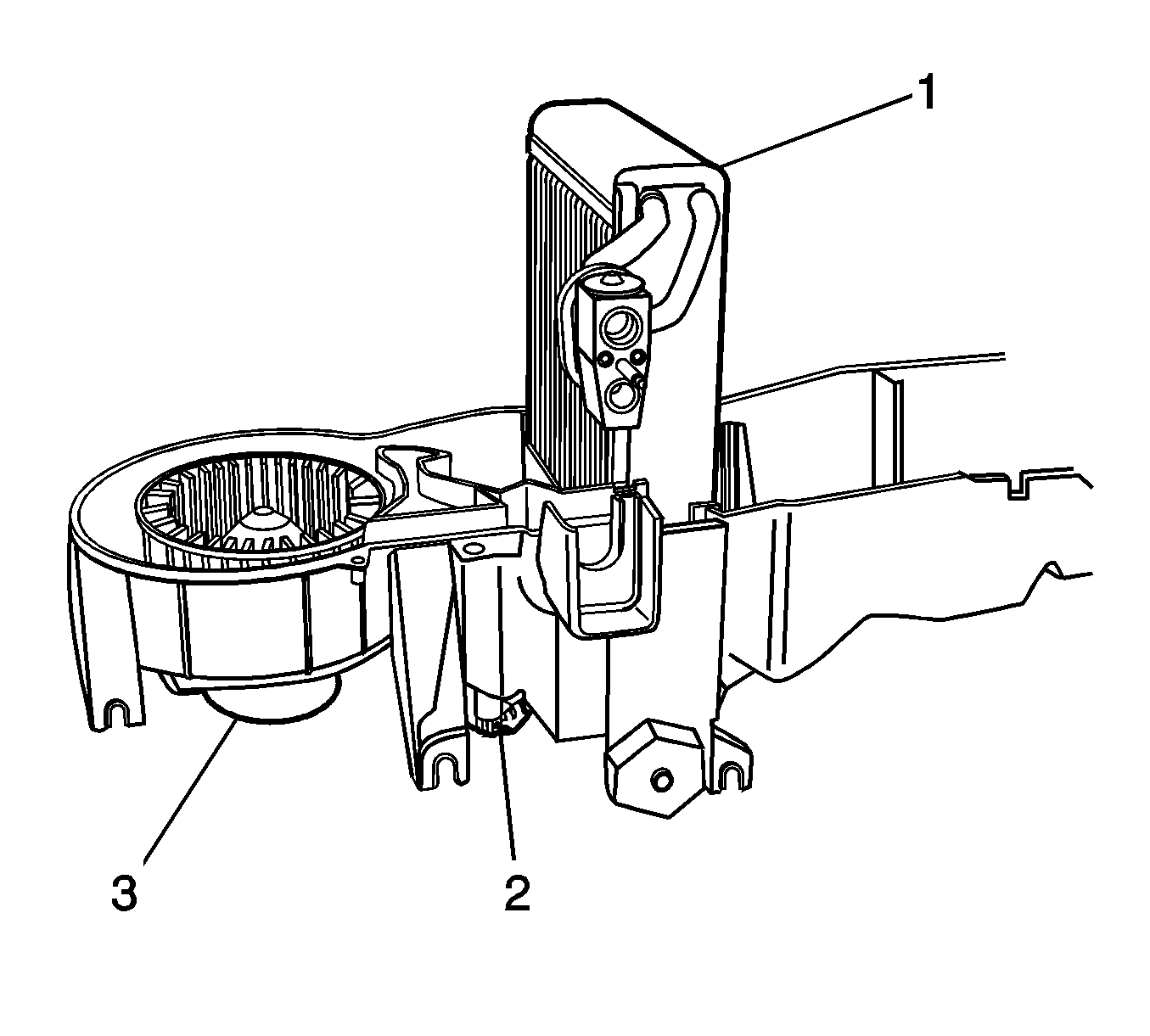
  5. Object Number: 888407  Size: SH
  6. Separate the HVAC module assembly (1, 4).
  7. Remove the evaporator temperature sensor from the evaporator.

  8. Object Number: 888401  Size: SH
  9. Remove the evaporator core (1) from the HVAC module assembly.

Installation Procedure

    Important: If replacing the evaporator core, add the refrigerant oil to the evaporator core. Refer to Refrigerant System Capacities for system capacity information.

  1. Install the seal between the HVAC module assembly halves.

  2. Object Number: 888401  Size: SH
  3. Install the evaporator core (1) to the HVAC module assembly.
  4. Install the evaporator temperature sensor to the evaporator core.

  5. Object Number: 888407  Size: SH
  6. Assemble the HVAC module assembly.
  7. Notice: Refer to Fastener Notice in the Preface section.

  8. Install the screws to join the HVAC module assembly halves.
  9. Tighten
    Tighten the screws to 1.9 N·m (17 lb in).

  10. Install the evaporator temperature sensor control module screw.
  11. Tighten
    Tighten the to 1.9 N·m (17 lb in).

  12. Install the HVAC module assembly. Refer to HVAC Module Assembly Replacement .